TOP
|
特許
|
意匠
|
商標
特許ウォッチ
Twitter
他の特許を見る
10個以上の画像は省略されています。
公開番号
2025179232
公報種別
公開特許公報(A)
公開日
2025-12-09
出願番号
2025156786,2021174903
出願日
2025-09-22,2021-10-26
発明の名称
ブース家具
出願人
コクヨ株式会社
代理人
個人
主分類
E04H
1/12 20060101AFI20251202BHJP(建築物)
要約
【課題】周囲への音漏れを抑制することを可能にした新たなブース家具を提供する。
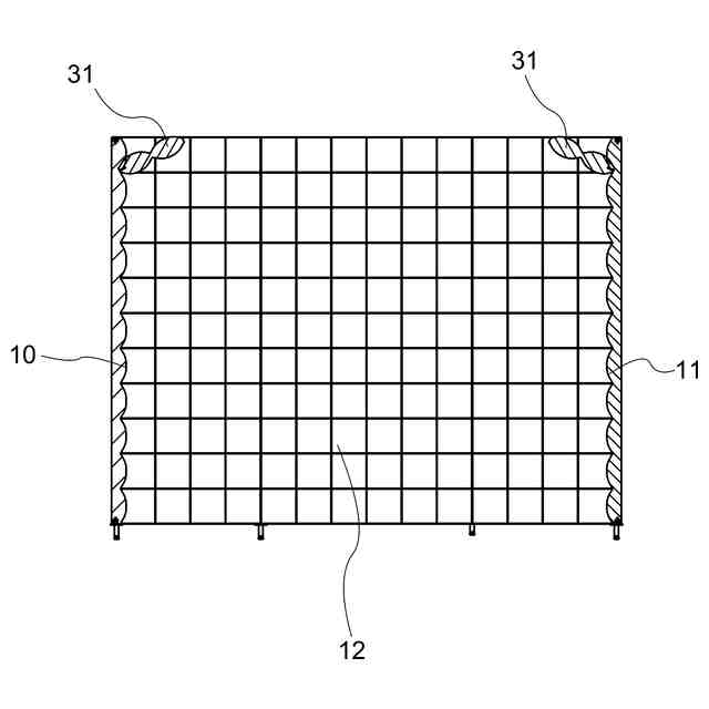
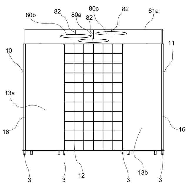
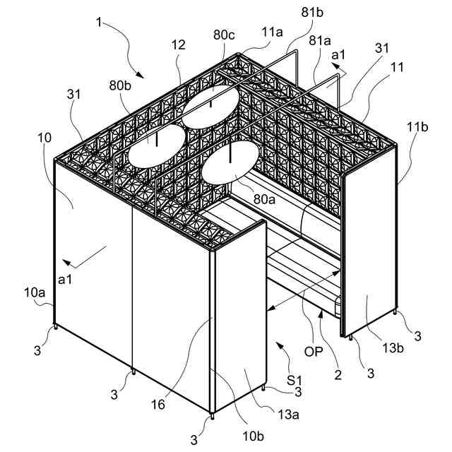
【解決手段】本発明のブース家具1は、コ字型ブースの対向する側面パネル10、11の上方に互いに対向してハ字状に一対の上面パネル31を取り付けたときに、一対の上面パネル31間の空間の上方に吸音パネル80が配置される。
【選択図】図1
特許請求の範囲
【請求項1】
コ字型ブースの対向するパネル材の上方に互いに対向してハ字状に一対の上面パネルを取り付けたときに、前記一対の上面パネル間の空間の上方に吸音パネルが配置されるブース家具。
続きを表示(約 730 文字)
【請求項2】
コ字型ブースの中に配置されたテーブル天板の上方に吸音パネルが配置されるブース家具。
【請求項3】
コ字型ブースで囲まれた領域の上方に吸音パネルが配置されるブース家具。
【請求項4】
複数のコ字型ブースが接続または隣接配置され、それらの上方の範囲にまたがるように吸音パネルが配置される請求項3に記載のブース家具。
【請求項5】
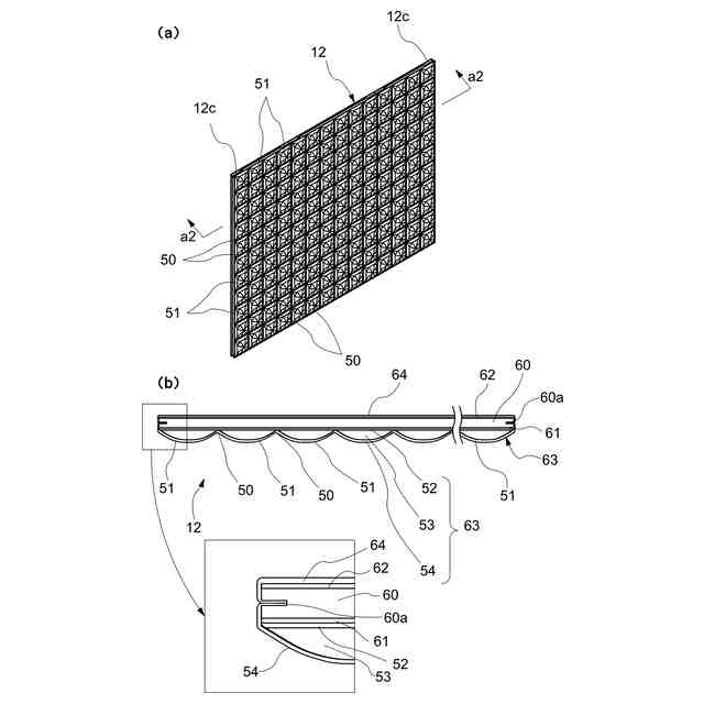
前記コ字型ブースは、張り材で覆われた吸音材の表面に、略平行に延びる2組の溝で囲われて凸条をなすブロック部を形成し縦横に複数配置した構造を有するパネル材が複数コ字状に連結されて、少なくとも1面側が解放された内部空間を形成する、請求項1~4の何れかに記載のブース家具。
【請求項6】
前記吸音パネルは、上方から吊下げられることによりコ字型ブースで囲まれた領域の上方に配置される、請求項1~5の何れかに記載のブース家具。
【請求項7】
前記吸音パネルの下面は、張り材で覆われた吸音材の表面に、略平行に延びる2組の溝で囲われて凸条をなすブロック部を形成し縦横に複数配置した構造を有する、請求項1~6の何れかに記載のブース家具。
【請求項8】
前記吸音パネルは、水平位置を異ならせて複数配置される、請求項1~7の何れかに記載のブース家具。
【請求項9】
前記吸音パネルは、高さ位置を異ならせて複数配置される、請求項1~8の何れかに記載のブース家具。
【請求項10】
前記吸音パネルは、略平行に複数配置される、請求項1~9の何れかに記載のブース家具。
(【請求項11】以降は省略されています)
発明の詳細な説明
【技術分野】
【0001】
本発明は、オフィスや公共施設等において、個人用の執務や作業に適した使い方を可能とする、ブース家具に関するものである。
続きを表示(約 1,200 文字)
【背景技術】
【0002】
オフィスや公共施設等において、個人用の執務や作業を行うための空間を形成するものとして、左右側面板と、これらの側面板の一端部間を接続する背面板とを含んで構成されるブースが知られている(例えば特許文献1参照)。ブースの内部には、左右側面板及び背面板に沿って天板が配置され、天板に向かって着座した利用者が、周囲を気にせずに執務や作業に集中できるような空間が形成されている。
【先行技術文献】
【特許文献】
【0003】
特許第4804939号公報
【発明の概要】
【発明が解決しようとする課題】
【0004】
近年、ブース内においてパソコンを使用してオンラインミーティングが行われることが多い。その場合、ブース内に着座した利用者は、天板上においたパソコンの画面を見ながら種々の発言を行う。特許文献1のブースでは、左右側面板及び背面板が単なる板状部材で構成されているため、利用者が発言した内容などが周囲へ音漏れするという問題がある。なお、そのような問題は、比較的大きいブース内において複数の利用者が会議を行う場合にも発生する。
【0005】
本発明は、これらの課題に着目してなされたものであって、周囲への音漏れを抑制することを可能にした新たなブース家具を実現することを目的としている。
【課題を解決するための手段】
【0006】
本発明は、かかる目的を達成するために、次のような手段を講じたものである。
【0007】
すなわち、本発明のブース家具は、コ字型ブースの対向するパネル材の上方に互いに対向してハ字状に一対の上面パネルを取り付けたときに、前記一対の上面パネル間の空間の上方に吸音パネルが配置される。
【0008】
このようにすると、吸音パネルがブース内空間の上方に配置されるため、ブース内空間で発生した音が吸音パネルに吸収されやすい。これにより、ブース内空間において例えば利用者が発言した内容などが、ブース内空間の上方から周囲へ音漏れするのが抑制されるため、上方の吸音効果が高いブース家具が得られる。
【0009】
本発明のブース家具は、コ字型ブースの中に配置されたテーブル天板の上方に吸音パネルが配置される。
【0010】
このようにすると、吸音パネルがブース内空間に配置されたテーブルの天板の上方に配置されるため、ブース内空間で発生した音が天板で反射しても吸音パネルに吸収されやすい。これにより、ブース内空間において例えば利用者が発言した内容などが、ブース内空間の上方から周囲へ音漏れするのが抑制されるため、上方の吸音効果が高いブース家具が得られる。
(【0011】以降は省略されています)
この特許をJ-PlatPat(特許庁公式サイト)で参照する
関連特許
個人
接合構造
2か月前
個人
屋台
2か月前
個人
タッチミー
2か月前
個人
安心補助てすり
1か月前
個人
筋交自動設定装置
2か月前
個人
ベンリナアングル
2か月前
個人
免震建築構造
6日前
株式会社シンケン
住宅
1か月前
個人
防災建築物
1か月前
個人
住宅の省エネ方法
2日前
株式会社フジタ
合成床
6日前
個人
身体用シェルター
2か月前
個人
身体用シェルター
2か月前
個人
可搬型供養墓
2か月前
三洋工業株式会社
床構造
1か月前
株式会社大林組
接合構造
1か月前
株式会社熊谷組
吊り治具
2か月前
三協立山株式会社
構造体
2か月前
三協立山株式会社
構造体
2か月前
三協立山株式会社
構造体
2か月前
三協立山株式会社
構造体
29日前
三協立山株式会社
構造体
2か月前
三協立山株式会社
構造体
2か月前
株式会社熊谷組
木質材料
2か月前
三協立山株式会社
構造体
2か月前
株式会社熊谷組
床構成材
2か月前
三協立山株式会社
構造体
1か月前
三協立山株式会社
構造体
1か月前
鹿島建設株式会社
補強構造
6日前
アイジー工業株式会社
スターター
2か月前
ミサワホーム株式会社
住宅
1か月前
ミサワホーム株式会社
玄関
1か月前
鹿島建設株式会社
接合構造
1か月前
ミサワホーム株式会社
建物
2か月前
岡部株式会社
柱梁接合構造
21日前
株式会社エフコンサルタント
面材
2か月前
続きを見る
他の特許を見る