TOP
|
特許
|
意匠
|
商標
特許ウォッチ
Twitter
他の特許を見る
10個以上の画像は省略されています。
公開番号
2025177002
公報種別
公開特許公報(A)
公開日
2025-12-05
出願番号
2024083460
出願日
2024-05-22
発明の名称
補強構造
出願人
鹿島建設株式会社
代理人
個人
主分類
E04C
3/16 20060101AFI20251128BHJP(建築物)
要約
【課題】木質梁の亀裂を効率良く防止できる補強構造等を提供する。
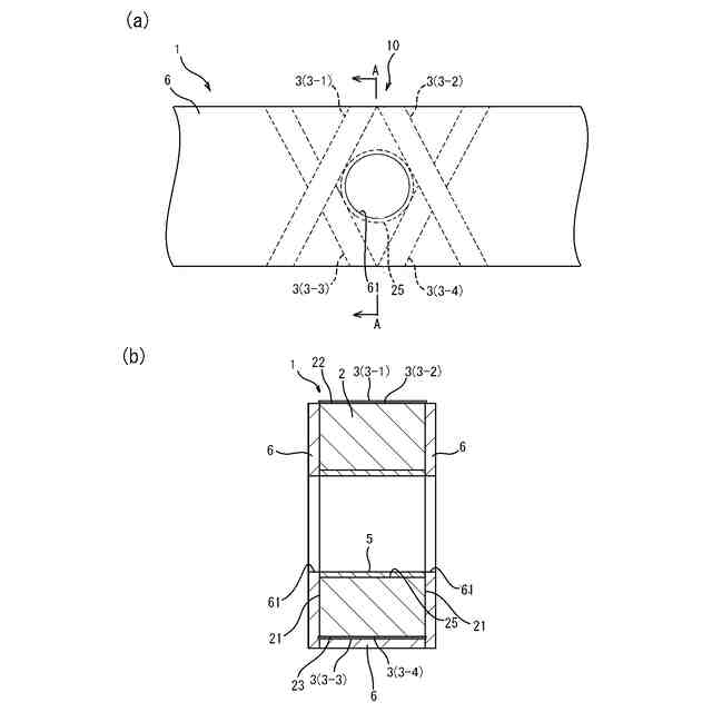
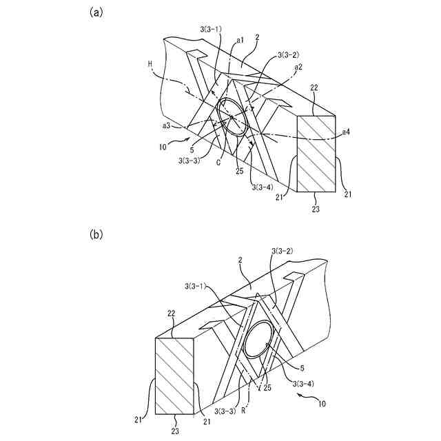
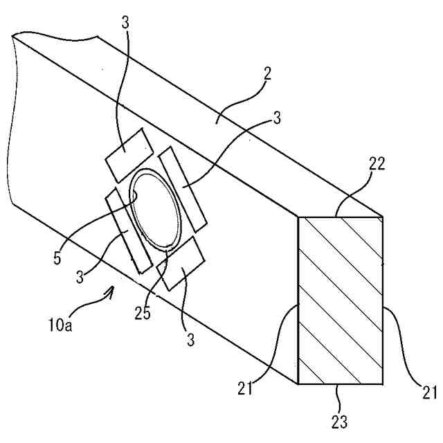
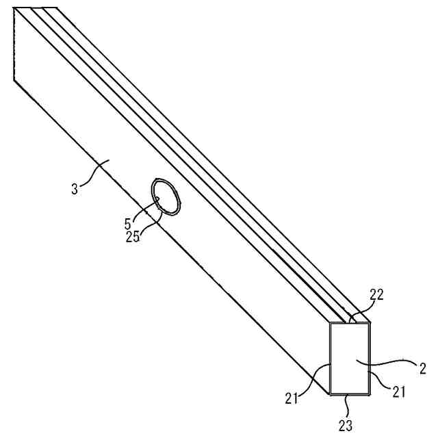
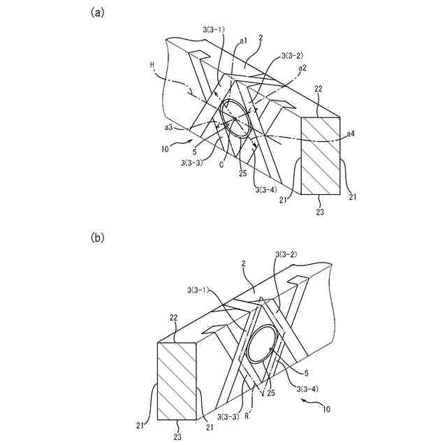
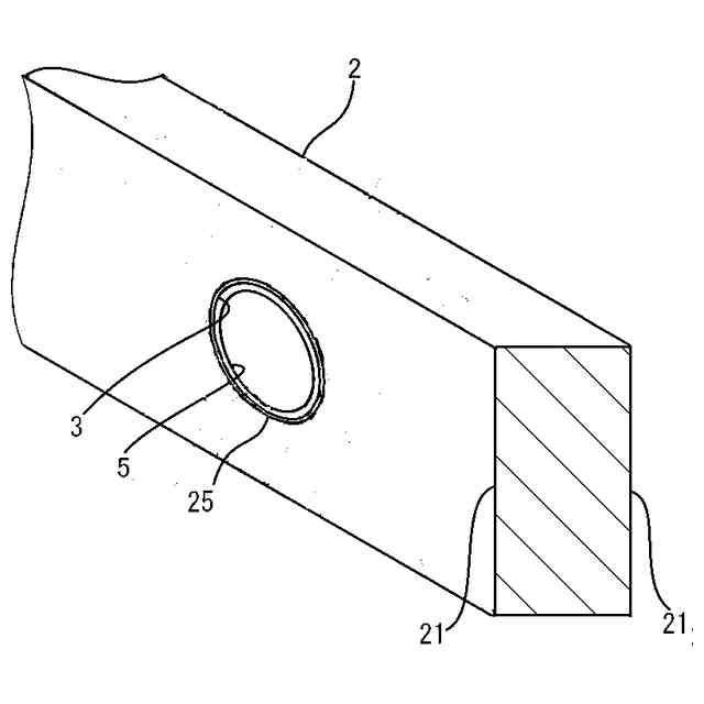
【解決手段】補強構造10は、梁本体2を梁幅方向に貫通する貫通孔25を有する木質梁を補強するものである。補強構造10では、梁本体2の梁軸方向の側面21において、貫通孔25の周囲に帯状の繊維補強シート3が設けられ、繊維補強シート3は、上記側面21において、貫通孔25の中心Cから梁軸方向Hに対して45°傾斜した4方向a1~a4の位置を横断するように配置され、且つ、上記側面21において、貫通孔25の上下左右に頂点を有する四角形Rの辺に沿う方向に沿って配置される。
【選択図】図2
特許請求の範囲
【請求項1】
梁本体を梁幅方向に貫通する貫通孔を有する木質梁の補強構造であって、
前記梁本体の梁軸方向の側面において、前記貫通孔の周囲に帯状の繊維補強シートが設けられ、
前記繊維補強シートは、
前記側面において、前記貫通孔の中心から梁軸方向に対して45°傾斜した4方向の位置を横断するように配置され、
且つ、前記側面において、前記貫通孔の上下左右に頂点を有する四角形の辺に沿う方向に沿って配置されたことを特徴とする補強構造。
続きを表示(約 490 文字)
【請求項2】
前記繊維補強シートは、前記梁本体の梁軸方向の両側面の間で連続するように設けられることを特徴とする請求項1記載の補強構造。
【請求項3】
2本の前記繊維補強シートが、前記梁本体の頂面で交差し、前記梁本体の両側面において、前記貫通孔の上部を囲むように上下反転V字状に設けられるとともに、
別の2本の前記繊維補強シートが、前記梁本体の底面で交差し、前記梁本体の両側面において、前記貫通孔の下部を囲むようにV字状に設けられることを特徴とする請求項2記載の補強構造。
【請求項4】
前記梁本体の梁軸方向と直交する断面の隅部が面取りされ、前記繊維補強シートが、面取りされた隅部を横断するように配置されることを特徴とする請求項2記載の補強構造。
【請求項5】
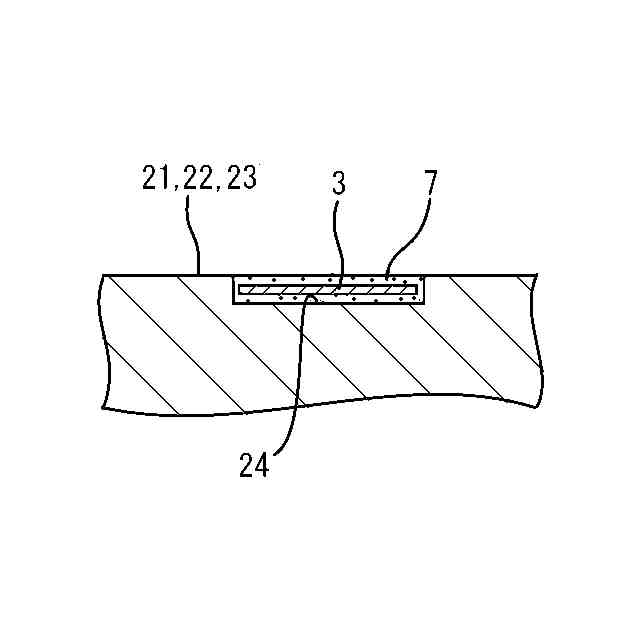
前記繊維補強シートは、前記梁本体に設けた溝内に配置されることを特徴とする請求項1記載の補強構造。
【請求項6】
前記繊維補強シートは、前記側面において、前記貫通孔の外周と接するように配置されることを特徴とする請求項1記載の補強構造。
発明の詳細な説明
【技術分野】
【0001】
本発明は、木質梁の補強構造に関する。
続きを表示(約 1,300 文字)
【背景技術】
【0002】
近年、木質材を建物の梁として使用する事例が増加しつつある。このような木質梁に貫通孔をあけて設備配管等を通すことは、天井裏空間の有効活用につながり、階高を低減できるメリットがある。
【0003】
ただし、木質梁に貫通孔をあけると耐力の低下が予測される。そのため、特許文献1では、貫通孔を有する木質梁の補強構造として、木質梁の側面において貫通孔の梁軸方向の両側に繊維補強シートを設け、これにより木質梁の耐力の低下を抑制することが開示されている。
【先行技術文献】
【特許文献】
【0004】
特許第6482224号
【発明の概要】
【発明が解決しようとする課題】
【0005】
図11は貫通孔101を有する木質梁100の概略を示す図である。鉛直荷重等に対して木質梁100の貫通孔101周辺に生じる応力は、木質梁100の梁軸方向の側面において、貫通孔101の中心Cから梁軸方向Hに対しておよそ45°傾斜した方向aの位置で大きくなり、当該位置を起点に木質梁100に梁軸方向の亀裂(割裂)102が生じる可能性が高いことが知られている(「円形孔を有する集成材梁の耐力に関する研究」岡本他、日本建築学会構造系論文集、第85巻、第775号、1199-1208、2020年9月)。
【0006】
この点、特許文献1の前記した補強構造は、貫通孔の梁軸方向の両側に梁せい方向の繊維補強シートを設けるものであり、上記のような亀裂の防止策としては、必ずしも効率の良いものではなかった。
【0007】
本発明は上記の課題に鑑みてなされたものであり、木質梁の亀裂を効率良く防止できる補強構造等を提供することを目的とする。
【課題を解決するための手段】
【0008】
上記の課題を解決するための本発明は、梁本体を梁幅方向に貫通する貫通孔を有する木質梁の補強構造であって、前記梁本体の梁軸方向の側面において、前記貫通孔の周囲に帯状の繊維補強シートが設けられ、前記繊維補強シートは、前記側面において、前記貫通孔の中心から梁軸方向に対して45°傾斜した4方向の位置を横断するように配置され、且つ、前記側面において、前記貫通孔の上下左右に頂点を有する四角形の辺に沿う方向に沿って配置されたことを特徴とする補強構造である。
【0009】
本発明では、木質梁の梁本体の側面において、帯状の繊維補強シートを、貫通孔の上下左右に頂点を有する四角形の辺に沿う方向に設け、且つ、これらの繊維補強シートを、貫通孔の中心から梁軸方向に対して45°傾斜した方向の位置を横断するように配置する。これにより、前記した亀裂に対する補強を貫通孔の近傍で比較的小面積の繊維補強シートによって行うことができ、亀裂の発生や進行を効率良く防止できる。
【0010】
前記繊維補強シートは、前記梁本体の梁軸方向の両側面の間で連続するように設けられることが望ましい。
これにより、梁本体の両側面の補強を簡易に行うことができる。
(【0011】以降は省略されています)
この特許をJ-PlatPat(特許庁公式サイト)で参照する
関連特許
鹿島建設株式会社
補強構造
3日前
鹿島建設株式会社
接続方法
19日前
鹿島建設株式会社
制震架構
1か月前
鹿島建設株式会社
解体方法
1か月前
鹿島建設株式会社
構築方法
1か月前
鹿島建設株式会社
接合構造
1か月前
鹿島建設株式会社
塔状構造物
18日前
鹿島建設株式会社
過重力施設
1か月前
鹿島建設株式会社
床版架設方法
1か月前
鹿島建設株式会社
空調システム
2か月前
鹿島建設株式会社
シールド掘進機
2か月前
鹿島建設株式会社
柱建て込み方法
2か月前
鹿島建設株式会社
壁高欄の施工方法
11日前
鹿島建設株式会社
微生物培養システム
5日前
鹿島建設株式会社
基礎構造および構築方法
10日前
鹿島建設株式会社
運搬台車および運搬方法
2か月前
鹿島建設株式会社
接続方法および接続構造
1か月前
鹿島建設株式会社
橋、および橋の製造方法
1か月前
鹿島建設株式会社
ワイヤレス給電システム
2か月前
鹿島建設株式会社
作業サイクル分析システム
1か月前
鹿島建設株式会社
コンクリートの充填監視方法
10日前
鹿島建設株式会社
コンクリート構造物構築方法
1か月前
鹿島建設株式会社
壁体の構築方法およびタンク
1か月前
鹿島建設株式会社
鋼管柱の接合方法、及び鋼管柱
1か月前
鹿島建設株式会社
品質評価装置および品質評価方法
1か月前
鹿島建設株式会社
水硬性硬化体の炭酸化養生システム
1か月前
鹿島建設株式会社
盛土評価システムおよび盛土評価方法
1か月前
鹿島建設株式会社
生態系環境改善部材及び生態系環境改善構造
1か月前
鹿島建設株式会社
作業計画支援方法及び作業計画支援プログラム
10日前
鹿島建設株式会社
二酸化炭素の回収方法、二酸化炭素回収システム
1か月前
鹿島道路株式会社
コンクリート舗装の養生方法
2か月前
鹿島道路株式会社
コンクリート舗装の養生方法
2か月前
鹿島道路株式会社
アスファルト混合物の製造方法
1か月前
鹿島建設株式会社
環境音モニタ装置、環境音モニタ方法及びプログラム
1か月前
ゼネラルヒートポンプ工業株式会社
ヒートポンプシステム
1か月前
ケイミューシポレックス株式会社
軽量気泡コンクリートの製造方法
2か月前
続きを見る
他の特許を見る