TOP
|
特許
|
意匠
|
商標
特許ウォッチ
Twitter
他の特許を見る
10個以上の画像は省略されています。
公開番号
2025161264
公報種別
公開特許公報(A)
公開日
2025-10-24
出願番号
2024064304
出願日
2024-04-11
発明の名称
ヒートポンプシステム
出願人
ゼネラルヒートポンプ工業株式会社
,
鹿島建設株式会社
代理人
個人
主分類
F25B
27/00 20060101AFI20251017BHJP(冷凍または冷却;加熱と冷凍との組み合わせシステム;ヒートポンプシステム;氷の製造または貯蔵;気体の液化または固体化)
要約
【課題】設置コストを低減するヒートポンプシステムを提供する。
【解決手段】ヒートポンプシステム1Aは、太陽熱集熱器211とユニット11Aを備えている。ユニット11Aは、空気熱交換器111、第一熱交換器112、ヒートポンプ部35、及び制御盤70を内部に備える。制御盤70のCPUは、太陽熱集熱器211、空気熱交換器111、第一熱交換器112、及びヒートポンプ部35のON及びOFFを切り替えて、第二熱媒体392を加熱又は冷却する。制御盤70のCPUは、太陽熱集熱器211と空気熱交換器111とをONにし、第一熱交換器112とヒートポンプ部35とをOFFにして、太陽熱集熱器211において加熱された第一熱媒体391を空気熱交換器111に供給し、空気熱交換器111において、第一熱媒体391の熱を放熱する。
【選択図】図12
特許請求の範囲
【請求項1】
第一熱媒体を熱源として、第二熱媒体を加熱又は冷却するヒートポンプシステムにおいて、
太陽からの日射による熱によって前記第一熱媒体を加熱する太陽熱集熱器と、
空気と前記第一熱媒体との間で熱交換し、前記第一熱媒体を加熱又は冷却する空気熱交換器と、
前記第一熱媒体と前記第二熱媒体との間で熱交換し、前記第二熱媒体を加熱又は冷却する第一熱交換器と、
ヒートポンプ方式により前記第一熱媒体と前記第二熱媒体との間で熱交換し、前記第二熱媒体を加熱又は冷却するヒートポンプ部と、
前記太陽熱集熱器、前記空気熱交換器、前記第一熱交換器、及び前記ヒートポンプ部のON及びOFFを切り替えて、前記第二熱媒体を加熱又は冷却する制御部を有する制御盤と、
前記空気熱交換器、前記第一熱交換器、前記ヒートポンプ部、及び前記制御盤を内部に備えるユニットと
を備え、
前記制御部は、
前記太陽熱集熱器と前記空気熱交換器とをONにし、前記第一熱交換器と前記ヒートポンプ部とをOFFにして、前記太陽熱集熱器において加熱された前記第一熱媒体を前記空気熱交換器に供給し、前記空気熱交換器において、前記第一熱媒体の熱を放熱することを特徴とするヒートポンプシステム。
続きを表示(約 1,900 文字)
【請求項2】
前記ユニットの外側に設けられ、前記第二熱媒体が循環するループ流路と、
前記ループ流路から分岐する第一分岐流路と、
前記第一分岐流路に接続され、地中熱と前記第二熱媒体との間で熱交換し、前記第二熱媒体を加熱又は冷却する地中熱交換器と、
前記地中熱交換器に接続され、前記ループ流路に合流する第一合流流路と、
前記第一分岐流路又は前記第一合流流路に設けられ、前記ループ流路から前記地中熱交換器に前記第二熱媒体を流す地中熱用ポンプと
を備えたことを特徴とする請求項1に記載のヒートポンプシステム。
【請求項3】
前記ユニットの外側に設けられ、前記第二熱媒体の温度を使用して、ヒートポンプ方式によって空調を行う第一空調用ヒートポンプと、
前記ユニットの外側に設けられ、前記第二熱媒体の温度を使用して、ヒートポンプ方式によって空調を行う第二空調用ヒートポンプと、
前記ユニットの外側に設けられ、前記第二熱媒体の温度を使用して、ヒートポンプ方式によって給湯を行う給湯用ヒートポンプと、
前記ループ流路から分岐し、前記第一空調用ヒートポンプ、前記第二空調用ヒートポンプ、及び前記給湯用ヒートポンプを並列に接続する第二分岐流路と、
前記第一空調用ヒートポンプ、前記第二空調用ヒートポンプ、及び前記給湯用ヒートポンプに接続され、前記ループ流路に合流する第二合流流路と
を備えたことを特徴とする請求項2に記載のヒートポンプシステム。
【請求項4】
前記第一熱交換器又は前記ヒートポンプ部から前記ループ流路に向かう前記第二熱媒体の第一流量を検出する第一流量検出手段と、
前記第一空調用ヒートポンプを流れる前記第二熱媒体の第二流量を検出する第二流量検出手段と、
前記第二空調用ヒートポンプを流れる前記第二熱媒体の第三流量を検出する第三流量検出手段と、
前記給湯用ヒートポンプを流れる前記第二熱媒体の第四流量を検出する第四流量検出手段と、
前記第一流量、前記第二流量、前記第三流量、及び前記第四流量に基づいて、前記地中熱用ポンプが流す前記第二熱媒体の流量を制御するポンプ制御手段と
を備え、
前記第一流量検出手段によって検出された前記第一流量をVM1とし、
前記第二流量検出手段によって検出された前記第二流量をVM2とし、
前記第三流量検出手段によって検出された前記第三流量をVM3とし、
前記第四流量検出手段によって検出された前記第四流量をVM4とした場合に、
前記ポンプ制御手段は、
|±VM1±VM2±VM3-VM4|
となるように、前記地中熱交換器に流れる前記第二熱媒体の流量を制御し、
|±VM1±VM2±VM3-VM4|における符号は、
前記第一熱交換器と前記ヒートポンプ部との少なくとも一方が加熱の場合は「+VM1」であり、
前記第一熱交換器と前記ヒートポンプ部との少なくとも一方が冷却の場合は「-VM1」であり、
前記第一空調用ヒートポンプが冷房の場合は「+VM2」であり、
前記第一空調用ヒートポンプが暖房の場合は「-VM2」であり、
前記第二空調用ヒートポンプが冷房の場合は「+VM3」であり、
前記第二空調用ヒートポンプが暖房の場合は「-VM3」であり、
前記給湯用ヒートポンプが動作するときは、常に「-VM4」
であることを特徴とする請求項3に記載のヒートポンプシステム。
【請求項5】
前記空気熱交換器と前記太陽熱集熱器とを繋ぐ流路である第一流路と、
前記太陽熱集熱器と前記ヒートポンプ部とを繋ぐ流路である第二流路と、
第三流路と第四流路とが分岐する分岐部と、
前記ヒートポンプ部と前記分岐部とを繋ぐ流路である第五流路と
前記第一流路の一部、前記第二流路、前記第三流路、前記第四流路、及び前記第五流路に、前記第一熱媒体を流す第一ポンプと
を備え、
前記第三流路は、前記第一流路に接続され、
前記第四流路は、前記第二流路に接続され、
前記第三流路には、前記第一熱媒体が流れる場合の流量が定量となる定量弁が設けられ、
前記第四流路には、前記第一熱媒体が流れる場合の流量を変更可能な比例弁が設けられ、
前記比例弁を制御し、前記第四流路に前記第一熱媒体を流す流量を制御する流量制御手段と
を備えたことを特徴とする請求項1から4のいずれかに記載のヒートポンプシステム。
発明の詳細な説明
【技術分野】
【0001】
本発明は、熱交換を行うヒートポンプシステムに関する。
続きを表示(約 2,800 文字)
【背景技術】
【0002】
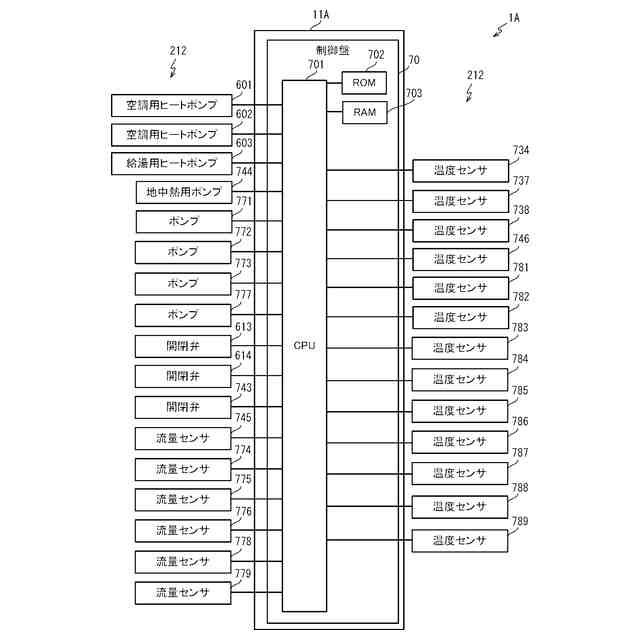
従来、熱交換を行うヒートポンプシステムが知られている。例えば、特許文献1に記載のヒートポンプシステムは、空気熱交換器、第一熱交換器、ヒートポンプ部、及び制御盤等を、収納部の内部に収納したユニットを備えている。また、ヒートポンプシステムは、太陽熱集熱器を備えている。ヒートポンプシステムは、太陽熱集熱器及び空気熱交換器を使用し、第一熱媒体を加熱又は冷却する。ヒートポンプシステムは、第一熱交換器及びヒートポンプ部において、第一熱媒体の熱を利用して、第二熱媒体を冷却又は加熱する。ヒートポンプシステムは、第二熱媒体の熱を利用して、負荷側の設備において空調及び給湯等を行う。
【先行技術文献】
【特許文献】
【0003】
特開2022-034164号公報
【発明の概要】
【発明が解決しようとする課題】
【0004】
例えば、夏季など、太陽の日射量が大きい時期において、太陽熱集熱器によって第一熱媒体が加熱されて第一熱媒体の温度が大きくなりすぎた場合、第一熱媒体から放熱した方がよい場合も考えられる。しかしながら、前記従来のヒートポンプシステムは、第一熱交換器及びヒートポンプ部が使用しない状態で、第一熱媒体の放熱をすることができなかった。このため、第一熱媒体の放熱を行う場合には、太陽熱集熱器、空気熱交換器、第一熱交換器、及びヒートポンプ部以外の構成を追加する必要があり、ヒートポンプシステムのコストが大きくなる場合があった。
【0005】
本発明の目的は、設置コストを低減するヒートポンプシステムを提供することである。
【課題を解決するための手段】
【0006】
本発明に係るヒートポンプシステムは、第一熱媒体を熱源として、第二熱媒体を加熱又は冷却するヒートポンプシステムにおいて、太陽からの日射による熱によって前記第一熱媒体を加熱する太陽熱集熱器と、空気と前記第一熱媒体との間で熱交換し、前記第一熱媒体を加熱又は冷却する空気熱交換器と、前記第一熱媒体と前記第二熱媒体との間で熱交換し、前記第二熱媒体を加熱又は冷却する第一熱交換器と、ヒートポンプ方式により前記第一熱媒体と前記第二熱媒体との間で熱交換し、前記第二熱媒体を加熱又は冷却するヒートポンプ部と、前記太陽熱集熱器、前記空気熱交換器、前記第一熱交換器、及び前記ヒートポンプ部のON及びOFFを切り替えて、前記第二熱媒体を加熱又は冷却する制御部を有する制御盤と、前記空気熱交換器、前記第一熱交換器、前記ヒートポンプ部、及び前記制御盤を内部に備えるユニットとを備え、前記制御部は、前記太陽熱集熱器と前記空気熱交換器とをONにし、前記第一熱交換器と前記ヒートポンプ部とをOFFにして、前記太陽熱集熱器において加熱された前記第一熱媒体を前記空気熱交換器に供給し、前記空気熱交換器において、前記第一熱媒体の熱を放熱する。
【0007】
この場合、太陽熱集熱器において加熱された第一熱媒体が、空気熱交換器に送られ、第一熱媒体の熱が放熱される。このため、第一熱媒体の放熱を行う場合に、太陽熱集熱器、空気熱交換器、第一熱交換器、及びヒートポンプ部以外の構成を追加する必要がなく、ヒートポンプシステムの設置コストを低減することができる。
【0008】
前記ヒートポンプシステムは、前記ユニットの外側に設けられ、前記第二熱媒体が循環するループ流路と、前記ループ流路から分岐する第一分岐流路と、前記第一分岐流路に接続され、地中熱と前記第二熱媒体との間で熱交換し、前記第二熱媒体を加熱又は冷却する地中熱交換器と、前記地中熱交換器に接続され、前記ループ流路に合流する第一合流流路と、前記第一分岐流路又は前記第一合流流路に設けられ、前記ループ流路から前記地中熱交換器に前記第二熱媒体を流す地中熱用ポンプとを備えてもよい。この場合、ループ流路を流れる第二熱媒体の一部が、第一分岐流路を介して、地中熱交換器に流れる。そして、地中熱交換器において加熱又は冷却された第二熱媒体は、第一合流流路を介して、ループ流路を流れる第二熱媒体と合流する。これによって、ループ流路を流れる第二熱媒体が加熱又は冷却される。ループ流路を流れる第二熱媒体が加熱又は冷却されるので、地中熱交換器が設けられていない場合に比べて、ヒートポンプ部の消費電力が小さくなる。このため、ヒートポンプシステムの消費電力が小さくなる。
【0009】
前記ヒートポンプシステムは、前記ユニットの外側に設けられ、前記第二熱媒体の温度を使用して、ヒートポンプ方式によって空調を行う第一空調用ヒートポンプと、前記ユニットの外側に設けられ、前記第二熱媒体の温度を使用して、ヒートポンプ方式によって空調を行う第二空調用ヒートポンプと、前記ユニットの外側に設けられ、前記第二熱媒体の温度を使用して、ヒートポンプ方式によって給湯を行う給湯用ヒートポンプと、前記ループ流路から分岐し、前記第一空調用ヒートポンプ、前記第二空調用ヒートポンプ、及び前記給湯用ヒートポンプを並列に接続する第二分岐流路と、前記第一空調用ヒートポンプ、前記第二空調用ヒートポンプ、及び前記給湯用ヒートポンプに接続され、前記ループ流路に合流する第二合流流路とを備えてもよい。
【0010】
この場合、ループ流路を流れる第二熱媒体の一部が、第一空調用ヒートポンプ、第二空調用ヒートポンプ、及び給湯用ヒートポンプに供給され、空調及び給湯が行われる。また、第二熱媒体の温度を使用する複数の機器である第一空調用ヒートポンプ、第二空調用ヒートポンプ、及び給湯用ヒートポンプを、ループ流路に接続することができる。また、第一空調用ヒートポンプ、第二空調用ヒートポンプ、及び給湯用ヒートポンプに流れた第二熱媒体が、ループ流路に合流する。例えば、第一空調用ヒートポンプ及び第二空調用ヒートポンプが冷房で使用された場合、第二熱媒体の温度が上がる。一方、給湯用ヒートポンプにおいては、第二熱媒体の温度が下がる。このため、第一空調用ヒートポンプ及び第二空調用ヒートポンプにおいて温度が上がった第二熱媒体と、給湯用ヒートポンプにおいて温度が下がった第二熱媒体とが、ループ流路で合流する。これによって、第一空調用ヒートポンプ及び第二空調用ヒートポンプにおいて温度が上がった第二熱媒体の温度が下がり、給湯用ヒートポンプにおいて温度が下がった第二熱媒体の温度が上がる。すなわち、熱回収が行われる。このため、ループ流路が設けられていない場合に比べて、ヒートポンプ部の負荷が小さくなり、消費電力を低減することができる。
(【0011】以降は省略されています)
この特許をJ-PlatPat(特許庁公式サイト)で参照する
関連特許
株式会社不二工機
膨張弁
26日前
株式会社不二工機
膨張弁
26日前
ホシザキ株式会社
冷凍装置
1か月前
フクシマガリレイ株式会社
断熱扉
27日前
富士電機株式会社
自動販売機
25日前
フクシマガリレイ株式会社
冷却貯蔵庫
20日前
フクシマガリレイ株式会社
冷却貯蔵庫
1か月前
ダイキン工業株式会社
冷凍装置
1か月前
株式会社ゼロカラ
冷凍装置
5日前
株式会社ゼロカラ
冷凍装置
5日前
フクシマガリレイ株式会社
ショーケース
1か月前
ダイキン工業株式会社
冷媒充填方法
1か月前
フクシマガリレイ株式会社
商品販売システム
1か月前
アクア株式会社
冷却ボックス装置
10日前
アクア株式会社
冷却ボックス装置
10日前
株式会社富士通ゼネラル
冷凍サイクル装置
1か月前
株式会社富士通ゼネラル
冷凍サイクル装置
1か月前
株式会社富士通ゼネラル
冷凍サイクル装置
1か月前
株式会社前川製作所
冷却装置
1か月前
東芝ライフスタイル株式会社
冷却装置
1か月前
東芝ライフスタイル株式会社
冷却装置
1か月前
日本碍子株式会社
空調システム
1か月前
パナソニックIPマネジメント株式会社
冷蔵庫
10日前
パナソニックIPマネジメント株式会社
冷蔵庫
10日前
ダイキン工業株式会社
冷凍装置
1か月前
三菱電機株式会社
冷蔵庫
20日前
ダイキン工業株式会社
固体冷凍装置
1か月前
東芝ライフスタイル株式会社
冷蔵庫
19日前
三菱重工サーマルシステムズ株式会社
蒸発器
1か月前
JFEエンジニアリング株式会社
二酸化炭素固化システム
10日前
東芝ライフスタイル株式会社
冷蔵庫
20日前
SWCC株式会社
超電導ケーブルの冷却システム
1か月前
東芝ライフスタイル株式会社
冷蔵庫
24日前
東プレ株式会社
冷凍装置及び冷凍装置の運転方法
1か月前
大陽日酸株式会社
低温ガス発生装置
1か月前
ダイキン工業株式会社
冷凍装置
18日前
続きを見る
他の特許を見る