TOP
|
特許
|
意匠
|
商標
特許ウォッチ
Twitter
他の特許を見る
公開番号
2025154620
公報種別
公開特許公報(A)
公開日
2025-10-10
出願番号
2024057727
出願日
2024-03-29
発明の名称
冷凍装置
出願人
ダイキン工業株式会社
代理人
個人
,
個人
主分類
F25B
41/40 20210101AFI20251002BHJP(冷凍または冷却;加熱と冷凍との組み合わせシステム;ヒートポンプシステム;氷の製造または貯蔵;気体の液化または固体化)
要約
【課題】冷媒回路に生じた微小な隙間を容易に補修できる技術を提供する。
【解決手段】冷凍装置1は、冷媒回路10を有する。冷媒回路10には、強燃性冷媒、臭気成分、冷媒漏洩防止剤100が封入されている。冷媒漏洩防止剤100は、冷媒回路10に生じた直径または水力直径が30μm以下の隙間を補修する。これにより、冷凍装置1は、冷媒回路10に封入された冷媒漏洩防止剤100によって、冷媒回路10に生じた微小な隙間を容易に補修できる。
【選択図】図4
特許請求の範囲
【請求項1】
冷媒回路(10)を有する冷凍装置(1)であって、
前記冷媒回路(10)には、強燃性冷媒、臭気成分、冷媒漏洩防止剤(100)が封入されており、
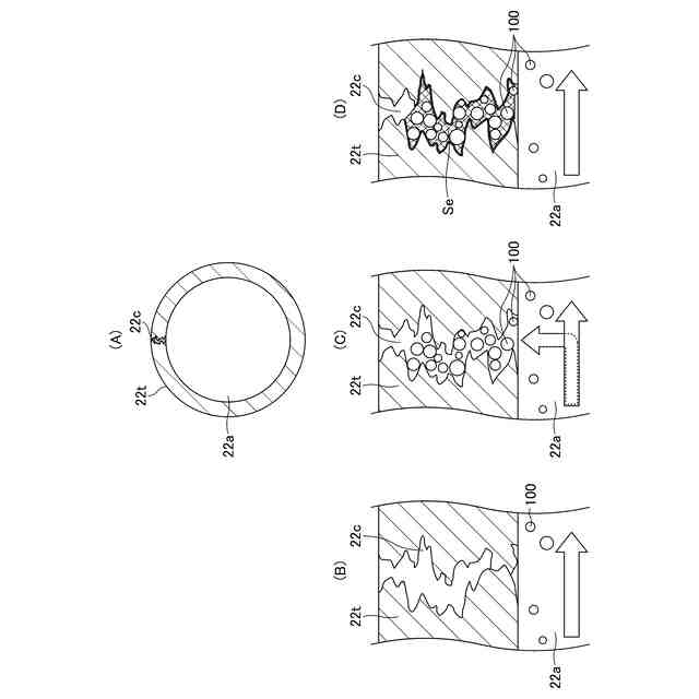
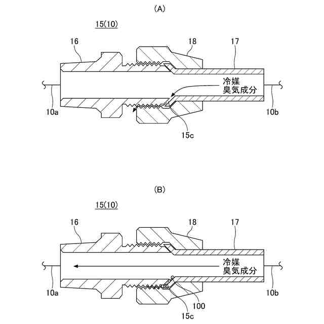
前記冷媒漏洩防止剤(100)は、前記冷媒回路(10)に生じた直径または水力直径が30μm以下の隙間(15c、22c)を補修する、
冷凍装置。
続きを表示(約 850 文字)
【請求項2】
前記冷媒回路(10)は、熱交換器(22)を備え、
前記隙間(22c)は、前記熱交換器(22)の伝熱管(22t)に生じた孔である、
請求項1に記載の冷凍装置。
【請求項3】
前記冷媒回路(10)は、少なくとも2つの配管(10a、10b)と、少なくとも前記2つの配管(10a、10b)を接続したフレア接続部(15)と、を有し、
前記隙間(15c)は、前記フレア接続部(15)に形成される、
請求項1に記載の冷凍装置。
【請求項4】
前記冷媒漏洩防止剤(100)は、前記隙間(15c、22c)に凝集して前記隙間(15c、22c)に埋まる有機の微粒子または無機の微粒子である、
請求項1乃至3のいずれか1項に記載の冷凍装置。
【請求項5】
前記有機の微粒子または無機の微粒子は、フッ素含有樹脂またはシリコン含有樹脂を含む、
請求項4に記載の冷凍装置。
【請求項6】
前記冷媒漏洩防止剤(100)は、水分と反応してシーラントを形成する化合物である、
請求項1乃至3のいずれか1項に記載の冷凍装置。
【請求項7】
前記冷媒漏洩防止剤(100)は、重合反応を起こしシーラントを形成する高分子モノマーを含む化合物である、
請求項1乃至3のいずれか1項に記載の冷凍装置。
【請求項8】
前記強燃性冷媒は、炭化水素系を主成分とする冷媒である、
請求項1乃至3のいずれか1項に記載の冷凍装置。
【請求項9】
前記臭気成分は、硫黄を含む化合物である、
請求項1乃至3のいずれか1項に記載の冷凍装置。
【請求項10】
前記臭気成分は、テトラヒドロチオフェン、ジメチルスルフィド、エチルメチルスルフィドのいずれか、またはこれらの1つ以上を成分として含む、
請求項9に記載の冷凍装置。
発明の詳細な説明
【技術分野】
【0001】
本開示は、冷凍装置に関する。
続きを表示(約 1,100 文字)
【背景技術】
【0002】
従来、地球温暖化係数であるGWP(Global Warming Potential)値が低い冷媒として強燃性冷媒を冷媒回路に封入した冷凍装置が知られている。この種の冷凍装置は、冷媒回路からの冷媒の漏出を早期に認識して、冷媒の燃焼を回避することが重要となる。
【0003】
特許文献1には、冷媒の他に、硫黄系着臭剤である臭気成分を冷媒回路に封入した冷凍サイクル装置が開示されている。冷媒回路からの冷媒の漏出に伴って臭気成分も一緒に漏出することで、周囲の人間が異常を認識して必要な対処を図ることが可能となる。
【先行技術文献】
【特許文献】
【0004】
特許第7162786号公報
【発明の概要】
【発明が解決しようとする課題】
【0005】
ところで、冷媒回路を構成する配管等は、経年劣化によって微小な隙間が発生することがある。このような微小な隙間に対しては、臭気成分が漏れることで周囲の人間に異常を認識させるよりも、隙間を自動的に修復するように構成することが望ましい。
【0006】
本開示は、冷媒回路に生じた微小な隙間を容易に補修できる技術を提供する。
【課題を解決するための手段】
【0007】
本開示の一態様は、冷媒回路を有する冷凍装置であって、前記冷媒回路には、強燃性冷媒、臭気成分、冷媒漏洩防止剤が封入されており、前記冷媒漏洩防止剤は、前記冷媒回路に生じた直径または水力直径が30μm以下の隙間を補修する。
【0008】
上記によれば、冷凍装置は、冷媒漏洩防止剤によって、冷媒回路に生じた微小な隙間を容易に補修できる。すなわち、冷凍装置は、冷媒回路の30μm以下の隙間については冷媒漏洩防止剤によって自動的に埋めて臭気成分の漏れを防止する。その一方で、冷凍装置は、30μmを上回る隙間によって冷媒が多量に漏れる場合には、臭気成分によって冷媒の漏れを周囲の人間に感知させることができる。言い換えれば、冷凍装置は、臭気成分と冷媒漏洩防止剤を組み合わせることで、冷媒回路の補修と、周囲の人間への報知とを選択的に行うことが可能となる。
【0009】
また、前記冷媒回路は、熱交換器を備え、前記隙間は、前記熱交換器の伝熱管に生じた孔である。
【0010】
これにより、冷凍装置は、伝熱管に生じた隙間を冷媒漏洩防止剤によって容易に閉塞することができる。
(【0011】以降は省略されています)
この特許をJ-PlatPat(特許庁公式サイト)で参照する
関連特許
株式会社不二工機
膨張弁
11日前
株式会社不二工機
膨張弁
11日前
ホシザキ株式会社
冷凍装置
16日前
フクシマガリレイ株式会社
断熱扉
12日前
富士電機株式会社
自動販売機
10日前
フクシマガリレイ株式会社
冷却貯蔵庫
5日前
フクシマガリレイ株式会社
冷却貯蔵庫
16日前
ダイキン工業株式会社
冷凍装置
23日前
フクシマガリレイ株式会社
ショーケース
25日前
ダイキン工業株式会社
冷媒充填方法
23日前
アクア株式会社
冷蔵庫
1か月前
フクシマガリレイ株式会社
商品販売システム
18日前
株式会社アイシン
冷暖房システム
1か月前
島田工業株式会社
製氷装置及び製氷方法
1か月前
株式会社富士通ゼネラル
冷凍サイクル装置
17日前
株式会社富士通ゼネラル
冷凍サイクル装置
24日前
株式会社富士通ゼネラル
冷凍サイクル装置
24日前
株式会社前川製作所
冷却装置
23日前
日本碍子株式会社
空調システム
18日前
東芝ライフスタイル株式会社
冷却装置
18日前
東芝ライフスタイル株式会社
冷却装置
18日前
ダイキン工業株式会社
冷凍装置
26日前
ホシザキ株式会社
冷却貯蔵庫
1か月前
ダイキン工業株式会社
空気調和装置
1か月前
東芝ライフスタイル株式会社
冷蔵庫
4日前
三菱電機株式会社
冷蔵庫
5日前
三菱重工サーマルシステムズ株式会社
蒸発器
26日前
ダイキン工業株式会社
固体冷凍装置
1か月前
SWCC株式会社
超電導ケーブルの冷却システム
23日前
東プレ株式会社
冷凍装置及び冷凍装置の運転方法
24日前
大陽日酸株式会社
低温ガス発生装置
16日前
東芝ライフスタイル株式会社
冷蔵庫
5日前
東芝ライフスタイル株式会社
冷蔵庫
9日前
株式会社 E&E SYSTEM
二酸化炭素回収システム
19日前
ダイキン工業株式会社
冷凍装置
3日前
ダイキン工業株式会社
冷凍装置
3日前
続きを見る
他の特許を見る