TOP
|
特許
|
意匠
|
商標
特許ウォッチ
Twitter
他の特許を見る
公開番号
2025149233
公報種別
公開特許公報(A)
公開日
2025-10-08
出願番号
2024049740
出願日
2024-03-26
発明の名称
ショーケース
出願人
フクシマガリレイ株式会社
代理人
個人
主分類
F25D
23/02 20060101AFI20251001BHJP(冷凍または冷却;加熱と冷凍との組み合わせシステム;ヒートポンプシステム;氷の製造または貯蔵;気体の液化または固体化)
要約
【課題】前面の開口がスライド扉で開閉される密閉型のショーケースにおいて、開口枠を構成する下ガイド枠と側枠との接合面に隙間が生じたとしても、その隙間から結露水が漏出することを防ぐ。
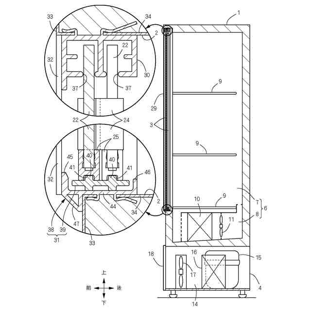
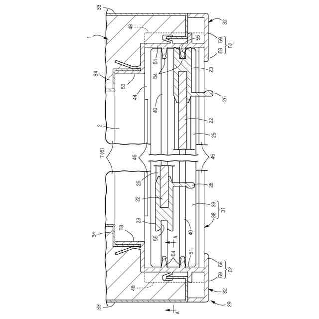
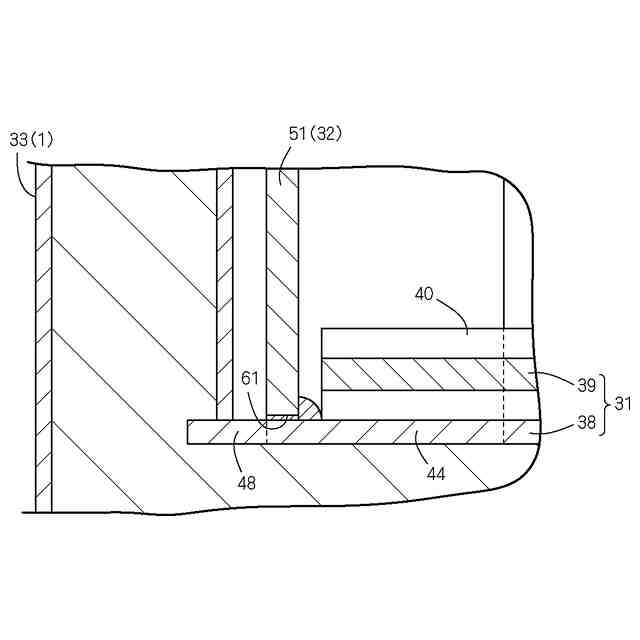
【解決手段】ケース本体1の前面の開口2の四周縁には、四角枠状の開口枠29が固定されており、開口枠29は、スライド扉3を左右方向にスライド案内する上ガイド枠30および下ガイド枠31と、両ガイド枠30・31の側端部どうしを接続する左右一対の側枠32とで構成されている。側枠32は、スライド扉3の側端に正対する側枠壁51と、側枠壁51の前端に連続する前枠壁52とを備える。下ガイド枠31の側端部に水平な接合壁48が設けられて、該接合壁48の上面と側枠壁51の下端面とが接合されており、側枠32の前枠壁52が、側枠壁51よりも下方へ突出して、接合壁48を前方から遮蔽している。
【選択図】図1
特許請求の範囲
【請求項1】
前面に開口(2)を有するケース本体(1)と、開口(2)をスライド開閉するスライド扉(3)と、開口(2)の四周縁に固定された四角枠状の開口枠(29)とを備えており、
開口枠(29)が、スライド扉(3)を左右方向にスライド案内する上ガイド枠(30)および下ガイド枠(31)と、両ガイド枠(30・31)の側端部どうしを接続する左右一対の側枠(32)とで構成されており、
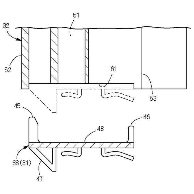
側枠(32)が、スライド扉(3)の側端に正対する側枠壁(51)と、側枠壁(51)の前端に連続する前枠壁(52)とを備えており、
下ガイド枠(31)の側端部に水平な接合壁(48)が設けられて、該接合壁(48)の上面と側枠壁(51)の下端面とが接合されており、
側枠(32)の前枠壁(52)が、側枠壁(51)よりも下方へ突出して、接合壁(48)を前方から遮蔽していることを特徴とするショーケース。
続きを表示(約 410 文字)
【請求項2】
側枠(32)の側枠壁(51)の後端に連続して、ケース本体(1)の内面に沿う後枠壁(53)が設けられており、
側枠(32)が、側枠壁(51)と前枠壁(52)と後枠壁(53)とを一体に備える上下方向の条材からなり、
側枠壁(51)の下端に、接合壁(48)の断面に合致する切欠(61)が形成されている請求項1に記載のショーケース。
【請求項3】
下ガイド枠(31)が、開口(2)の下縁に沿って固定される水平な下枠壁(44)と、下枠壁(44)の両側端に連続する接合壁(48)と、下枠壁(44)の前端から上向きに突出する外縁壁(45)と、下枠壁(44)の後端から上向きに突出する内縁壁(46)とを備えており、
外縁壁(45)が下枠壁(44)の長手方向の全長にわたって形成され、内縁壁(46)が当該全長よりも短く形成されている請求項1または2に記載のショーケース。
発明の詳細な説明
【技術分野】
【0001】
本発明は、前面の開口がスライド扉で開閉される密閉型のショーケースに関する。
続きを表示(約 1,900 文字)
【背景技術】
【0002】
この種のショーケースは、本出願人が先に出願した特許文献1に開示されている。特許文献1のショーケースは、前面に開口を有する縦長四角箱状のケース本体と、該開口をスライド開閉する左右一対のスライド扉と、該開口の四周縁に固定された四角枠状の開口枠とを備える。開口枠は、スライド扉を左右方向にスライド案内する上ガイド枠および下ガイド枠と、両ガイド枠の側端部どうしを接続する左右一対の側枠とで構成されている。ガイド枠と側枠の接合部分の構造に関して、特許文献1には明文の記載は無いが、図面を見ると側枠の下端の高さ位置は、下ガイド枠の下端面の高さ位置と同じであることから、下ガイド枠の端面が側枠の下端の側面に当接しており、これら端面と側面との間に接着剤が塗布されているとみられる。
【先行技術文献】
【特許文献】
【0003】
特開2016-138719号公報
【発明の概要】
【発明が解決しようとする課題】
【0004】
上記のように、特許文献1のショーケースの開口枠を構成する下ガイド枠と側枠の接合部分においては、下ガイド枠の端面が側枠の下端の側面に当接している。つまり、下ガイド枠と側枠の接合面は鉛直であり、これによれば、接着不良やコーキング不良などによって接合面に僅かでも隙間が生じると、その隙間からスライド扉の表面などで生じた結露水が漏出しやすい。
【0005】
本発明の目的は、ショーケースの開口枠を構成する下ガイド枠と側枠との接合面に隙間が生じたとしても、その隙間から結露水が漏出することを防ぐことにある。
【課題を解決するための手段】
【0006】
本発明に係るショーケースは、前面に開口2を有するケース本体1と、開口2をスライド開閉するスライド扉3と、開口2の四周縁に固定された四角枠状の開口枠29とを備えており、開口枠29が、スライド扉3を左右方向にスライド案内する上ガイド枠30および下ガイド枠31と、両ガイド枠30・31の側端部どうしを接続する左右一対の側枠32とで構成されている。側枠32は、スライド扉3の側端に正対する側枠壁51と、側枠壁51の前端に連続する前枠壁52とを備える。そして、下ガイド枠31の側端部に水平な接合壁48が設けられて、該接合壁48の上面と側枠壁51の下端面とが接合されており、側枠32の前枠壁52が、側枠壁51よりも下方へ突出して、接合壁48を前方から遮蔽していることを特徴とする。
【0007】
具体的には、側枠32の側枠壁51の後端に連続して、ケース本体1の内面に沿う後枠壁53が設けられており、側枠32は、側枠壁51と前枠壁52と後枠壁53とを一体に備える上下方向の条材からなる。側枠壁51の下端に、接合壁48の断面に合致する切欠61が形成されている。
【0008】
下ガイド枠31は、開口2の下縁に沿って固定される水平な下枠壁44と、下枠壁44の両側端に連続する接合壁48と、下枠壁44の前端から上向きに突出する外縁壁45と、下枠壁44の後端から上向きに突出する内縁壁46とを備える。外縁壁45が下枠壁44の長手方向の全長にわたって形成され、内縁壁46が当該全長よりも短く形成されている。
【発明の効果】
【0009】
本発明のように、上ガイド枠30と下ガイド枠31と左右一対の側枠32とで構成される四角枠状の開口枠29を備えるショーケースにおいて、下ガイド枠31の側端部に水平な接合壁48を設けて、該接合壁48の上面と側枠32の側枠壁51の下端面とを接合すると、下ガイド枠31と側枠32の接合面が水平となることから、仮に接着不良やコーキング不良などによって接合面に隙間が生じたとしても、当該接合面が鉛直である場合に比べて、隙間から結露水が漏出することを防ぐことができる。さらに本発明のように、側枠壁51の前端に連続する前枠壁52を、側枠壁51よりも下方へ突出させると、下ガイド枠31の接合壁48を前方から前枠壁52で遮蔽して、ショーケースの正面の外観の意匠性を高めることができる。
【0010】
側枠32を、側枠壁51と前枠壁52と後枠壁53とを一体に備える上下方向の条材とし、側枠壁51の下端に接合壁48の断面に合致する切欠61を形成すると、側枠壁51に対して前枠壁52を下方へ比較的容易に突出させるとともに、当該突出部分の寸法を必要最小限に抑えることができる。
(【0011】以降は省略されています)
この特許をJ-PlatPat(特許庁公式サイト)で参照する
関連特許
ホシザキ株式会社
製氷機
22日前
個人
ヒートポンプ型空気調和機
28日前
ホシザキ株式会社
冷凍装置
今日
富士電機株式会社
冷却装置
21日前
富士ベンダーサービス株式会社
保管庫
1か月前
フクシマガリレイ株式会社
冷却貯蔵庫
今日
ダイキン工業株式会社
冷凍装置
7日前
フクシマガリレイ株式会社
ショーケース
9日前
三菱重工冷熱株式会社
低温冷水供給装置
28日前
アクア株式会社
冷蔵庫
15日前
ダイキン工業株式会社
冷媒充填方法
7日前
フクシマガリレイ株式会社
商品販売システム
2日前
シャープ株式会社
冷蔵庫
28日前
株式会社アイシン
冷暖房システム
14日前
島田工業株式会社
製氷装置及び製氷方法
15日前
株式会社富士通ゼネラル
冷凍サイクル装置
8日前
株式会社富士通ゼネラル
冷凍サイクル装置
1日前
株式会社富士通ゼネラル
冷凍サイクル装置
8日前
株式会社オカムラ
故障予知システム
22日前
株式会社前川製作所
冷却装置
7日前
東芝ライフスタイル株式会社
冷却装置
2日前
三菱重工冷熱株式会社
冷却装置
1か月前
東芝ライフスタイル株式会社
冷却装置
2日前
日本碍子株式会社
空調システム
2日前
ダイキン工業株式会社
冷凍装置
22日前
富士電機株式会社
店舗用冷却装置制御システム
22日前
ホシザキ株式会社
冷却貯蔵庫
16日前
ダイキン工業株式会社
冷凍装置
10日前
ホシザキ株式会社
冷却貯蔵庫
1か月前
アイスマン株式会社
造雪装置及び製氷装置
1か月前
東芝ライフスタイル株式会社
冷蔵庫
21日前
ダイキン工業株式会社
空気調和装置
14日前
ダイキン工業株式会社
固体冷凍装置
14日前
東芝ライフスタイル株式会社
冷蔵庫
21日前
三菱重工サーマルシステムズ株式会社
蒸発器
10日前
東芝ライフスタイル株式会社
冷蔵庫
21日前
続きを見る
他の特許を見る