TOP
|
特許
|
意匠
|
商標
特許ウォッチ
Twitter
他の特許を見る
公開番号
2025145452
公報種別
公開特許公報(A)
公開日
2025-10-03
出願番号
2024045634
出願日
2024-03-21
発明の名称
空気調和装置
出願人
ダイキン工業株式会社
代理人
弁理士法人前田特許事務所
主分類
F25B
6/02 20060101AFI20250926BHJP(冷凍または冷却;加熱と冷凍との組み合わせシステム;ヒートポンプシステム;氷の製造または貯蔵;気体の液化または固体化)
要約
【課題】超臨界運転を行うマルチタイプの空気調和装置で一部利用ユニットを停止する。
【解決手段】空気調和装置は、圧縮機と放熱器と膨張弁と蒸発器とを有し且つ冷媒を臨界圧力以上まで圧縮することで利用側空間を暖房する暖房運転を実行する冷凍サイクルを行う冷媒回路と、冷媒回路を制御する制御装置と、を備える。放熱器は、互いに並列に接続される第1放熱器と第2放熱器とを含む。膨張弁は、第1放熱器に対応する第1膨張弁と、第2放熱器に対応する第2膨張弁と、を含む。第1放熱器及び第1膨張弁は、第1利用ユニットを構成する。第2放熱器及び第2膨張弁は、第2利用ユニットを構成する。制御装置は、第1利用ユニットが停止モードのとき、第1膨張弁が全閉となる又は微小開度で開かれる第1状態と、第1膨張弁が第1状態のときよりも大きく開かれる第2状態と、を切り換えるように、第1膨張弁を制御する。
【選択図】図1
特許請求の範囲
【請求項1】
圧縮機(20)と放熱器(64)と膨張弁(63)と蒸発器(24)とを有し且つ冷媒を臨界圧力(Pc)以上まで圧縮することで利用側空間(R)を暖房する暖房運転を実行するための冷凍サイクルを行う冷媒回路(6)と、
前記冷媒回路(6)を制御する制御装置(130)と、を備え、
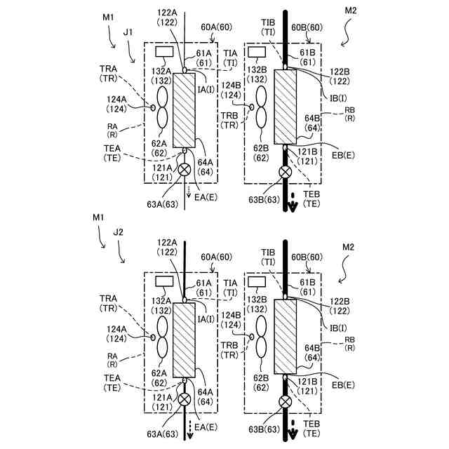
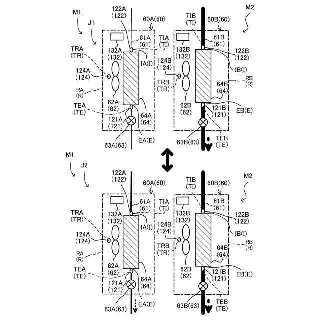
前記放熱器(64)は、互いに並列に接続される第1放熱器(64A)と第2放熱器(64B)とを含み、
前記膨張弁(63)は、前記第1放熱器(64A)に対応する第1膨張弁(63A)と、前記第2放熱器(64B)に対応する第2膨張弁(63B)と、を含み、
前記第1放熱器(64A)及び前記第1膨張弁(63A)は、第1利用ユニット(60A)を構成し、
前記第2放熱器(64B)及び前記第2膨張弁(63B)は、第2利用ユニット(60B)を構成し、
前記制御装置(130)は、前記第1利用ユニット(60A)が停止モード(M1)のとき、前記第1膨張弁(63A)が全閉となる又は微小開度で開かれる第1状態(J1)と、前記第1膨張弁(63A)が前記第1状態(J1)のときよりも大きく開かれる第2状態(J2)と、を切り換えるように、前記第1膨張弁(63A)を制御する、空気調和装置。
続きを表示(約 1,500 文字)
【請求項2】
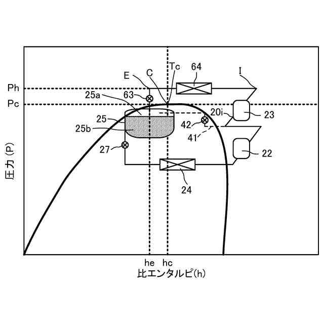
前記冷媒回路(6)は、前記放熱器(64)の下流側に接続され且つ前記冷媒をガス冷媒と液冷媒とに分離する気液分離器(25)を有し、
前記制御装置(130)は、前記気液分離器(25)の圧力(Pd)の上昇に基づいて、前記第1膨張弁(63A)を前記第2状態(J2)から前記第1状態(J1)に切り換える、請求項1に記載の空気調和装置。
【請求項3】
前記制御装置(130)は、
前記第1放熱器(64A)の入口(IA)での前記冷媒の温度(TIA)と前記第1放熱器(64A)の出口(EA)での前記冷媒の温度(TEA)との差が第1値(Q1)よりも大きいとき、又は、
前記第1放熱器(64A)の出口(EA)での前記冷媒の温度(TEA)が時間の経過に従って上昇したとき、
前記第1膨張弁(63A)を前記第2状態(J2)から前記第1状態(J1)に切り換える、請求項2に記載の空気調和装置。
【請求項4】
前記制御装置(130)は、前記第2状態(J2)での持続時間が第2値(Q2)よりも大きいとき、前記第1膨張弁(63A)を前記第2状態(J2)から前記第1状態(J1)に切り換える、請求項2に記載の空気調和装置。
【請求項5】
前記制御装置(130)は、
前記第1放熱器(64A)の入口(IA)での前記冷媒の温度(TIA)が前記冷媒の臨界点(C)での温度(Tc)よりも小さいとき、又は、
前記第1放熱器(64A)の入口(IA)での前記冷媒の温度(TIA)と前記第1放熱器(64A)の出口(EA)での前記冷媒の温度(TEA)との差が第3値(Q3)よりも小さいとき、又は、
前記第1放熱器(64A)の入口(IA)での前記冷媒の温度(TIA)と前記第1利用ユニット(60A)に係る前記利用側空間(RA)の温度(TRA)との差が第4値(Q4)よりも小さいとき、又は、
前記第1状態(J1)での持続時間が第5値(Q5)よりも大きいとき、
前記第1膨張弁(63A)を前記第1状態(J1)から前記第2状態(J2)に切り換える、請求項1から4のいずれか1つに記載の空気調和装置。
【請求項6】
前記制御装置(130)は、前記第1利用ユニット(60A)が停止モード(M1)且つ前記第2利用ユニット(60B)が運転モード(M2)のとき、前記第1膨張弁(63A)の開度を、前記第2膨張弁(63B)の開度よりも小さくする、請求項1から4のいずれか1つに記載の空気調和装置。
【請求項7】
前記制御装置(130)は、前記第1利用ユニット(60A)におけるファン(62A)を停止した状態で暖房運転を起動し、
前記制御装置(130)は、暖房運転の起動後、前記第1放熱器(64A)の出口(EA)での前記冷媒の温度(TEA)が前記冷媒の臨界点(C)での温度(Tc)よりも大きくなると、前記ファン(62A)を駆動する、請求項1から4のいずれか1つに記載の空気調和装置。
【請求項8】
前記冷媒回路(6)は、前記放熱器(64)の下流側に接続され且つ前記冷媒をガス冷媒と液冷媒とに分離する気液分離器(25)と、前記気液分離器(25)のガス貯留部(25a)と前記圧縮機(20)の吸入側(20i)とを繋ぐガス抜き通路(41)と、前記ガス抜き通路(41)に設けられる開閉弁(42)と、を有し、
前記制御装置(130)は、暖房運転の起動時に前記開閉弁(42)を開ける、請求項7に記載の空気調和装置。
発明の詳細な説明
【技術分野】
【0001】
本開示は、空気調和装置に関する。
続きを表示(約 1,600 文字)
【背景技術】
【0002】
例えば特許文献1に示すように、空気調和装置について種々の技術が開示されている。特許文献1に開示の空気調和装置は、冷媒回路を備える。冷媒回路は、圧縮機と放熱器と膨張弁と蒸発器とを有し、室内を暖房する暖房運転を実行するための冷凍サイクルを行う。特許文献1に開示の空気調和装置では、冷媒を臨界圧力以上まで圧縮する超臨界運転が行われる。
【先行技術文献】
【特許文献】
【0003】
特開2021-055874号公報
【発明の概要】
【発明が解決しようとする課題】
【0004】
1つの熱源ユニットに対して複数の利用ユニットが接続されたマルチタイプの空気調和装置において、複数の利用ユニットのうちの一部の利用ユニットを停止させる場合がある。このとき、通常、停止対象の利用ユニットの膨張弁を少しだけ開いた状態で絞ることが行われる。
【0005】
超臨界運転を行うマルチタイプの空気調和装置において、上述の方法にて、複数の利用ユニットのうちの一部の利用ユニットを停止したとき、利用ユニットの放熱器の下流側において冷媒の圧力が上昇してしまうという問題があった。同時に、停止対象の利用ユニットの放熱器に液冷媒が溜まることも抑制せねばならない。
【0006】
このような事象により、超臨界運転を行うマルチタイプの空気調和装置では、複数の利用ユニットのうちの一部の利用ユニットを停止するの難しかった。
【0007】
本開示の目的は、超臨界運転を行うマルチタイプの空気調和装置において複数の利用ユニットのうちの一部の利用ユニットの停止を可能にする。
【課題を解決するための手段】
【0008】
本開示の第1の態様は、空気調和装置(1)を対象とする。空気調和装置(1)は、圧縮機(20)と放熱器(64)と膨張弁(63)と蒸発器(24)とを有し且つ冷媒を臨界圧力(Pc)以上まで圧縮することで利用側空間(R)を暖房する暖房運転を実行するための冷凍サイクルを行う冷媒回路(6)と、前記冷媒回路(6)を制御する制御装置(130)と、を備え、前記放熱器(64)は、互いに並列に接続される第1放熱器(64A)と第2放熱器(64B)とを含み、前記膨張弁(63)は、前記第1放熱器(64A)に対応する第1膨張弁(63A)と、前記第2放熱器(64B)に対応する第2膨張弁(63B)と、を含み、前記第1放熱器(64A)及び前記第1膨張弁(63A)は、第1利用ユニット(60A)を構成し、前記第2放熱器(64B)及び前記第2膨張弁(63B)は、第2利用ユニット(60B)を構成し、前記制御装置(130)は、前記第1利用ユニット(60A)が停止モード(M1)のとき、前記第1膨張弁(63A)が全閉となる又は微小開度で開かれる第1状態(J1)と、前記第1膨張弁(63A)が前記第1状態(J1)のときよりも大きく開かれる第2状態(J2)と、を切り換えるように、前記第1膨張弁(63A)を制御する。
【0009】
第1の態様によれば、超臨界運転を行うマルチタイプの空気調和装置(1)において、第1利用ユニット(60A)及び第2利用ユニット(60B)のうちの第1利用ユニット(60A)の停止が可能になる。
【0010】
本開示の第2の態様は、第1の態様の空気調和装置(1)を対象とする。前記冷媒回路(6)は、前記放熱器(64)の下流側に接続され且つ前記冷媒をガス冷媒と液冷媒とに分離する気液分離器(25)を有し、前記制御装置(130)は、前記気液分離器(25)の圧力(Pd)の上昇に基づいて、前記第1膨張弁(63A)を前記第2状態(J2)から前記第1状態(J1)に切り換える。
(【0011】以降は省略されています)
この特許をJ-PlatPat(特許庁公式サイト)で参照する
関連特許
ダイキン工業株式会社
冷凍装置
6日前
ダイキン工業株式会社
冷凍装置
6日前
ダイキン工業株式会社
冷凍装置
10日前
ダイキン工業株式会社
換気装置
25日前
ダイキン工業株式会社
換気装置
24日前
ダイキン工業株式会社
調湿装置
16日前
ダイキン工業株式会社
空気調和機
25日前
ダイキン工業株式会社
空気調和機
25日前
ダイキン工業株式会社
空気調和機
24日前
ダイキン工業株式会社
固体冷凍装置
2日前
ダイキン工業株式会社
空気調和装置
2日前
ダイキン工業株式会社
回転電気機械
9日前
ダイキン工業株式会社
発電システム
6日前
ダイキン工業株式会社
エッチングガス
16日前
ダイキン工業株式会社
デポジションガス
16日前
ダイキン工業株式会社
半導体モジュール
24日前
ダイキン工業株式会社
熱交換器及び冷凍装置
4日前
ダイキン工業株式会社
室内機、空気調和装置
17日前
ダイキン工業株式会社
室内機、空気調和装置
17日前
ダイキン工業株式会社
室内機、空気調和装置
17日前
ダイキン工業株式会社
フルオロポリマーの製造方法
16日前
ダイキン工業株式会社
圧縮機の製造方法および圧縮機
18日前
ダイキン工業株式会社
冷凍サイクル装置および冷凍機油
9日前
ダイキン工業株式会社
冷凍サイクル装置および冷凍機油
9日前
ダイキン工業株式会社
スクロール圧縮機、及び冷凍装置
2日前
ダイキン工業株式会社
処理方法、処理装置及び処理プログラム
25日前
ダイキン工業株式会社
フルオロポリマー水性分散液の製造方法
16日前
ダイキン工業株式会社
金属カーバイドおよび炭化水素の製造方法
6日前
ダイキン工業株式会社
組成物、それを用いたシート及びその製造方法
17日前
ダイキン工業株式会社
フルオロポリマーの製造方法および水性分散液
16日前
国立大学法人東海国立大学機構
エッチング方法
24日前
ダイキン工業株式会社
固定子コア、回転電機、圧縮機、および、冷凍装置
6日前
ダイキン工業株式会社
回転式圧縮機、冷凍装置、及び回転圧縮機の製造方法
24日前
ダイキン工業株式会社
シート、銅張積層体、回路基板及びシートの製造方法
16日前
ダイキン工業株式会社
フルオロポリエーテル基含有トリアジン化合物の組成物
25日前
ダイキン工業株式会社
アルキレン鎖含有シラン化合物
16日前
続きを見る
他の特許を見る