TOP
|
特許
|
意匠
|
商標
特許ウォッチ
Twitter
他の特許を見る
公開番号
2025164604
公報種別
公開特許公報(A)
公開日
2025-10-30
出願番号
2024068704
出願日
2024-04-19
発明の名称
冷凍装置
出願人
ダイキン工業株式会社
代理人
弁理士法人新樹グローバル・アイピー
主分類
F25B
37/00 20060101AFI20251023BHJP(冷凍または冷却;加熱と冷凍との組み合わせシステム;ヒートポンプシステム;氷の製造または貯蔵;気体の液化または固体化)
要約
【課題】冷凍装置の能力を調整できる冷凍装置を提供する。
【解決手段】冷凍装置は、圧縮機と、第1吸着領域と、第2吸着領域と、切り替え機構と、冷媒流路と、制御部と、を備える。冷媒流路には、冷媒が流れる。制御部は、運転モードを変更する。圧縮機は、低圧冷媒を吸入して圧縮し、高圧冷媒として吐出する。第1吸着領域及び第2吸着領域は、吸着材を有する。吸着材は、冷媒の圧力の変化に応じて冷媒を吸着及び脱着する。切り替え機構は、冷媒流路を、第1状態と、第2状態と、の間で切り替え可能である。運転モードは、第1運転モードと、第2運転モードと、を含む。第1運転モードでは、第1吸着領域又は第2吸着領域において冷媒が吸着材の吸着面積が第1値である。第2運転モードでは、吸着面積が第1値と異なる第2値である。
【選択図】図4
特許請求の範囲
【請求項1】
圧縮機(131)と、
第1吸着領域(121)と、
第2吸着領域(122)と、
切り替え機構(135)と、
冷媒が流れる冷媒流路(111)と、
運転モードを変更する制御部(105)と、
を備え、
前記圧縮機は、低圧冷媒を吸入して圧縮し、高圧冷媒として吐出し、
前記第1吸着領域及び前記第2吸着領域は、前記冷媒の圧力の変化に応じて前記冷媒を吸着及び脱着する吸着材(181)を有し、
前記切り替え機構は、前記冷媒流路を、
前記第1吸着領域と前記圧縮機の吐出側とを接続し、前記第1吸着領域を高圧状態とし、かつ、前記第2吸着領域と前記圧縮機の吸入側とを接続し、前記第2吸着領域を低圧状態とすることが可能である第1状態と、
前記第1吸着領域と前記圧縮機の吸入側とを接続し、前記第1吸着領域を低圧状態とし、かつ、前記第2吸着領域と前記圧縮機の吐出側とを接続し、前記第2吸着領域を高圧状態とすることが可能である第2状態と、
の間で切り替え可能であり、
前記運転モードは、
前記第1吸着領域又は前記第2吸着領域において前記吸着材の吸着面積が第1値である第1運転モードと、
前記吸着面積が前記第1値と異なる第2値である第2運転モードと、
を含む、
冷凍装置。
続きを表示(約 800 文字)
【請求項2】
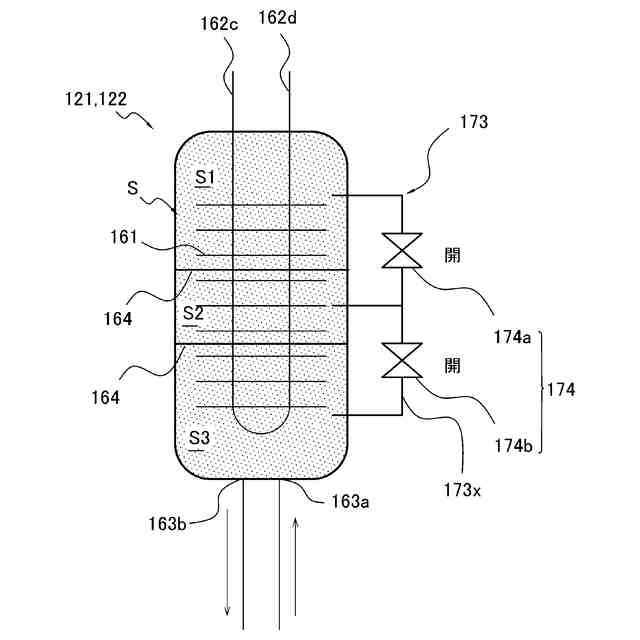
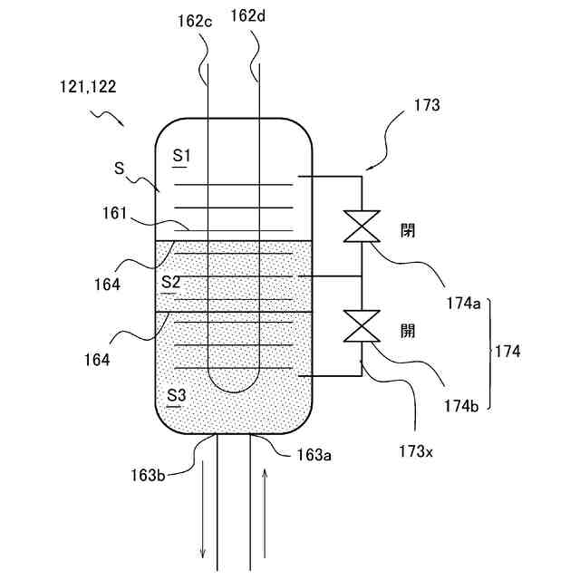
前記第1吸着領域又は前記第2吸着領域は、前記冷媒を供給可能な複数の空間(S)に区画されている、
請求項1に記載の冷凍装置。
【請求項3】
前記空間の数を調整する第1調整機構(173)をさらに備え、
前記制御部は、前記第1調整機構を制御して前記運転モードを変更する、
請求項2に記載の冷凍装置。
【請求項4】
前記第1調整機構は、前記複数の空間の間を接続する流路を開閉する第1切替弁(174)を含み、
前記制御部は、前記第1切替弁を制御して前記運転モードを変更する、
請求項3に記載の冷凍装置。
【請求項5】
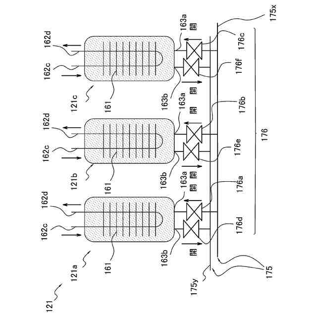
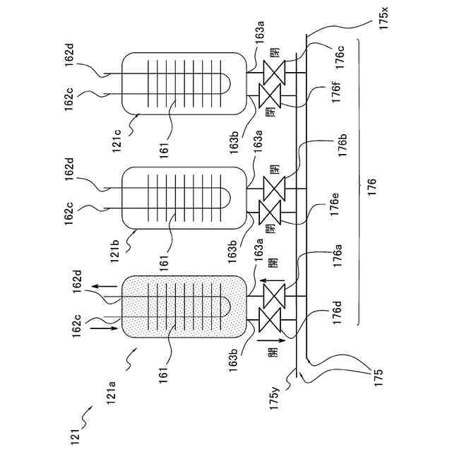
複数の前記第1吸着領域又は複数の前記第2吸着領域、
をさらに備える、
請求項1に記載の冷凍装置。
【請求項6】
前記第1運転モード又は前記第2運転モードの動作を行う前記第1吸着領域又は前記第2吸着領域の数を調整する第2調整機構(175)をさらに備え、
前記制御部は、前記第2調整機構を制御して前記運転モードを変更する、
請求項5に記載の冷凍装置。
【請求項7】
前記第2調整機構は、複数の前記第1吸着領域間、又は、複数の前記第2吸着領域間を接続する流路を開閉する第2切替弁(176)を含み、
前記制御部は、前記第2切替弁を制御して前記運転モードを変更する、
請求項6に記載の冷凍装置。
【請求項8】
前記吸着材は、金属イオンと、有機配位子と、を含む金属有機構造体を含む、
請求項1~7のいずれか1項に記載の冷凍装置。
【請求項9】
前記冷媒は、二酸化炭素、炭化水素冷媒、アンモニア、及び水からなる群から選択される、
請求項1~7のいずれか1項に記載の冷凍装置。
発明の詳細な説明
【技術分野】
【0001】
冷凍装置に関する。
続きを表示(約 1,600 文字)
【背景技術】
【0002】
従来、吸着式冷凍サイクルを備える冷凍装置が用いられている。このような冷凍装置として、特許文献1(米国特許出願公開第2023/0417459号明細書)には、冷媒の吸着及び脱着が交互に繰り返される一対の吸着器を有する熱源側回路と、冷媒の吸着熱又は脱着熱を回収するための熱媒体が循環する利用側回路と、を備える冷凍装置が開示されている。熱源側回路では、一方の吸着器で冷媒が吸着され、他方の吸着器で冷媒が脱着されるモードと、当該一方の吸着器で冷媒が脱着され、当該他方の吸着器で冷媒が吸着されるモードと、が交互に切り替えられる。これにより、利用側回路では、熱媒体によって、熱源側回路から熱が連続的に回収される。
【発明の概要】
【発明が解決しようとする課題】
【0003】
冷媒の凝縮熱及び蒸発熱を利用する蒸気圧縮式冷凍サイクルは、冷媒の循環量を変えることで能力を調整することが可能である。しかし、吸着式冷凍サイクルにおいて能力を調整するためには、吸着材への冷媒の吸着量、又は、吸着材からの冷媒の脱着量を変える必要がある。
【課題を解決するための手段】
【0004】
第1観点の冷凍装置は、圧縮機と、第1吸着領域と、第2吸着領域と、切り替え機構と、冷媒流路と、制御部と、を備える。冷媒流路には、冷媒が流れる。制御部は、運転モードを変更する。圧縮機は、低圧冷媒を吸入して圧縮し、高圧冷媒として吐出する。第1吸着領域及び第2吸着領域は、吸着材を有する。吸着材は、冷媒の圧力の変化に応じて冷媒を吸着及び脱着する。切り替え機構は、冷媒流路を、第1状態と、第2状態と、の間で切り替え可能である。第1状態では、切り替え機構は、第1吸着領域と圧縮機の吐出側とを接続し、第1吸着領域を高圧状態とし、かつ、第2吸着領域と圧縮機の吸入側とを接続し、第2吸着領域を低圧状態とすることが可能である。第2状態では、切り替え機構は、第1吸着領域と圧縮機の吸入側とを接続し、第1吸着領域を低圧状態とし、かつ、第2吸着領域と圧縮機の吐出側とを接続し、第2吸着領域を高圧状態とすることが可能である。運転モードは、第1運転モードと、第2運転モードと、を含む。第1運転モードでは、第1吸着領域又は第2吸着領域において冷媒が吸着材の吸着面積が第1値である。第2運転モードでは、吸着面積が第1値と異なる第2値である。
【0005】
第1観点の冷凍装置は、冷凍装置の能力を調整できる。
【0006】
第2観点の冷凍装置は、第1観点の冷凍装置であって、第1吸着領域又は第2吸着領域は、冷媒を供給可能な複数の空間に区画されている。
【0007】
第3観点の冷凍装置は、第2観点の冷凍装置であって、第1調整機構をさらに備える。第1調整機構は、上記空間の数を調整する。制御部は、第1調整機構を制御して運転モードを変更する。
【0008】
第4観点の冷凍装置は、第3観点の冷凍装置であって、第1調整機構は、第1切替弁を含む。第1切替弁は、複数の空間の間を接続する流路を開閉する。制御部は、第1切替弁を制御して運転モードを変更する。
【0009】
第5観点の冷凍装置は、第1観点~第4観点のいずれかの冷凍装置であって、複数の第1吸着領域又は複数の第2吸着領域、をさらに備える。
【0010】
第6観点の冷凍装置は、第5観点の冷凍装置であって、第2調整機構をさらに備える。第2調整機構は、第1運転モード又は第2運転モードの動作を行う第1吸着領域又は第2吸着領域の数を調整する。制御部は、第2調整機構を制御して運転モードを変更する。
(【0011】以降は省略されています)
この特許をJ-PlatPat(特許庁公式サイト)で参照する
関連特許
ダイキン工業株式会社
撥剤
1か月前
ダイキン工業株式会社
冷凍装置
1か月前
ダイキン工業株式会社
冷凍装置
1か月前
ダイキン工業株式会社
冷凍装置
1か月前
ダイキン工業株式会社
冷凍装置
1か月前
ダイキン工業株式会社
冷凍装置
1か月前
ダイキン工業株式会社
冷凍装置
1か月前
ダイキン工業株式会社
監視装置
1か月前
ダイキン工業株式会社
シール材
24日前
ダイキン工業株式会社
冷凍装置
1か月前
ダイキン工業株式会社
共重合体
18日前
ダイキン工業株式会社
空気調和装置
1か月前
ダイキン工業株式会社
電力変換装置
1か月前
ダイキン工業株式会社
冷媒充填方法
1か月前
ダイキン工業株式会社
撥水剤組成物
10日前
ダイキン工業株式会社
空気調和装置
1か月前
ダイキン工業株式会社
空気調和装置
1か月前
ダイキン工業株式会社
空調ゾーニング方法
1か月前
ダイキン工業株式会社
吸着器及び冷凍装置
1か月前
ダイキン工業株式会社
インバータ制御装置
1か月前
ダイキン工業株式会社
圧縮機及び冷凍装置
1か月前
ダイキン工業株式会社
制御回路及び電子機器
1か月前
ダイキン工業株式会社
電力変換装置及び冷凍装置
1か月前
ダイキン工業株式会社
回転式圧縮機及び冷凍装置
4日前
ダイキン工業株式会社
空調機のための保守システム
1か月前
ダイキン工業株式会社
ノイズ抑制回路、空気調和機
1か月前
ダイキン工業株式会社
ノイズ抑制回路、空気調和機
1か月前
ダイキン工業株式会社
圧縮機及び冷凍サイクル装置
10日前
ダイキン工業株式会社
フッ素原子含有シラン化合物
23日前
ダイキン工業株式会社
圧縮機及び冷凍サイクル装置
10日前
ダイキン工業株式会社
積層体の製造方法および積層体
1か月前
ダイキン工業株式会社
電力変換システム、空気調和機
1か月前
ダイキン工業株式会社
電力変換システム、空気調和機
1か月前
ダイキン工業株式会社
磁気冷凍ユニット及び冷凍装置
1か月前
ダイキン工業株式会社
正極合剤、正極および二次電池
1か月前
ダイキン工業株式会社
圧縮機、および冷凍サイクル装置
1か月前
続きを見る
他の特許を見る