TOP
|
特許
|
意匠
|
商標
特許ウォッチ
Twitter
他の特許を見る
公開番号
2025164605
公報種別
公開特許公報(A)
公開日
2025-10-30
出願番号
2024068705
出願日
2024-04-19
発明の名称
冷凍装置
出願人
ダイキン工業株式会社
代理人
弁理士法人新樹グローバル・アイピー
主分類
F25B
17/08 20060101AFI20251023BHJP(冷凍または冷却;加熱と冷凍との組み合わせシステム;ヒートポンプシステム;氷の製造または貯蔵;気体の液化または固体化)
要約
【課題】吸着式冷凍サイクルを備える冷凍装置では、発生した吸着熱又は脱着熱をできるだけ多く回収する必要がある。
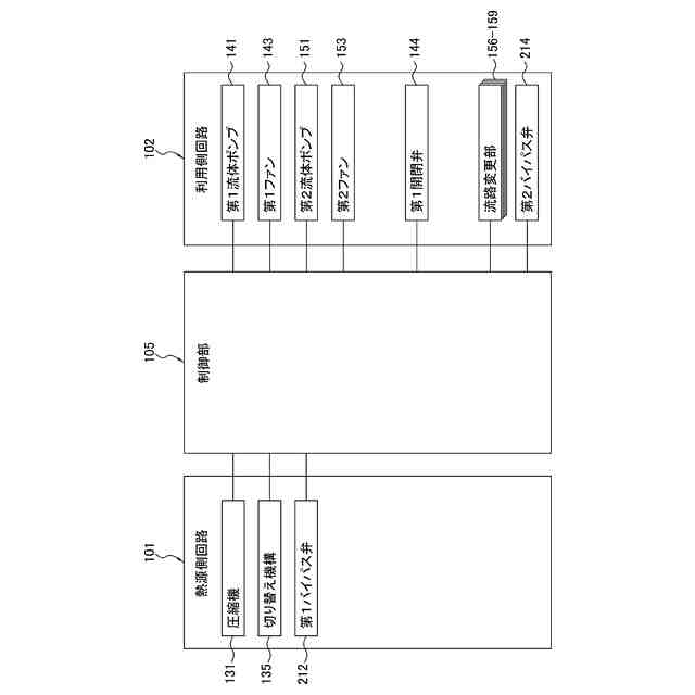
【解決手段】冷凍装置100は、熱源側回路101と利用側回路102と制御部105とを備える。熱源側回路101は、圧縮機131と第1吸着器121と第2吸着器122と切り替え機構135と冷媒流路111とを有する。利用側回路102は、第1熱媒体流路112を有する。第1吸着器121及び第2吸着器122は、吸着材181を有する。熱源側回路101は、第1バイパス流路211と第1バイパス弁212とを有する。利用側回路102は、利用部と第2バイパス流路213と第2バイパス弁214とを有する。制御部105は、第1期間の間、第1バイパス弁212を開ける。制御部105は、第2期間の間、第2バイパス弁214を閉じる。第1期間は、第2期間と、少なくとも一部が重なっている。
【選択図】図1
特許請求の範囲
【請求項1】
圧縮機(131)と、第1吸着器(121)と、第2吸着器(122)と、切り替え機構(135)と、冷媒が流れる冷媒流路(111)と、を有する、熱源側回路(101)と、
第1熱媒体が流れる第1熱媒体流路(112)を有する、利用側回路(102)と、
制御部(105)と、
を備え、
前記圧縮機は、低圧冷媒を吸入して圧縮し、高圧冷媒として吐出し、
前記第1吸着器及び前記第2吸着器は、冷媒の圧力の変化に応じて冷媒を吸着及び脱着する吸着材(181)を有し、かつ、前記吸着材が冷媒を吸着する際に発生する温熱、及び、前記吸着材が冷媒を脱着する際に発生する冷熱が回収され、
前記切り替え機構は、前記冷媒流路を、
前記圧縮機の吐出側と前記第1吸着器とを接続して前記第1吸着器内を高圧状態にし、かつ、前記圧縮機の吸入側と前記第2吸着器とを接続して前記第2吸着器内を低圧状態にする第1状態と、
前記圧縮機の吸入側と前記第1吸着器とを接続して前記第1吸着器内を低圧状態にし、かつ、前記圧縮機の吐出側と前記第2吸着器とを接続して前記第2吸着器内を高圧状態にする第2状態と、
の間で切り替え可能であり、
前記第1吸着器は、前記冷媒流路が前記第1状態である場合に前記第1熱媒体によって前記温熱が回収され、前記冷媒流路が前記第2状態である場合に前記第1熱媒体によって前記冷熱が回収され、
前記第2吸着器は、前記冷媒流路が前記第1状態である場合に前記第1熱媒体によって前記冷熱が回収され、前記冷媒流路が前記第2状態である場合に前記第1熱媒体によって前記温熱が回収され、
前記熱源側回路は、
前記圧縮機を通らずに前記第1吸着器と前記第2吸着器とを接続する第1バイパス流路(211)と、
前記第1バイパス流路に設けられる第1弁(212)と、
を有し、
前記利用側回路は、
前記第1熱媒体の熱を利用する利用部と、
前記利用部をバイパスする第2バイパス流路(213)と、
前記第2バイパス流路に設けられる第2弁(214)と、
を有し、
前記制御部は、
第1期間の間、前記第1弁を開け、
前記第1期間の開始より所定期間前の時点に、前記第1期間の開始と同時に、又は、前記第1期間の開始から所定期間後の時点に、前記切り替え機構を制御して前記第1状態と前記第2状態とを切り替え、
第2期間の間、前記第2弁を閉じ、
前記第1期間は、前記第2期間と、少なくとも一部が重なっている、
冷凍装置(100)。
続きを表示(約 880 文字)
【請求項2】
前記制御部は、前記第1期間の開始と同時に前記第2期間を開始するか、又は、前記第1期間中に前記第2期間を開始する、
請求項1に記載の冷凍装置。
【請求項3】
前記制御部は、前記第1期間の終了後、かつ、前記第1状態と前記第2状態とを切り替える前に、前記第2期間を終了する、
請求項1又は2に記載の冷凍装置。
【請求項4】
前記制御部は、前記利用部において利用される熱量の目標値が第1熱量である場合に前記第2期間が開始する時点を、前記目標値が前記第1熱量よりも低い第2熱量である場合に前記第2期間が開始する時点よりも遅くする、
請求項1又は2に記載の冷凍装置。
【請求項5】
前記制御部は、前記利用部において利用される熱量の目標値が第3熱量である場合に前記第2期間が終了する時点を、前記目標値が前記第3熱量よりも低い第4熱量である場合に前記第2期間が終了する時点よりも早くする、
請求項1又は2に記載の冷凍装置。
【請求項6】
前記利用部は、前記第1熱媒体流路に設けられる熱交換器(142)を含む、
請求項1又は2に記載の冷凍装置。
【請求項7】
前記利用部は、
第2熱媒体が流れる第2熱媒体流路(114)と、
前記第2熱媒体流路に設けられる熱交換器(142)と、
前記第1熱媒体流路及び前記第2熱媒体流路に設けられ、前記第1熱媒体によって回収された前記温熱又は前記冷熱が前記第2熱媒体に回収される、蓄熱部(149)と、
を含む、
請求項1又は2に記載の冷凍装置。
【請求項8】
前記吸着材は、金属イオンと有機配位子とを含む金属有機構造体を含む、
請求項1又は2に記載の冷凍装置。
【請求項9】
前記冷媒流路を流れる冷媒は、二酸化炭素、炭化水素冷媒、アンモニア、及び水からなる群から選択される、
請求項1又は2に記載の冷凍装置。
発明の詳細な説明
【技術分野】
【0001】
冷凍装置に関する。
続きを表示(約 2,200 文字)
【背景技術】
【0002】
従来、吸着式冷凍サイクルを備える冷凍装置が用いられている。このような冷凍装置として、特許文献1(米国特許出願公開第2023/0417459号明細書)には、冷媒の吸着及び脱着が交互に繰り返される一対の吸着器を有する熱源側回路と、冷媒の吸着熱又は脱着熱を回収するための熱媒体が循環する利用側回路と、を備える冷凍装置が開示されている。熱源側回路では、一方の吸着器で冷媒が吸着され、他方の吸着器で冷媒が脱着されるモードと、当該一方の吸着器で冷媒が脱着され、当該他方の吸着器で冷媒が吸着されるモードと、が交互に切り替えられる。これにより、利用側回路では、熱媒体によって、熱源側回路から熱が連続的に回収される。
【発明の概要】
【発明が解決しようとする課題】
【0003】
吸着式冷凍サイクルを備える冷凍装置の熱源側回路では、吸着熱又は脱着熱が発生する。このような冷凍装置では、発生した吸着熱又は脱着熱をできるだけ多く回収する必要がある。
【課題を解決するための手段】
【0004】
第1観点の冷凍装置は、熱源側回路と、利用側回路と、制御部と、を備える。熱源側回路は、圧縮機と、第1吸着器と、第2吸着器と、切り替え機構と、冷媒が流れる冷媒流路と、を有する。利用側回路は、第1熱媒体が流れる第1熱媒体流路を有する。圧縮機は、低圧冷媒を吸入して圧縮し、高圧冷媒として吐出する。第1吸着器及び第2吸着器は、冷媒の圧力の変化に応じて冷媒を吸着及び脱着する吸着材を有する。第1吸着器及び第2吸着器は、吸着材が冷媒を吸着する際に発生する温熱、及び、吸着材が冷媒を脱着する際に発生する冷熱が回収される。切り替え機構は、冷媒流路を、第1状態と、第2状態と、の間で切り替え可能である。第1状態では、圧縮機の吐出側と第1吸着器とを接続して第1吸着器内を高圧状態にし、かつ、圧縮機の吸入側と第2吸着器とを接続して第2吸着器内を低圧状態にする。第2状態では、圧縮機の吸入側と第1吸着器とを接続して第1吸着器内を低圧状態にし、かつ、圧縮機の吐出側と第2吸着器とを接続して第2吸着器内を高圧状態にする。第1吸着器は、冷媒流路が第1状態である場合に第1熱媒体によって温熱が回収され、冷媒流路が第2状態である場合に第1熱媒体によって冷熱が回収される。第2吸着器は、冷媒流路が第1状態である場合に第1熱媒体によって冷熱が回収され、冷媒流路が第2状態である場合に第1熱媒体によって温熱が回収される。熱源側回路は、第1バイパス流路と、第1弁と、を有する。第1バイパス流路は、圧縮機を通らずに第1吸着器と第2吸着器とを接続する。第1弁は、第1バイパス流路に設けられる。利用側回路は、利用部と、第2バイパス流路と、第2弁と、を有する。利用部は、第1熱媒体の熱を利用する。第2バイパス流路は、利用部をバイパスする。第2弁は、第2バイパス流路に設けられる。制御部は、第1期間の間、第1弁を開ける。制御部は、第1期間の開始より所定期間前の時点に、第1期間の開始と同時に、又は、第1期間の開始から所定期間後の時点に、切り替え機構を制御して第1状態と第2状態とを切り替える。制御部は、第2期間の間、第2弁を閉じる。第1期間は、第2期間と、少なくとも一部が重なっている。
【0005】
第1観点の冷凍装置は、熱源側回路の第1弁を開ける第1期間の開始より所定期間前の時点に、第1期間の開始と同時に、又は、第1期間の開始から所定期間後の時点に、冷媒流路を切り替える。第1期間は、利用側回路の第2弁を閉じる第2期間と重なっている。第1弁を開けることにより、第1吸着器内の冷媒の圧力と、第2吸着器内の冷媒の圧力との差を小さくする。また、第2弁を閉じることにより、温熱又は冷熱を回収して蓄えて後で利用することができる。これにより、第1観点の冷凍装置では、第1弁を開けている第1期間が、第2弁を閉じている第2期間と、少なくとも一部が重なっていることにより、第1期間においても、吸着熱又は脱着熱を十分に回収することができる。
【0006】
第2観点の冷凍装置は、第1観点の冷凍装置であって、制御部は、第1期間の開始と同時に第2期間を開始するか、又は、第1期間中に第2期間を開始する。
【0007】
第3観点の冷凍装置は、第1観点又は第2観点の冷凍装置であって、制御部は、第1期間の終了後、かつ、第1状態と第2状態とを切り替える前に、第2期間を終了する。
【0008】
第4観点の冷凍装置は、第1乃至第3観点のいずれか1つの冷凍装置であって、制御部は、利用部において利用される熱量の目標値が第1熱量である場合に第2期間が開始する時点を、目標値が第1熱量よりも低い第2熱量である場合に第2期間が開始する時点よりも遅くする。
【0009】
第5観点の冷凍装置は、第1乃至第4観点のいずれか1つの冷凍装置であって、制御部は、利用部において利用される熱量の目標値が第3熱量である場合に第2期間が終了する時点を、目標値が第3熱量よりも低い第4熱量である場合に第2期間が終了する時点よりも早くする。
【0010】
第6観点の冷凍装置は、第1乃至第5観点のいずれか1つの冷凍装置であって、利用部は、第1熱媒体流路に設けられる熱交換器を含む。
(【0011】以降は省略されています)
この特許をJ-PlatPat(特許庁公式サイト)で参照する
関連特許
ダイキン工業株式会社
冷凍装置
2日前
ダイキン工業株式会社
冷凍装置
2日前
ダイキン工業株式会社
冷凍装置
2日前
ダイキン工業株式会社
冷凍装置
2日前
ダイキン工業株式会社
冷凍装置
2日前
ダイキン工業株式会社
冷凍装置
2日前
ダイキン工業株式会社
吸着器及び冷凍装置
2日前
ダイキン工業株式会社
正極合剤、正極および二次電池
9日前
ダイキン工業株式会社
圧縮機、および冷凍サイクル装置
15日前
ダイキン工業株式会社
圧縮機、および冷凍サイクル装置
15日前
ダイキン工業株式会社
圧縮機、冷凍装置、及び圧縮機の組立方法
11日前
ダイキン工業株式会社
空調機
18日前
ダイキン工業株式会社
中継装置、およびその中継装置を備えた室外機並びに室内機
5日前
ダイキン工業株式会社
シラン化合物
15日前
ダイキン工業株式会社
エッチングガス
4日前
ダイキン工業株式会社
電力管理装置、電力管理システム、電力管理方法及びプログラム
2日前
ダイキン工業株式会社
デポジションガス
4日前
ダイキン工業株式会社
ノイズ抑制回路、空気調和機
18日前
ダイキン工業株式会社
制御システムおよび冷凍システム
18日前
ダイキン工業株式会社
虫駆除システム、および空気処理装置
18日前
ダイキン工業株式会社
硬化性エポキシ樹脂組成物、硬化物及び硬化物の製造方法
2日前
三星電子株式会社
プラズマエッチング工程を含む半導体素子の製造方法
8日前
ダイキン工業株式会社
高純度フルオロポリマー含有組成物の製造方法および高純度フルオロポリマー含有組成物
8日前
タニコー株式会社
貯水槽
1か月前
株式会社不二工機
膨張弁
10日前
株式会社不二工機
膨張弁
10日前
アクア株式会社
冷蔵庫
1か月前
個人
ヒートポンプ型空気調和機
1か月前
ホシザキ株式会社
製氷機
1か月前
ホシザキ株式会社
冷凍装置
15日前
フクシマガリレイ株式会社
断熱扉
11日前
富士電機株式会社
冷却装置
1か月前
富士電機株式会社
自動販売機
9日前
フクシマガリレイ株式会社
冷却貯蔵庫
4日前
ダイキン工業株式会社
冷凍装置
22日前
富士電機株式会社
冷却システム
1か月前
続きを見る
他の特許を見る