TOP
|
特許
|
意匠
|
商標
特許ウォッチ
Twitter
他の特許を見る
公開番号
2025171110
公報種別
公開特許公報(A)
公開日
2025-11-20
出願番号
2024076111
出願日
2024-05-08
発明の名称
相変化判定システム
出願人
アイ・ティ・イー株式会社
代理人
個人
主分類
F25D
23/00 20060101AFI20251113BHJP(冷凍または冷却;加熱と冷凍との組み合わせシステム;ヒートポンプシステム;氷の製造または貯蔵;気体の液化または固体化)
要約
【課題】相変化の発生を判定可能な相変化判定システムを提供すること。
【解決手段】相変化判定システム1は、蓄冷剤21の温度を取得する温度センサ31と、蓄冷剤21と関連付けて設定される基準温度を記憶するデータベース43と、温度センサ31の取得結果と基準温度とに基づいて蓄冷剤21に相変化が生じたか否かを判定する判定部47と、を備える。基準温度は、蓄冷剤21の凝固点以下の温度に設定される第1基準温度を含み、判定部47は、温度センサ31の取得結果が、第1基準温度以下の温度帯で、上昇に転じたことに基づいて、蓄冷剤21の凝固が開始したと判定する。
【選択図】図1
特許請求の範囲
【請求項1】
対象物において相変化が生じたか否かを判定する判定システムであって、
前記対象物の温度を取得する温度取得部と、
前記対象物と関連付けて設定される基準温度を記憶する記憶部と、
前記温度取得部の取得結果と、前記基準温度と、に基づいて、前記対象物に相変化が生じたか否かを判定する判定部と、
を備え、
前記基準温度は、前記対象物の凝固点以下の温度に設定される第1基準温度を含み、
前記判定部は、前記温度取得部の取得結果が、前記第1基準温度以下の温度帯で、上昇に転じたことに基づいて、前記対象物の凝固が開始したと判定する、相変化判定システム。
続きを表示(約 960 文字)
【請求項2】
前記基準温度は、前記対象物の凝固が完了した時点の当該対象物の温度以下の温度に設定される第2基準温度を含み、
前記判定部は、前記対象物の凝固が開始したと判定した後に、前記温度取得部の取得結果が、前記第2基準温度より大となった後で、前記第2基準温度以下となったことに基づいて、前記対象物の凝固が完了したと判定する、請求項1に記載の相変化判定システム。
【請求項3】
対象物において相変化が生じたか否かを判定する判定システムであって、
前記対象物の温度を取得する温度取得部と、
前記対象物と関連付けて設定される基準温度を記憶する記憶部と、
前記温度取得部の取得結果と、前記基準温度と、に基づいて、前記対象物に相変化が生じたか否かを判定する判定部と、
を備え、
前記基準温度は、前記対象物の凝固点以上の温度に設定される第3基準温度を含み、
前記判定部は、前記温度取得部の取得結果が、前記第3基準温度になったことに基づいて、前記対象物の融解が開始したと判定する、相変化判定システム。
【請求項4】
前記基準温度は、前記第3基準温度より高温に設定される第4基準温度を含み、
前記判定部は、前記温度取得部の取得結果が、前記第3基準温度になった後で、前記第4基準温度になったことに基づいて、前記対象物の融解が完了したと判定する、請求項3に記載の相変化判定システム。
【請求項5】
前記対象物と関連する識別情報を記憶するRFIDタグを備え、
前記RFIDタグは、前記温度取得部から前記温度取得部の取得結果を取得し、前記識別情報と、前記温度取得部の取得結果と、を外部に送信し、
前記記憶部は、前記識別情報と、前記基準温度と、を関連付けて記憶し、
前記判定部は、前記識別情報と、前記温度取得部の取得結果と、前記基準温度と、に基づいて、前記対象物に相変化が生じたか否かを判定する、請求項1~4のいずれか1項に記載の相変化判定システム。
【請求項6】
前記対象物は、保冷用の蓄冷部材に充填される蓄冷剤である、請求項1~4のいずれか1項に記載の相変化判定システム。
発明の詳細な説明
【技術分野】
【0001】
本発明は、相変化判定システムに関する。
続きを表示(約 1,200 文字)
【背景技術】
【0002】
従来、冷蔵又は冷凍して保管する必要がある物品(以下、「被保冷物」という)を保冷するために、蓄冷部材が活用されている。例えば特許文献1の蓄冷部材は、ケースと、当該ケースに充填される液状又はゲル状の蓄冷剤と、を有する。蓄冷部材は、冷凍状態で使用され、蓄冷剤が固体から液体に相変化する際の融解潜熱により、収容空間を保冷する。凝固点(融点)の異なる蓄冷剤を使い分けることで、蓄冷部材により保冷可能な温度帯を調節することができる。
【先行技術文献】
【特許文献】
【0003】
特開2014-219184号公報
【発明の概要】
【発明が解決しようとする課題】
【0004】
しかしながら、上記蓄冷部材は、蓄冷剤の相変化に伴う見た目の変化が小さい等の事情から、蓄冷部材の冷凍が完了した時点、すなわち、蓄冷剤の凝固が完了した時点を判断するのが困難であった。
【0005】
本発明は、相変化の発生を判定可能な相変化判定システムを提供することを目的とする。
【課題を解決するための手段】
【0006】
本発明は、対象物において相変化が生じたか否かを判定する判定システムであって、前記対象物の温度を取得する温度取得部と、前記対象物と関連付けて設定される基準温度を記憶する記憶部と、前記温度取得部の取得結果と、前記基準温度と、に基づいて、前記対象物に相変化が生じたか否かを判定する判定部と、を備え、前記基準温度は、前記対象物の凝固点以下の温度に設定される第1基準温度を含み、前記判定部は、前記温度取得部の取得結果が、前記第1基準温度以下の温度帯で、上昇に転じたことに基づいて、前記対象物の凝固が開始したと判定する、相変化判定システムに関する。
【発明の効果】
【0007】
本発明によれば、相変化の発生を判定可能な相変化判定システムを提供することができる。
【図面の簡単な説明】
【0008】
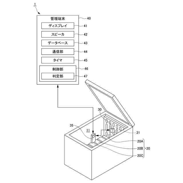
実施形態に係る相変化判定システム1の全体構成を示す概略図である。
蓄冷プレート20Aに係る冷却試験の結果を示す図である。
蓄冷プレート20Bに係る冷却試験の結果を示す図である。
蓄冷プレート20Cに係る冷却試験の結果を示す図である。
相変化判定処理の流れを示すフローチャートである。
別例に係るフリーザ60内に冷菓70を収容した状態を示す図である。
【発明を実施するための形態】
【0009】
以下、本発明の実施形態について図面を参照しつつ説明する。
【0010】
本実施形態に係る相変化判定システム1は、蓄冷剤21が充填された蓄冷プレート20を冷却するに際して、蓄冷剤21(対象物に相当する)の相変化を判定する。
(【0011】以降は省略されています)
この特許をJ-PlatPat(特許庁公式サイト)で参照する
関連特許
株式会社不二工機
膨張弁
1か月前
株式会社不二工機
膨張弁
1か月前
アクア株式会社
冷蔵庫
2日前
アクア株式会社
冷蔵庫
2日前
個人
ヒートポンプ型空気調和機
2か月前
ホシザキ株式会社
製氷機
1か月前
フクシマガリレイ株式会社
断熱扉
1か月前
ホシザキ株式会社
冷凍装置
1か月前
富士電機株式会社
冷却装置
1か月前
富士電機株式会社
自動販売機
1か月前
フクシマガリレイ株式会社
冷却貯蔵庫
25日前
富士ベンダーサービス株式会社
保管庫
2か月前
ダイキン工業株式会社
冷凍装置
1か月前
フクシマガリレイ株式会社
冷却貯蔵庫
1か月前
株式会社ゼロカラ
冷凍装置
10日前
フクシマガリレイ株式会社
ショーケース
1か月前
三菱重工冷熱株式会社
低温冷水供給装置
2か月前
株式会社ゼロカラ
冷凍装置
10日前
アクア株式会社
冷蔵庫
1か月前
株式会社フィラディス
ワインセラー
2日前
ダイキン工業株式会社
冷媒充填方法
1か月前
シャープ株式会社
冷蔵庫
2か月前
フクシマガリレイ株式会社
商品販売システム
1か月前
アイ・ティ・イー株式会社
相変化判定システム
2日前
三菱電機株式会社
冷蔵庫
2日前
株式会社アイシン
冷暖房システム
1か月前
アクア株式会社
冷却ボックス装置
15日前
アクア株式会社
冷却ボックス装置
15日前
島田工業株式会社
製氷装置及び製氷方法
1か月前
株式会社オカムラ
故障予知システム
1か月前
株式会社富士通ゼネラル
冷凍サイクル装置
1か月前
株式会社富士通ゼネラル
冷凍サイクル装置
1か月前
株式会社富士通ゼネラル
冷凍サイクル装置
1か月前
株式会社前川製作所
冷却装置
1か月前
東芝ライフスタイル株式会社
冷却装置
1か月前
日本碍子株式会社
空調システム
1か月前
続きを見る
他の特許を見る