TOP
|
特許
|
意匠
|
商標
特許ウォッチ
Twitter
他の特許を見る
公開番号
2025167811
公報種別
公開特許公報(A)
公開日
2025-11-07
出願番号
2024072739
出願日
2024-04-26
発明の名称
冷却ボックス装置
出願人
アクア株式会社
代理人
個人
,
個人
,
個人
主分類
F25D
15/00 20060101AFI20251030BHJP(冷凍または冷却;加熱と冷凍との組み合わせシステム;ヒートポンプシステム;氷の製造または貯蔵;気体の液化または固体化)
要約
【課題】冷却箱を冷却する冷気に代えて、水や氷を用いることが出来、冷却箱の内部の冷却室に入れた果物等が乾燥することを抑えることが可能な、冷却ボックス装置を提供すること。
【解決手段】被冷却物を収容する冷却室301を有する冷却箱1と、冷却箱1に対して着脱可能であり、冷却室301を冷却する冷却機6と、を備え、冷却箱1は、内箱30と外箱10とを有する二重箱構造により構成され、冷却機6は、内箱30と外箱10との間の空間101に、冷却された流体を流通させることにより冷却室301を冷却する冷却ボックス装置である。
【選択図】図2
特許請求の範囲
【請求項1】
被冷却物を収容する冷却室を有する冷却箱と、
前記冷却箱に対して着脱可能であり、前記冷却室を冷却する冷却機と、を備え、
前記冷却箱は、内箱と外箱とを有する二重箱構造により構成され、
前記冷却機は、前記内箱と前記外箱との間の空間に、冷却された流体を流通させることにより前記冷却室を冷却する冷却ボックス装置。
続きを表示(約 800 文字)
【請求項2】
前記冷却機は、前記流体を前記冷却機から前記冷却箱へと流出させる流出口と、前記流体を前記冷却箱から前記冷却機へと流入させる流入口と、を有し、前記冷却箱に連結される1つの連結部を有する請求項1に記載の冷却ボックス装置。
【請求項3】
前記連結部は、前記外箱に形成された凹部に係合する、前記冷却機の外面から突出する凸部により構成される請求項2に記載の冷却ボックス装置。
【請求項4】
前記凹部には、前記流体を前記冷却機から前記冷却箱へと導入する導入口と、前記流体を前記冷却箱から前記冷却機へと排出する排出口と、が形成され、
前記凹部における前記導入口と前記排出口との間に、前記導入口と前記排出口との間で前記流体が流通することを阻止する凹部仕切部材が設けられている請求項3に記載の冷却ボックス装置。
【請求項5】
前記空間には、前記導入口側の空間の部分と前記排出口側の空間の部分とを仕切る空間仕切部材が配置される請求項4に記載の冷却ボックス装置。
【請求項6】
前記排出口は、前記導入口に対して上下方向における上側に位置している請求項4に記載の冷却ボックス装置。
【請求項7】
前記空間には、前記空間を流れる流体の向きを変える保冷剤が配置される請求項1に記載の冷却ボックス装置。
【請求項8】
前記保冷剤は、前記冷却箱に対して着脱可能である請求項7に記載の冷却ボックス装置。
【請求項9】
前記保冷剤は、前記外箱に対して着脱可能に固定されて設けられている請求項8に記載の冷却ボックス装置。
【請求項10】
前記保冷剤の温度を、前記冷却機において検知可能な温度検知装置を備える請求項7に記載の冷却ボックス装置。
(【請求項11】以降は省略されています)
発明の詳細な説明
【技術分野】
【0001】
本開示は、冷却ボックス装置に関する。
続きを表示(約 1,300 文字)
【背景技術】
【0002】
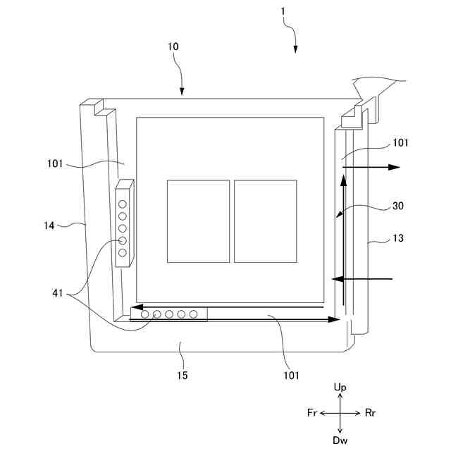
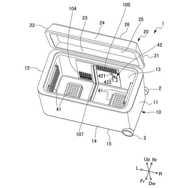
冷却箱である保冷ボックスに、冷却機である冷却装置が接続されて、冷却箱の内部が冷却される構成の冷却ボックス装置が知られている(例えば特許文献1等参照)。
【先行技術文献】
【特許文献】
【0003】
特開2021-11989号公報
【発明の概要】
【発明が解決しようとする課題】
【0004】
上述の特許文献1に記載の従来の冷却ボックス装置では、冷却箱の内部の冷却室へ、冷却機から冷却された空気である冷気を、冷却箱の導入穴としての貫通孔を通して供給する。このため、冷却室があらかじめ冷却されていない場合には、冷気の代替手段として水や氷を用いることが出来れば、すぐに冷却することができるのであるが、冷気に代えて水や氷を用いることが出来ない。また、冷却箱の内部の冷却室に、果物等を入れると乾燥する。
【0005】
本開示は、冷却箱を冷却する冷気に代えて、水や氷を用いることが出来、冷却箱の内部の冷却室に入れた果物等が乾燥することを抑えることが可能な、冷却ボックス装置を提供することを目的とする。
【課題を解決するための手段】
【0006】
(1)本開示は、被冷却物を収容する冷却室を有する冷却箱と、前記冷却箱に対して着脱可能であり、前記冷却室を冷却する冷却機と、を備え、前記冷却箱は、内箱と外箱とを有する二重箱構造により構成され、前記冷却機は、前記内箱と前記外箱との間の空間に、冷却された流体を流通させることにより前記冷却室を冷却する冷却ボックス装置に関する。
【0007】
(1)の冷却ボックス装置によれば、冷却ボックス装置を持ち運ぶ際には、実際に使用する際に不必要で重量があり、かつ内容積を圧迫する冷却機を運ばなくて済む。このため、1つの重い装置を持ち運びすることを回避することができ、持ち運びやすくすることが可能となる。
【0008】
また、冷却機を備えていない冷却ボックスでは、保冷剤により冷却を行うことになるため保冷剤の量が多くなり、冷却箱の冷却室が多量の保冷剤により占められてしまい、内容積が少なくなる。しかし、本開示の冷却ボックス装置では、冷却の必要があるときには、冷却箱と冷却機とを接続して冷却室内を冷却することができので、多量の保冷剤により冷却室が占有されてしまうことを回避することが可能となる。
【0009】
また、外箱と内箱との間の空間には冷気に代えて、流体としての冷水や、氷を入れることも可能となる。この構成により、冷水や氷を入れることにより急冷が出来、冷却機なしでも保冷が出来る。また、冷却室の内部の乾燥を防ぐことが可能となる。
【0010】
(2)前記冷却機は、前記流体を前記冷却機から前記冷却箱へと流出させる流出口と、前記流体を前記冷却箱から前記冷却機へと流入させる流入口と、を有し、前記冷却箱に連結される1つの連結部を有する(1)に記載の冷却ボックス装置。
(【0011】以降は省略されています)
この特許をJ-PlatPat(特許庁公式サイト)で参照する
関連特許
アクア株式会社
冷蔵庫
11日前
アクア株式会社
冷蔵庫
11日前
アクア株式会社
冷却ボックス装置
24日前
アクア株式会社
冷却ボックス装置
24日前
アクア株式会社
冷蔵庫およびその製造方法
3日前
日本アクア株式会社
スパウト及びスパウト付き容器
1か月前
アクア株式会社
冷蔵庫用マグネットパッキン、冷蔵庫扉および冷蔵庫
1か月前
青島海爾洗衣机有限公司
洗濯機
1か月前
青島海爾洗衣机有限公司
洗濯機
1か月前
青島海爾洗衣机有限公司
洗濯機
3日前
青島海爾洗衣机有限公司
洗濯機
3日前
青島海爾洗衣机有限公司
ドラム式洗濯機
26日前
青島海爾洗衣机有限公司
ランドリー機器
1か月前
青島海爾洗衣机有限公司
ドラム式洗濯機
26日前
青島海爾洗衣机有限公司
乾燥機および洗濯機
11日前
青島海爾洗衣机有限公司
排水フィルタ及び洗濯機
1か月前
青島海爾洗衣机有限公司
排水フィルタ及び洗濯機
1か月前
個人
製氷容器
3日前
株式会社不二工機
膨張弁
1か月前
株式会社不二工機
膨張弁
1か月前
アクア株式会社
冷蔵庫
11日前
アクア株式会社
冷蔵庫
11日前
個人
ヒートポンプ型空気調和機
2か月前
ホシザキ株式会社
製氷機
2か月前
富士電機株式会社
冷却装置
3日前
富士電機株式会社
冷却装置
2か月前
ホシザキ株式会社
冷凍装置
1か月前
フクシマガリレイ株式会社
断熱扉
1か月前
富士電機株式会社
自動販売機
1か月前
フクシマガリレイ株式会社
冷却貯蔵庫
1か月前
フクシマガリレイ株式会社
冷却貯蔵庫
1か月前
ダイキン工業株式会社
冷凍装置
1か月前
富士ベンダーサービス株式会社
保管庫
2か月前
フクシマガリレイ株式会社
ショーケース
1か月前
三菱重工冷熱株式会社
低温冷水供給装置
2か月前
株式会社ゼロカラ
冷凍装置
19日前
続きを見る
他の特許を見る