TOP
|
特許
|
意匠
|
商標
特許ウォッチ
Twitter
他の特許を見る
公開番号
2025158796
公報種別
公開特許公報(A)
公開日
2025-10-17
出願番号
2024061677
出願日
2024-04-05
発明の名称
冷凍装置
出願人
ホシザキ株式会社
代理人
個人
,
個人
主分類
F25B
39/04 20060101AFI20251009BHJP(冷凍または冷却;加熱と冷凍との組み合わせシステム;ヒートポンプシステム;氷の製造または貯蔵;気体の液化または固体化)
要約
【課題】凝縮能力を調整することが可能な空冷式凝縮器を備えた冷凍装置を提供する。
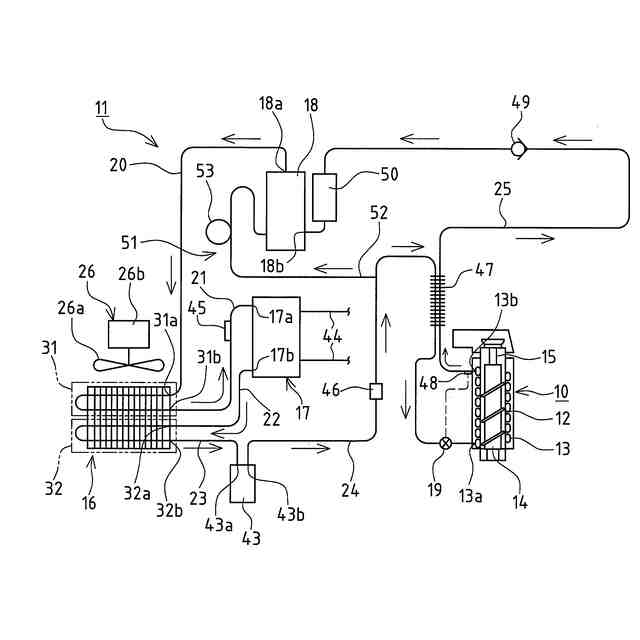
【解決手段】空冷式凝縮器16と水冷式凝縮器17とを併用する空水冷冷凍装置11の空冷式凝縮器16は、冷媒が流通する流路がマイクロチャンネル構造で、相互に接続可能に分割された第1凝縮部31および第2凝縮部32を備える。空冷式凝縮器16の凝縮能力は、空冷式凝縮器のみを用いる空冷冷凍装置に要求される値に設計されている。空水冷冷凍装置11では、空冷式凝縮器16の第1凝縮部31を、水冷式凝縮器17の上流側に接続すると共に、該水冷式凝縮器17の下流側に空冷式凝縮器16の第2凝縮部32を接続する。
【選択図】図1
特許請求の範囲
【請求項1】
空冷式凝縮器(16,54)を備えた冷凍装置であって、
前記空冷式凝縮器(16,54)は、一対のヘッダ(27,28)間に、冷媒が流通可能でマイクロチャンネル構造の凝縮経路が設けられ、
前記凝縮経路は、相互に接続可能な複数の凝縮部(31,32,55,56,57)に分割され、
前記各凝縮部(31,32,55,56,57)に対応して冷媒が流入する入口(31a,32a,55a,56a,57a)および流出する出口(31b,32b,55b,56b,57b)が設けられ、
冷媒の流通方向の上流側の凝縮部(31,55,56)の出口(31b,55b,56b)と、下流側の凝縮部(32,56,57)の入口(32a,56a,57a)とを接続することで、任意数の凝縮部(31,32,55,56,57)を接続可能な空冷式凝縮器(16,54)により冷凍回路を構成した
ことを特徴とする冷凍装置。
続きを表示(約 760 文字)
【請求項2】
水冷式凝縮器(17)を備え、
前記水冷式凝縮器(17)に対する冷媒の流通方向の前後に、前記空冷式凝縮器(16,54)の凝縮部(31,32,55,56,57)を分けて直列に接続して冷凍回路を構成した請求項1記載の冷凍装置。
【請求項3】
水冷式凝縮器(17)を備え、
前記空冷式凝縮器(16,54)における凝縮部(31,32,55,56,57)の少なくとも一つを、前記水冷式凝縮器(17)に対する冷媒の流通方向の上流側に直列に接続すると共に、該水冷式凝縮器(17)から流出する冷媒を冷凍回路の蒸発器(13)に供給するよう構成した請求項1記載の冷凍装置。
【請求項4】
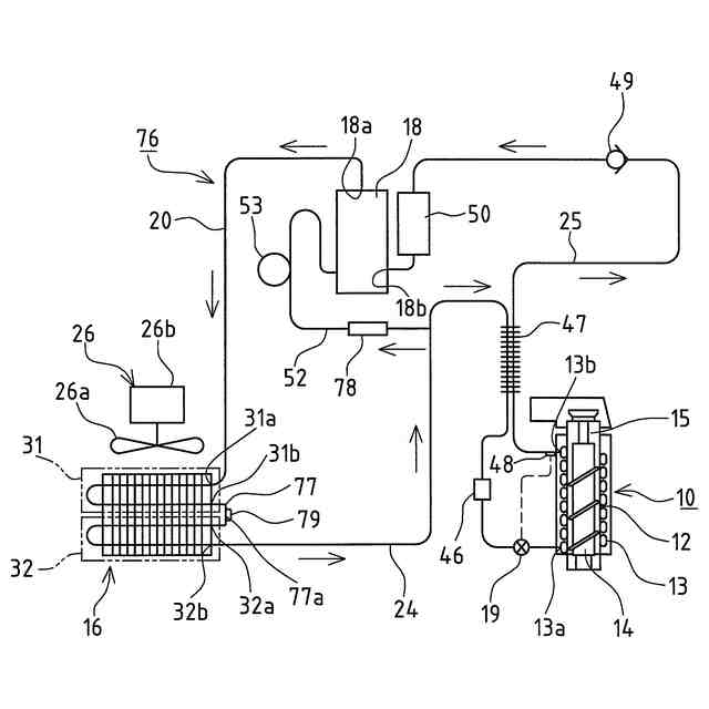
前記空冷式凝縮器(16)は、前記複数の凝縮部(31,32,55,56,57)を直列に接続する接続部(77)に、冷媒温度を検出する検出手段(79)が設けられると共に、冷媒の流通方向で最後の凝縮部(32,57)から流出する冷媒を冷凍回路の蒸発器(13)に供給するよう構成され、
前記検出手段(79)の検出温度が上限温度以上の場合に、前記冷凍回路の圧縮機(18)の運転を停止するよう構成した請求項1記載の冷凍装置。
【請求項5】
前記空冷式凝縮器(16,54)を空冷する空冷ファン(26)を備え、
前記検出手段(79)の検出温度が下限温度以下の場合に、前記空冷ファン(26)の回転数を低下させるよう構成した請求項4記載の冷凍装置。
【請求項6】
前記複数の凝縮部(55,56,57)を直列に接続する場合に、冷媒の流通方向で最後から2番目の凝縮部(56)と、最後の凝縮部(57)との間に受液器(70)を設けた請求項1~5の何れか一項に記載の冷凍装置。
発明の詳細な説明
【技術分野】
【0001】
この発明は、空冷式凝縮器を備える冷凍装置に関するものである。
続きを表示(約 2,500 文字)
【背景技術】
【0002】
多量の氷塊を製造し得る製氷機が、喫茶店やレストラン等の施設その他の厨房において好適に使用されている。製氷機としては、縦または斜めに配置した製氷板に製氷水を流下させて氷結させる流下式や、製氷室の下方に傾動自在に配置した水皿で製氷室を下から閉塞して該製氷室に水を噴射供給して氷結させる噴射式や、冷凍シリンダ中で氷結させた氷を、回転するオーガで削り取るオーガ式等の各種方式の製氷機が存在する。製氷機では、製氷板、製氷室または冷凍シリンダ等の製氷部に配設した蒸発管を含む冷凍装置は、圧縮機により圧縮された冷媒ガスが、凝縮器を通って凝縮され、更に膨張手段を通って膨張した後に蒸発管を通って蒸発して圧縮機に戻るように循環することで、製氷部を冷却するよう構成される。
【0003】
前記冷凍装置として、空気によって冷却される空冷式凝縮器を用いる空冷冷凍装置(例えば、特許文献1参照)や、空冷式凝縮器の排熱を低減させると共に、凝縮過程の効率を上げることを目的として、空冷式凝縮器に、水冷式凝縮器を直列に接続する回路構成とした空水冷冷凍装置も存在している(例えば、特許文献2参照)。
【先行技術文献】
【特許文献】
【0004】
特開2016-223729号公報
特開2004-53168号公報
【発明の概要】
【発明が解決しようとする課題】
【0005】
前記空冷冷凍装置に用いられる空冷式凝縮器は、製氷機における高負荷運転時に必要となる凝縮能力(放熱能力)を満たせる大きさの仕様に設計されている。このため、空冷冷凍装置の空冷式凝縮器を、水冷式凝縮器と併用する空水冷冷凍装置に用いようとすると、空冷式凝縮器の凝縮能力が大きいため、両凝縮器の全体での凝縮能力が、製氷機で要求される凝縮能力に見合う適正な値とならず、過剰設備となってしまう。そのため、空冷冷凍装置および空水冷冷凍装置を製作する場合は、夫々の冷凍装置に適した凝縮能力が得られるように設計した空冷式凝縮器を個別に製作する必要があり、製作コストが嵩む難点が指摘される。
【0006】
また、前記空水冷冷凍装置では、周囲温度や冷却水の温度などの温度条件によって、空冷式凝縮器と水冷式凝縮器の熱交換量の分担率が大きく変化する。このため、空冷式凝縮器→水冷式凝縮器の順で冷媒を流す回路、あるいはその逆の順で冷媒を流す回路とする構成では、温度条件によって必要な冷媒量が大きく変化する。例えば、空冷式凝縮器→水冷式凝縮器の順で冷媒を流す回路において、周囲温度が高く空冷式凝縮器での放熱量が少ない場合、空冷式凝縮器では冷媒がほとんど液化せずに気体冷媒で満たされるので、必要な冷媒量は少なくなる。一方、同じ回路でも、周囲温度が低く空冷式凝縮器で冷媒がほぼ完全に液化する場合、水冷式凝縮器内は液冷媒で満たされることになるので、必要な冷媒量は多くなる。このような回路では、必要冷媒量の変動を吸収するため、水冷式凝縮器の下流に設けたレシーバタンク(受液器)の容量を大きくする必要や、回路の充填冷媒量を増やす必要が生じ、コストが嵩む難点が指摘される。
【0007】
本発明は、前述した従来技術に内在する前記課題に鑑み、これを好適に解決するべく提案されたものであって、凝縮能力を変更したり、水冷式凝縮器の有無に対応可能な空冷式凝縮器を備えた冷凍装置を提供することを目的とする。
【課題を解決するための手段】
【0008】
前記課題を克服し、所期の目的を達成するため、第1の手段は、
空冷式凝縮器を備えた冷凍装置であって、
前記空冷式凝縮器は、一対のヘッダ間に、冷媒が流通可能でマイクロチャンネル構造の凝縮経路が設けられ、
前記凝縮経路は、相互に接続可能な複数の凝縮部に分割され、
前記各凝縮部に対応して冷媒が流入する入口および流出する出口が設けられ、
冷媒の流通方向の上流側の凝縮部の出口と、下流側の凝縮部の入口とを接続することで、任意数の凝縮部を接続可能な空冷式凝縮器により冷凍回路を構成したことを要旨とする。
この構成によれば、分割された複数の凝縮部の接続数(接続形態)を変えることで、凝縮能力を調整することができるので、適正な凝縮能力で冷凍回路を構成することができる。すなわち、空冷式凝縮器のみを用いる冷凍回路と、空冷式凝縮器および水冷式凝縮器を併用する冷凍回路とで、共通の空冷式凝縮器を用いて適正な凝縮能力を得ることができ、機種毎に要求される異なる凝縮能力に応じた空冷式凝縮器を設計・製作する必要はなく、製作コストを低減することができる。また、マイクロチャンネル構造の空冷式凝縮器を用いることで、各凝縮部で冷媒を効率的に凝縮することができ、空冷式凝縮器の小型化を図ることができる。
【0009】
第2の手段は、水冷式凝縮器を備え、
前記水冷式凝縮器に対する冷媒の流通方向の前後に、前記空冷式凝縮器の凝縮部を分けて直列に接続して冷凍回路を構成したことを要旨とする。
この構成によれば、水冷式凝縮器の前後において空冷式凝縮器の凝縮部で冷媒を凝縮する冷凍回路とすれば、周囲温度の変化による必要冷媒量の変動を小さくすることができるので、充填冷媒量を少なくし得ると共に、レシーバタンクを小型化することができ、製造コストを低減できる。
【0010】
第3の手段は、水冷式凝縮器を備え、
前記空冷式凝縮器における凝縮部の少なくとも一つを、前記水冷式凝縮器に対する冷媒の流通方向の上流側に直列に接続すると共に、該水冷式凝縮器から流出する冷媒を冷凍回路の蒸発器に供給するよう構成したことを要旨とする。
この構成によれば、冷凍回路に要求される凝縮能力で設計・製作された空冷式凝縮器における凝縮部の一部を用いて、空冷式凝縮器および水冷式凝縮器を併用する冷凍回路を過剰設備となることなく構成することができる。
(【0011】以降は省略されています)
この特許をJ-PlatPat(特許庁公式サイト)で参照する
関連特許
ホシザキ株式会社
洗浄機
1か月前
ホシザキ株式会社
洗浄機
1か月前
ホシザキ株式会社
製氷機
2か月前
ホシザキ株式会社
冷凍装置
1か月前
ホシザキ株式会社
再加熱器
2か月前
ホシザキ株式会社
冷却貯蔵庫
2か月前
ホシザキ株式会社
冷却貯蔵庫
2か月前
ホシザキ株式会社
飲料冷却装置
17日前
ホシザキ株式会社
天板付き機器
2か月前
ホシザキ株式会社
製氷器、及びその製造方法
4日前
個人
製氷容器
9日前
株式会社不二工機
膨張弁
1か月前
株式会社不二工機
膨張弁
1か月前
アクア株式会社
冷蔵庫
17日前
アクア株式会社
冷蔵庫
17日前
富士電機株式会社
冷却装置
2か月前
フクシマガリレイ株式会社
断熱扉
1か月前
ホシザキ株式会社
冷凍装置
1か月前
富士電機株式会社
冷却装置
9日前
富士電機株式会社
自動販売機
1か月前
フクシマガリレイ株式会社
冷却貯蔵庫
1か月前
ダイキン工業株式会社
冷凍装置
1か月前
フクシマガリレイ株式会社
冷却貯蔵庫
1か月前
株式会社ゼロカラ
冷凍装置
25日前
株式会社ゼロカラ
冷凍装置
25日前
フクシマガリレイ株式会社
ショーケース
2か月前
株式会社フィラディス
ワインセラー
17日前
株式会社フィラディス
ワインセラー
2日前
アクア株式会社
冷蔵庫
2か月前
ダイキン工業株式会社
冷媒充填方法
1か月前
フクシマガリレイ株式会社
商品販売システム
1か月前
FrostiX株式会社
冷凍システム
10日前
株式会社アイシン
冷暖房システム
2か月前
島田工業株式会社
製氷装置及び製氷方法
2か月前
アクア株式会社
冷却ボックス装置
1か月前
三菱電機株式会社
冷蔵庫
17日前
続きを見る
他の特許を見る