TOP
|
特許
|
意匠
|
商標
特許ウォッチ
Twitter
他の特許を見る
公開番号
2025145792
公報種別
公開特許公報(A)
公開日
2025-10-03
出願番号
2024046176
出願日
2024-03-22
発明の名称
冷暖房システム
出願人
株式会社アイシン
代理人
弁理士法人R&C
主分類
F25B
40/00 20060101AFI20250926BHJP(冷凍または冷却;加熱と冷凍との組み合わせシステム;ヒートポンプシステム;氷の製造または貯蔵;気体の液化または固体化)
要約
【課題】圧縮機の耐久性を高めることが可能な冷暖房システムを提供する。
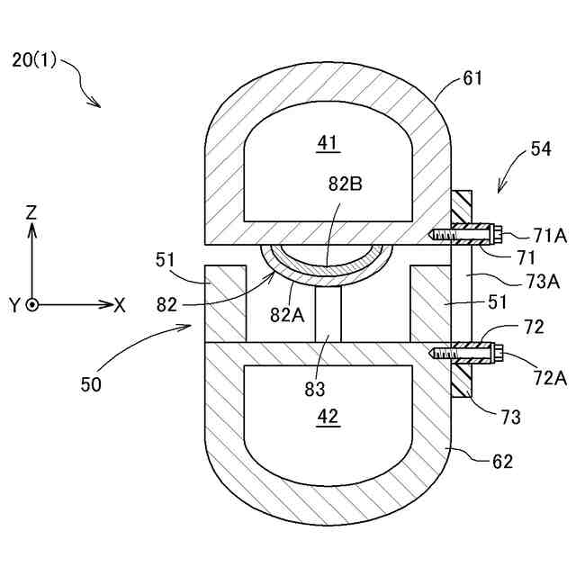
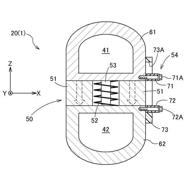
【解決手段】冷暖房システム1は、流体を圧縮する圧縮機と、圧縮機により圧縮された流体を凝縮させる凝縮器と、凝縮器により凝縮された流体を膨張させる膨張弁と、膨張弁において膨張した流体を蒸発させ、圧縮機に送出する蒸発器と、凝縮器から送出された流体が流通する第1流路41と蒸発器から送出された流体が流通する第2流路42とを有し、第1流路41を流通する流体と第2流路42を流通する流体とで熱交換を行う熱交換器20と、を備え、熱交換器20は、第1流路41を流通する流体の温度に応じて、第1流路41と第2流路42とを互いに近接離間させる近接離間機構50を有する。
【選択図】図2
特許請求の範囲
【請求項1】
流体を圧縮する圧縮機と、
前記圧縮機により圧縮された前記流体を凝縮させる凝縮器と、
前記凝縮器により凝縮された前記流体を膨張させる膨張弁と、
前記膨張弁において膨張した前記流体を蒸発させ、前記圧縮機に送出する蒸発器と、
前記凝縮器から送出された前記流体が流通する第1流路と前記蒸発器から送出された前記流体が流通する第2流路とを有し、前記第1流路を流通する前記流体と前記第2流路を流通する前記流体とで熱交換を行う熱交換器と、を備え、
前記熱交換器は、前記第1流路を流通する前記流体の温度に応じて、前記第1流路と前記第2流路とを互いに近接離間させる近接離間機構を有する冷暖房システム。
続きを表示(約 390 文字)
【請求項2】
前記近接離間機構は、前記第1流路を含む第1ハウジングと前記第2流路を含む第2ハウジングとの間に、前記第1流路を流通する前記流体の温度に応じて延伸する形状記憶合金を含んでいる請求項1に記載の冷暖房システム。
【請求項3】
前記近接離間機構は、前記第1流路を含む第1ハウジングと前記第2流路を含む第2ハウジングとの間に、前記第1流路を流通する前記流体の温度に応じて変形量が変わるバイメタルを含んでいる請求項1に記載の冷暖房システム。
【請求項4】
前記近接離間機構は、前記第1ハウジングと前記第2ハウジングとの間に設けられる伝熱ブロックと、当該伝熱ブロックの熱伝導率よりも低い熱伝導率の材料で構成され、前記第1ハウジングと前記第2ハウジングとの相対移動を案内するガイド部とを含んでいる請求項2又は3に記載の冷暖房システム。
発明の詳細な説明
【技術分野】
【0001】
本発明は、冷暖房を行う冷暖房システムに関する。
続きを表示(約 1,800 文字)
【背景技術】
【0002】
上記冷暖房システムの一例として、例えば特許文献1に記載される車両用空調装置がある。この車両用空調装置は、圧縮機と、圧縮機で圧縮された冷媒を凝縮する凝縮器と、凝縮器で凝縮された冷媒を減圧する膨張弁と、減圧された冷媒を蒸発させる蒸発器と、高温側冷媒通路および低温側冷媒通路を有し、凝縮器から流出して高温側冷媒通路を流通する高温高圧の冷媒と蒸発器から流出して低温側冷媒通路を流通する低温低圧の冷媒とを熱交換させる二重管式熱交換器とを備えている。
【先行技術文献】
【特許文献】
【0003】
特開2005-22601号公報
【発明の概要】
【発明が解決しようとする課題】
【0004】
特許文献1に記載の車両空調装置は、凝縮器から流出して高温側冷媒通路を流通する高温高圧の冷媒から、蒸発器から流出して低温側冷媒通路を流通する低温低圧の冷媒へ移動する熱量が想定よりも大きい場合、圧縮機に導入される冷媒の温度が上昇する。これにより、圧縮機の温度が上昇して圧縮機内の潤滑油が劣化し、圧縮機の寿命が低下する可能性がある。
【0005】
そこで、圧縮機の耐久性を高めることが可能な冷暖房システムが求められる。
【課題を解決するための手段】
【0006】
本発明に係る冷暖房システムの特徴構成は、流体を圧縮する圧縮機と、前記圧縮機により圧縮された前記流体を凝縮させる凝縮器と、前記凝縮器により凝縮された前記流体を膨張させる膨張弁と、前記膨張弁において膨張した前記流体を蒸発させ、前記圧縮機に送出する蒸発器と、前記凝縮器から送出された前記流体が流通する第1流路と前記蒸発器から送出された前記流体が流通する第2流路とを有し、前記第1流路を流通する前記流体と前記第2流路を流通する前記流体とで熱交換を行う熱交換器と、を備え、前記熱交換器は、前記第1流路を流通する前記流体の温度に応じて、前記第1流路と前記第2流路とを互いに近接離間させる近接離間機構を有する点にある。
【0007】
このような特徴構成とすれば、近接離間機構が第1流路と第2流路とを近接させた場合は、第1流路を流通する流体と第2流路を流通する流体との間の熱交換が促進され、冷暖房システムにおける運転効率を高めることができる。一方、近接離間機構が第1流路と第2流路とを離間させた場合は、第1流路を流通する流体と第2流路を流通する流体との間の熱交換が抑制され、圧縮機に導入される流体の温度が高くなり過ぎることを防止できる。したがって、圧縮機内の過度な温度上昇を防止できるので、圧縮機内の潤滑油を劣化し難くすることが可能となる。このように、圧縮機の耐久性を高めることが可能な冷暖房システムとなっている。
【図面の簡単な説明】
【0008】
冷暖房システムの回路構成図である。
熱交換器の断面図である。
熱交換器の断面図である。
別実施形態の熱交換器を示す図である。
別実施形態の熱交換器を示す図である。
【発明を実施するための形態】
【0009】
本発明に係る冷暖房システムは、冷暖房を行うことができるように構成される。以下、本実施形態の冷暖房システム1について説明する。ただし、冷暖房システムは、以下の実施形態に限定されることなく、その要旨を逸脱しない範囲内で種々の変形が可能である。
【0010】
図1は、冷暖房システム1の回路構成を示した図である。冷暖房システム1は、車両に搭載され、図1に示されるように、冷媒モジュールB、冷却液モジュールC、及びHVAC(Heating, Ventilation, and Air Conditioning)ユニットDを備えている。冷媒モジュールBには冷媒路B1が設けられ、冷媒マニホールドとして構成されている。また、冷却液モジュールCには冷却液流路C1が設けられ、冷却液マニホールドとして構成されている。ここで、マニホールドは冷却液流路C1や冷媒路B1が切削または鋳造されたハウジング本体にプレート部材を積層して封止した流路ハウジングである。流路ハウジングはアルミニウムを含む熱伝導率の高い金属材料で形成されている。
(【0011】以降は省略されています)
この特許をJ-PlatPat(特許庁公式サイト)で参照する
関連特許
株式会社アイシン
車両
8日前
株式会社アイシン
車両
8日前
株式会社アイシン
熱交換器
8日前
株式会社アイシン
熱交換器
8日前
株式会社アイシン
キックセンサ
21日前
株式会社アイシン
電力変換装置
21日前
株式会社アイシン
操作検出装置
2日前
株式会社アイシン
動力変換装置
8日前
株式会社アイシン
ヒートシンク
21日前
株式会社アイシン
ドアロック装置
1か月前
株式会社アイシン
冷却モジュール
21日前
株式会社アイシン
車両用駆動装置
21日前
株式会社アイシン
車両用駆動装置
23日前
株式会社アイシン
車両用ドア装置
21日前
株式会社アイシン
車両用駆動装置
8日前
株式会社アイシン
回転角検出装置
8日前
株式会社アイシン
位置姿勢取得装置
1日前
株式会社アイシン
車両用駆動伝達装置
8日前
株式会社アイシン
複合歯車の製造方法
今日
株式会社アイシン
車両用駆動伝達装置
23日前
株式会社アイシン
車両用駆動伝達装置
24日前
株式会社アイシン
静電容量センサシステム
22日前
株式会社アイシン
二酸化炭素回収システム
1日前
株式会社アイシン
車両用のドアロック装置
21日前
株式会社アイシン
ペロブスカイト太陽電池
22日前
株式会社アイシン
ペロブスカイト太陽電池の製造方法
9日前
株式会社アイシン
バルブ制御装置及びバルブ制御方法
24日前
株式会社アイシン
バルブ装置の学習装置及び学習方法
24日前
株式会社アイシン
ペロブスカイト太陽電池及びカーボン液
今日
株式会社アイシン
車両用制御装置及び車両用制御プログラム
1日前
株式会社豊田中央研究所
非接触給電可能な回転電機
1か月前
株式会社アイシン
水性エマルジョン系制振塗料組成物及びその硬化塗膜
21日前
株式会社アイシン
ホール輸送材料およびホール輸送材料を用いた太陽電池
29日前
株式会社アイシン
ホール輸送材料およびホール輸送材料を用いた太陽電池
1か月前
株式会社アイシン
ペロブスカイト太陽電池及びペロブスカイト太陽電池の製造方法
1か月前
トヨタ自動車株式会社
計数装置、計数方法及び計数用コンピュータプログラム
今日
続きを見る
他の特許を見る