TOP
|
特許
|
意匠
|
商標
特許ウォッチ
Twitter
他の特許を見る
公開番号
2025156795
公報種別
公開特許公報(A)
公開日
2025-10-15
出願番号
2024059466
出願日
2024-04-02
発明の名称
商品販売システム
出願人
フクシマガリレイ株式会社
代理人
個人
主分類
F25D
23/00 20060101AFI20251007BHJP(冷凍または冷却;加熱と冷凍との組み合わせシステム;ヒートポンプシステム;氷の製造または貯蔵;気体の液化または固体化)
要約
【課題】冷却手段を備えるロッカーと、当該ロッカーの管理制御を担う管理装置とを含む商品販売システムにおいて、より多くの顧客に商品を販売するとともに、商品の引き渡しまでに鮮度が下がることを防ぐ。
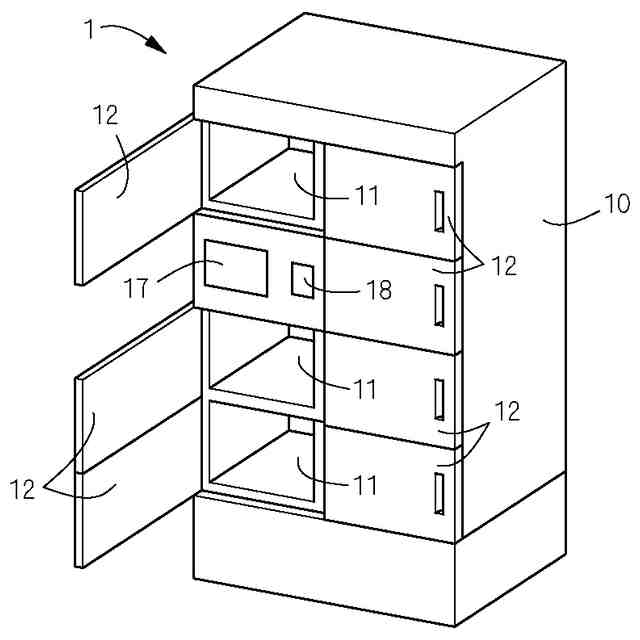
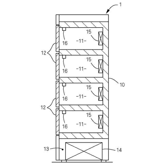
【解決手段】本発明の商品販売システムは、ロッカー1の収納室11内の商品を管理する商品管理部20と、顧客から商品の引き取り日時の指定を受け付ける販売処理部22とを備える。商品管理部20は、商品を収納する収納室11の設定温度を所定の第1温度に維持した場合の当該商品の販売期限である第1期限と、第1温度よりも低い第2温度に切り替えた場合の当該商品の販売期限である第2期限とを保持する。販売処理部22が受け付けた商品の引き取り日時が、商品管理部20が保持する当該商品の第1期限よりも後で、かつ当該商品の第2期限の以前であれば、当該商品を収納する収納室11の設定温度を第1温度から第2温度に切り替える。
【選択図】図1
特許請求の範囲
【請求項1】
冷却手段を備えるロッカー(1)と、当該ロッカー(1)の管理制御を担う管理装置(2)とを含み、当該ロッカー(1)を介して商品の販売を行う商品販売システムであって、
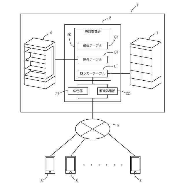
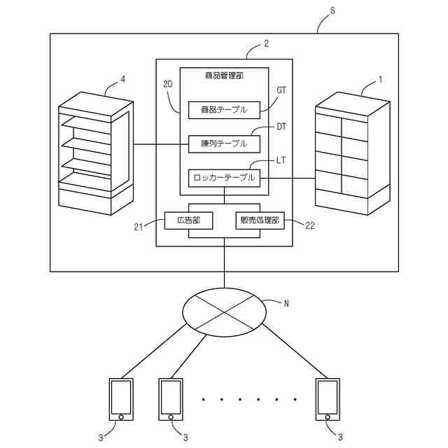
管理装置(2)は、ロッカー(1)の収納室(11)内の商品を管理する商品管理部(20)と、顧客から商品の引き取り日時の指定を受け付ける販売処理部(22)とを備えており、
商品管理部(20)は、商品を収納する収納室(11)の設定温度を所定の第1温度に維持した場合の当該商品の販売期限である第1期限と、第1温度よりも低い第2温度に切り替えた場合の当該商品の販売期限である第2期限とを保持しており、
販売処理部(22)が受け付けた商品の引き取り日時が、商品管理部(20)が保持する当該商品の第1期限よりも後で、かつ当該商品の第2期限の以前であれば、当該商品を収納する収納室(11)の設定温度を第1温度から第2温度に切り替えることを特徴とする商品販売システム。
続きを表示(約 500 文字)
【請求項2】
商品管理部(20)は、商品ごとに第1期限よりも早い日時である低温移行日時を保持しており、
商品の低温移行日時に到達した時点で、当該商品の購入者が未定であれば、当該商品を収納する収納室(11)の設定温度を第1温度から第2温度に切り替える請求項1に記載の商品販売システム。
【請求項3】
販売処理部(22)が受け付けた商品の引き取り日時までに、当該商品が収納室(11)から引き取られない場合に、当該収納室(11)の設定温度を低下させる請求項1に記載の商品販売システム。
【請求項4】
商品管理部(20)は、第1期限と第2期限に加えて、収納室(11)の設定温度を第2温度よりも低い第3温度に切り替えた場合の商品の販売期限である第3期限を保持しており、
販売処理部(22)が受け付けた商品の引き取り日時が、商品管理部(20)が保持する当該商品の第2期限よりも後で、かつ当該商品の第3期限の以前であれば、当該商品を収納する収納室(11)の設定温度を第1温度から第3温度に切り替える請求項1から3のいずれかひとつに記載の商品販売システム。
発明の詳細な説明
【技術分野】
【0001】
本発明は、冷却手段を備えるロッカーを含む商品販売システムに関する。
続きを表示(約 1,800 文字)
【背景技術】
【0002】
本発明に関連して特許文献1には、生鮮食品等の商品の無人引き渡しに用いられる冷蔵ロッカーが開示されている。この冷蔵ロッカーは、店舗などの一角に設置されるものであり、複数の収納室と、各収納室を開閉する扉と、各扉の施解錠を行う鍵装置と、各収納室内を冷却する冷却装置などで構成される。冷蔵ロッカーの管理者は、電話やインターネットを通じて会員(顧客)から商品の注文を受けると、当該注文で指定された引き取り日時までに、冷蔵ロッカーのいずれかの収納室に商品を収納する。商品の注文主である会員は、引き取り日時に冷蔵ロッカーに赴いて、自らのIDと暗証番号を入力することにより、当該商品が収納された収納室の扉の鍵装置を解錠して、当該収納室内の商品を引き取ることができる。
【先行技術文献】
【特許文献】
【0003】
特開平11-201617号公報
【発明の概要】
【発明が解決しようとする課題】
【0004】
この種の冷蔵ロッカーでは、顧客から商品の注文を受けてから、管理者が当該商品を冷蔵ロッカー内に収容する。このため、管理者は、顧客が指定した引き取り日時に合わせて、適宜なタイミングで商品を用意して冷蔵ロッカー内に収容すればよく、通常は商品の消費期限等から定められる販売期限が問題となることはない。
【0005】
本発明者等は、スーパーマーケット等の店舗における商品(生鮮食品)の廃棄ロスを減らすため、販売期限が近付いても売れ残っている商品、いわゆる見切り品を、特許文献1のような冷蔵ロッカーを含むインターネットを介した商品販売システムを用いて販売することを考えた。但し、この場合は、特許文献1のように注文を受けてから商品を用意するのではなく、既に存在する見切り品が販売の対象となることから、見切り品の販売期限までに引き取りが可能な一部の顧客にしか、当該見切り品を販売することはできない。
【0006】
一般に生鮮食品は、低温で保存するほどその販売期限を延ばすことができる。したがって、商品を冷蔵保存する冷蔵ロッカーに代えて、これを冷凍保存する冷凍ロッカーを用いれば、商品の販売期限を延ばして、より多くの顧客に商品を販売することができる。しかし、商品を冷凍保存すると、食材の種類によっては却って鮮度が下がり、食感や風味が損われるため、商品を一律に冷凍保存することは適切な処理であるとは言えない。
【0007】
本発明の目的は、冷却手段を備えるロッカーを用いて商品の販売を行う商品販売システムにおいて、より多くの顧客に商品を販売するとともに、顧客への商品の引き渡しまでにその鮮度が下がることを防ぐことにある。
【課題を解決するための手段】
【0008】
本発明は、冷却手段を備えるロッカー1と、当該ロッカー1の管理制御を担う管理装置2とを含み、当該ロッカー1を介して商品の販売を行う商品販売システムを対象とする。管理装置2は、ロッカー1の収納室11内の商品を管理する商品管理部20と、顧客から商品の引き取り日時の指定を受け付ける販売処理部22とを備える。商品管理部20は、商品を収納する収納室11の設定温度を所定の第1温度に維持した場合の当該商品の販売期限である第1期限と、第1温度よりも低い第2温度に切り替えた場合の当該商品の販売期限である第2期限とを保持する。そして、販売処理部22が受け付けた商品の引き取り日時が、商品管理部20が保持する当該商品の第1期限よりも後で、かつ当該商品の第2期限の以前であれば、当該商品を収納する収納室11の設定温度を第1温度から第2温度に切り替えることを特徴とする。
【0009】
商品管理部20は、商品ごとに第1期限よりも早い日時である低温移行日時を保持しており、商品の低温移行日時に到達した時点で、当該商品の購入者が未定であれば、当該商品を収納する収納室11の設定温度を第1温度から第2温度に切り替える。
【0010】
販売処理部22が受け付けた商品の引き取り日時までに、当該商品が収納室11から引き取られない場合に、当該収納室11の設定温度を低下させる。
(【0011】以降は省略されています)
この特許をJ-PlatPat(特許庁公式サイト)で参照する
関連特許
株式会社不二工機
膨張弁
16日前
株式会社不二工機
膨張弁
16日前
フクシマガリレイ株式会社
断熱扉
17日前
ホシザキ株式会社
冷凍装置
21日前
富士電機株式会社
自動販売機
15日前
フクシマガリレイ株式会社
冷却貯蔵庫
10日前
フクシマガリレイ株式会社
冷却貯蔵庫
21日前
ダイキン工業株式会社
冷凍装置
28日前
フクシマガリレイ株式会社
ショーケース
1か月前
ダイキン工業株式会社
冷媒充填方法
28日前
アクア株式会社
冷蔵庫
1か月前
フクシマガリレイ株式会社
商品販売システム
23日前
アクア株式会社
冷却ボックス装置
今日
株式会社アイシン
冷暖房システム
1か月前
島田工業株式会社
製氷装置及び製氷方法
1か月前
アクア株式会社
冷却ボックス装置
今日
株式会社富士通ゼネラル
冷凍サイクル装置
29日前
株式会社富士通ゼネラル
冷凍サイクル装置
29日前
株式会社前川製作所
冷却装置
28日前
株式会社富士通ゼネラル
冷凍サイクル装置
22日前
東芝ライフスタイル株式会社
冷却装置
23日前
日本碍子株式会社
空調システム
23日前
東芝ライフスタイル株式会社
冷却装置
23日前
ダイキン工業株式会社
冷凍装置
1か月前
ホシザキ株式会社
冷却貯蔵庫
1か月前
パナソニックIPマネジメント株式会社
冷蔵庫
今日
パナソニックIPマネジメント株式会社
冷蔵庫
今日
JFEエンジニアリング株式会社
二酸化炭素固化システム
今日
ダイキン工業株式会社
固体冷凍装置
1か月前
東芝ライフスタイル株式会社
冷蔵庫
9日前
三菱電機株式会社
冷蔵庫
10日前
ダイキン工業株式会社
空気調和装置
1か月前
三菱重工サーマルシステムズ株式会社
蒸発器
1か月前
東芝ライフスタイル株式会社
冷蔵庫
14日前
東プレ株式会社
冷凍装置及び冷凍装置の運転方法
29日前
SWCC株式会社
超電導ケーブルの冷却システム
28日前
続きを見る
他の特許を見る