TOP
|
特許
|
意匠
|
商標
特許ウォッチ
Twitter
他の特許を見る
公開番号
2025147767
公報種別
公開特許公報(A)
公開日
2025-10-07
出願番号
2024048174
出願日
2024-03-25
発明の名称
蒸発器
出願人
三菱重工サーマルシステムズ株式会社
代理人
個人
,
個人
,
個人
主分類
F25B
39/02 20060101AFI20250930BHJP(冷凍または冷却;加熱と冷凍との組み合わせシステム;ヒートポンプシステム;氷の製造または貯蔵;気体の液化または固体化)
要約
【課題】伝熱管群における熱交換効率が向上させて、性能を向上させることを目的とする。
【解決手段】蒸発器は、内部に熱交換媒体が流通する複数の伝熱管を有する伝熱管群と、膨張部で膨張された冷媒であって、液冷媒と気泡とが混合する気液二相状態の冷媒を導入する接続部51と、接続部51で導入された冷媒が供給され、供給された冷媒を混合する混合部53と、混合部53で混合された冷媒を伝熱管群へ供給するヘッダ54と、を備える。
【選択図】図3
特許請求の範囲
【請求項1】
内部に熱交換媒体が流通する複数の伝熱管を有する伝熱管群と、
気液二相状態の冷媒を導入する導入部と、
前記導入部で導入された冷媒が供給され、供給された冷媒を混合する混合部と、
前記混合部で混合された冷媒を前記伝熱管群へ供給する供給部と、を備える蒸発器。
続きを表示(約 190 文字)
【請求項2】
前記混合部は、前記導入部の下方に設けられ、前記導入部から排出された冷媒を受け止める請求項1に記載の蒸発器。
【請求項3】
前記導入部は、前記冷媒を排出する排出口を有し、
前記混合部は、前記導入部から排出された冷媒を導入する導入口を有し、
前記導入口の開口面積は、前記排出口の開口面積よりも大きい請求項1または請求項2に記載の蒸発器。
発明の詳細な説明
【技術分野】
【0001】
本開示は、蒸発器に関するものである。
続きを表示(約 1,900 文字)
【背景技術】
【0002】
冷凍機で用いられる蒸発器として、内部に被冷却媒体が流通する伝熱管群に対して、上方から液相の冷媒を供給する液膜式の蒸発器が知られている。このような液膜式の蒸発器には、膨張弁で膨張された冷媒が配管を介して導入される(例えば、特許文献1)。
特許文献1には、コンデンサから受け取られた冷媒が分配器を介して複数の位置からチューブ束に供給される蒸発器が開示されている。
【先行技術文献】
【特許文献】
【0003】
米国特許出願公開第2006/0080998号明細書
【発明の概要】
【発明が解決しようとする課題】
【0004】
蒸発器へ向かう冷媒は、流通中に、ガス巻き込み現象が発生したり、圧力低下によるフラッシュが発生したりする。このため、蒸発器へ向かう冷媒は、液状の冷媒(以下、「冷媒液」と称する。)に気泡が含まれる気液二相状態で流通している。
また、蒸発器へ向かって流通する気液二相状態の冷媒は、配管の湾曲部分や流路の断面が不均等な部分等を通過することで、流路断面において冷媒液中の気泡に偏りが発生する。具体的には、例えば、配管の湾曲部では、気泡と冷媒液との比重差によって、冷媒液が外周側に寄り易く、一方で気泡が内周側に寄り易い。このように、流路断面において冷媒液と気泡との均一性が低減してしまう可能性があった。
蒸発器へ導入された冷媒は、伝熱管群へ供給されることとなるが、均一性が低減した状態で気液二相状態の冷媒が伝熱管群へ供給されると、位置によって供給される冷媒量にバラつきが生じる。これにより、伝熱管群における熱交換効率が低下し、蒸発器の性能が低減する可能性があった。
【0005】
本開示は、このような事情に鑑みてなされたものであって、伝熱管群における熱交換効率が向上させて、性能を向上させることができる蒸発器を提供することを目的とする。
【課題を解決するための手段】
【0006】
上記課題を解決するために、本開示の蒸発器は以下の手段を採用する。
本開示の一態様に係る蒸発器は、内部に熱交換媒体が流通する複数の伝熱管を有する伝熱管群と、気液二相状態の冷媒を導入する導入部と、前記導入部で導入された冷媒が供給され、供給された冷媒を混合する混合部と、前記混合部で混合された冷媒を前記伝熱管群へ供給する供給部と、を備える。
【発明の効果】
【0007】
本開示によれば、伝熱管群における熱交換効率が向上させて、蒸発器の性能を向上させることができる。
【図面の簡単な説明】
【0008】
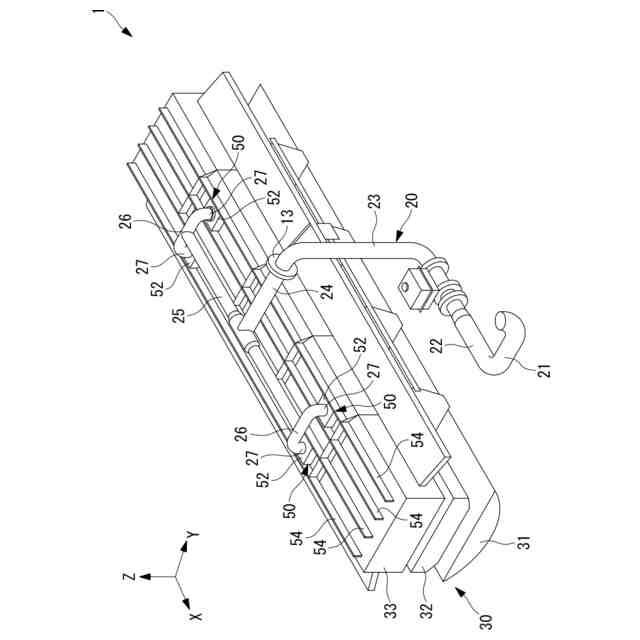
本開示の第1実施形態に係る蒸発器を示す斜視図である。
本開示の第1実施形態に係る蒸発器を示す斜視図であって、シェルとカバーを除いた状態を示している。
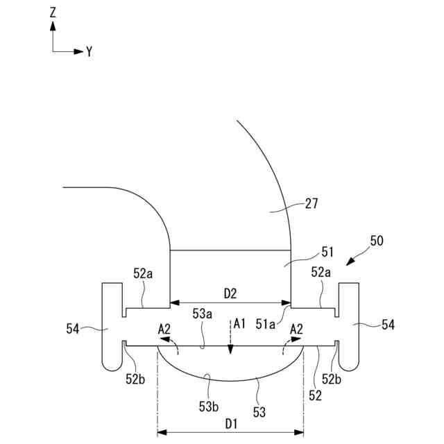
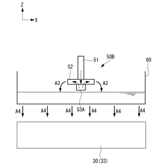
本開示の第1実施形態に係る蒸発器の要部を示す模式的な縦断面図である。
本開示の第1実施形態に係る蒸発器に設けられる混合部を示す斜視図である。
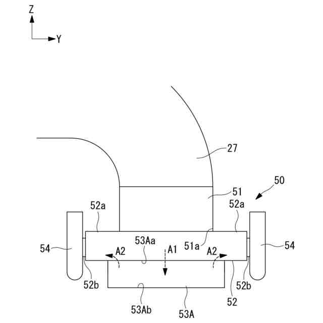
本開示の第1実施形態の変形例に係る蒸発器の要部を示す模式的な縦断面図である。
本開示の第1実施形態の変形例に係る蒸発器に設けられる混合部を示す斜視図である。
本開示の第2実施形態に係る蒸発器の要部を示す模式的な縦断面図である。
【発明を実施するための形態】
【0009】
以下に、本開示に係る蒸発器の一実施形態について、図1から図7を用いて説明する。なお、以下の説明及び図面では、鉛直上下方向をZ軸方向とし、伝熱管の延在する方向をX軸方向とし、Z軸方向及びX軸方向と直交する方向をY軸方向として説明する。
【0010】
[第1実施形態]
本実施形態に係る蒸発器1は、ターボ冷凍装置に適用される。ターボ冷凍装置は、冷媒を圧縮するターボ圧縮機(図示省略)と、ターボ圧縮機で圧縮された冷媒を凝縮する凝縮器(図示省略)と、凝縮器で凝縮された冷媒を膨張させる膨張弁(図示省略)と、膨張弁で膨張された冷媒を蒸発させる蒸発器等を備えて、ユニット状に構成されている。各装置は、冷媒が流通する配管によって接続されている。冷媒としては、例えば、最高圧力0.2MPaG未満で使用されるR1233zd等の低圧冷媒等が用いられる。なお、適用可能な冷媒は、低圧冷媒に限定されない。例えば、冷媒として、高圧冷媒を用いてもよい。
(【0011】以降は省略されています)
この特許をJ-PlatPat(特許庁公式サイト)で参照する
関連特許
個人
製氷容器
10日前
株式会社不二工機
膨張弁
1か月前
株式会社不二工機
膨張弁
1か月前
アクア株式会社
冷蔵庫
18日前
アクア株式会社
冷蔵庫
18日前
フクシマガリレイ株式会社
断熱扉
1か月前
ホシザキ株式会社
冷凍装置
1か月前
富士電機株式会社
冷却装置
10日前
富士電機株式会社
自動販売機
1か月前
フクシマガリレイ株式会社
冷却貯蔵庫
1か月前
フクシマガリレイ株式会社
冷却貯蔵庫
1か月前
株式会社ゼロカラ
冷凍装置
26日前
株式会社ゼロカラ
冷凍装置
26日前
株式会社フィラディス
ワインセラー
3日前
株式会社フィラディス
ワインセラー
18日前
FrostiX株式会社
冷凍システム
11日前
アクア株式会社
冷却ボックス装置
1か月前
アクア株式会社
冷却ボックス装置
1か月前
アイ・ティ・イー株式会社
相変化判定システム
18日前
三菱電機株式会社
冷蔵庫
18日前
東芝ライフスタイル株式会社
冷蔵庫
5日前
三菱電機株式会社
冷凍冷蔵庫
3日前
株式会社MARS Company
ドラム式製氷機
11日前
株式会社MARS Company
ドラム式製氷機
11日前
株式会社MARS Company
ドラム式製氷機
11日前
株式会社MARS Company
ドラム式製氷機
11日前
パナソニックIPマネジメント株式会社
冷蔵庫
1か月前
パナソニックIPマネジメント株式会社
冷蔵庫
1か月前
三菱電機株式会社
冷蔵庫
1か月前
東芝ライフスタイル株式会社
冷蔵庫
1か月前
JFEエンジニアリング株式会社
二酸化炭素固化システム
1か月前
東芝ライフスタイル株式会社
冷蔵庫
1か月前
大陽日酸株式会社
低温ガス発生装置
1か月前
アクア株式会社
冷蔵庫およびその製造方法
10日前
東芝ライフスタイル株式会社
冷蔵庫
1か月前
東芝ライフスタイル株式会社
冷蔵庫
10日前
続きを見る
他の特許を見る