TOP
|
特許
|
意匠
|
商標
特許ウォッチ
Twitter
他の特許を見る
10個以上の画像は省略されています。
公開番号
2025175669
公報種別
公開特許公報(A)
公開日
2025-12-03
出願番号
2024081880
出願日
2024-05-20
発明の名称
冷蔵庫
出願人
東芝ライフスタイル株式会社
代理人
弁理士法人サトー
主分類
F25D
23/12 20060101AFI20251126BHJP(冷凍または冷却;加熱と冷凍との組み合わせシステム;ヒートポンプシステム;氷の製造または貯蔵;気体の液化または固体化)
要約
【課題】本実施形態は、貯蔵物を乾燥した状態で保存する保存室を備える冷蔵庫について、当該保存室内の湿度を乾燥保存に適した湿度に調整しやすくできるようにした技術案を提供する。
【解決手段】本実施形態に係る冷蔵庫は、冷気を生成する冷気生成部と、貯蔵物を保存する第1保存室と、貯蔵物を前記第1保存室よりも乾燥した状態で保存する第2保存室と、前記冷気生成部が生成する冷気を、前記冷気生成部から前記第1保存室内に供給して前記第1保存室内から前記冷気生成部に戻す第1経路と、前記冷気生成部が生成する冷気を、前記冷気生成部から前記第2保存室内に供給して前記第2保存室内から前記冷気生成部に戻す第2経路と、を備え、前記第1経路と前記第2経路が別の経路として設けられている。
【選択図】図2
特許請求の範囲
【請求項1】
冷気を生成する冷気生成部と、
貯蔵物を保存する第1保存室と、
貯蔵物を前記第1保存室よりも乾燥した状態で保存する第2保存室と、
前記冷気生成部が生成する冷気を、前記冷気生成部から前記第1保存室内に供給して前記第1保存室内から前記冷気生成部に戻す第1経路と、
前記冷気生成部が生成する冷気を、前記冷気生成部から前記第2保存室内に供給して前記第2保存室内から前記冷気生成部に戻す第2経路と、
を備え、
前記第1経路と前記第2経路が別の経路として設けられている冷蔵庫。
続きを表示(約 650 文字)
【請求項2】
前記冷気生成部に付着した霜を解かす除霜運転を実行する除霜運転実行部と、
前記除霜運転の実行中に前記冷気生成部を通過する送風を行う送風部と、
前記除霜運転の実行中に前記第2経路を閉じる第2経路閉じ部と、
を備える請求項1に記載の冷蔵庫。
【請求項3】
前記第2保存室内に空気を流入させる流入部と、
前記第2保存室内から空気を流出させる流出部と、
を備え、
前記流入部および前記流出部のうち少なくとも一方に、湿度を調整する湿度調整部が設けられている請求項1に記載の冷蔵庫。
【請求項4】
前記第1保存室内に前記第2保存室が設けられている請求項1に記載の冷蔵庫。
【請求項5】
前記第1保存室内に空気を流入させる第1流入部と、
前記第1保存室内から空気を流出させる第1流出部と、
前記第2保存室内に空気を流入させる第2流入部と、
前記第2保存室内から空気を流出させる第2流出部と、
を備える請求項1に記載の冷蔵庫。
【請求項6】
前記第2保存室内、および、前記第2経路のうち前記第2保存室よりも上流側部分のうち少なくとも一方に除湿部を備える請求項1に記載の冷蔵庫。
【請求項7】
前記第2保存室内、および、前記第2経路のうち前記第2保存室よりも上流側部分のうち少なくとも一方に加熱部を備える請求項1に記載の冷蔵庫。
発明の詳細な説明
【技術分野】
【0001】
本発明の実施形態は、冷蔵庫に関する。
続きを表示(約 2,000 文字)
【背景技術】
【0002】
冷蔵庫においては、例えば海苔、干し椎茸、粉類、茶葉、せんべい、スナック菓子などといった貯蔵物を乾燥した状態で保存したいというニーズがある。例えば特許文献1に開示されている冷蔵庫は、冷蔵室内に乾燥室を備え、この乾燥室内の湿度を冷気の風量調節とヒータによる加熱により制御する構成となっている。特許文献1の冷蔵庫によれば、貯蔵物を乾燥した状態で保存したいというニーズへの対応を図ることができる。
【先行技術文献】
【特許文献】
【0003】
特開2017-141977号公報
【発明の概要】
【発明が解決しようとする課題】
【0004】
ところで、近年の冷蔵庫においては、例えば野菜などといった貯蔵物を潤った状態で保存したいというニーズもあり、このニーズに対応するために貯蔵室内の湿度を高めるようにした機種が提供されている。しかしながら、この種の冷蔵庫に上述したような乾燥室を設けると、貯蔵室内の湿度が高くなっていることから、乾燥室内の湿度を乾燥保存に適した湿度まで十分に低くすることができない。
【0005】
本実施形態は、貯蔵物を乾燥した状態で保存する保存室を備える冷蔵庫について、当該保存室内の湿度を乾燥保存に適した湿度に調整しやすくできるようにした技術案を提供する。
【課題を解決するための手段】
【0006】
本実施形態に係る冷蔵庫は、冷気を生成する冷気生成部と、貯蔵物を保存する第1保存室と、貯蔵物を前記第1保存室よりも乾燥した状態で保存する第2保存室と、前記冷気生成部が生成する冷気を、前記冷気生成部から前記第1保存室内に供給して前記第1保存室内から前記冷気生成部に戻す第1経路と、前記冷気生成部が生成する冷気を、前記冷気生成部から前記第2保存室内に供給して前記第2保存室内から前記冷気生成部に戻す第2経路と、を備え、前記第1経路と前記第2経路が別の経路として設けられている。
【図面の簡単な説明】
【0007】
本開示の第1実施形態に係る冷蔵庫の構成例を概略的に示す正面図
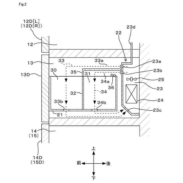
本開示の第1実施形態に係る野菜室内の構成例を概略的に示す縦断側面図
本開示の第1実施形態に係る冷蔵庫の制御系の構成例を概略的に示すブロック図
本開示の第2実施形態に係る野菜室内の構成例を概略的に示す縦断側面図
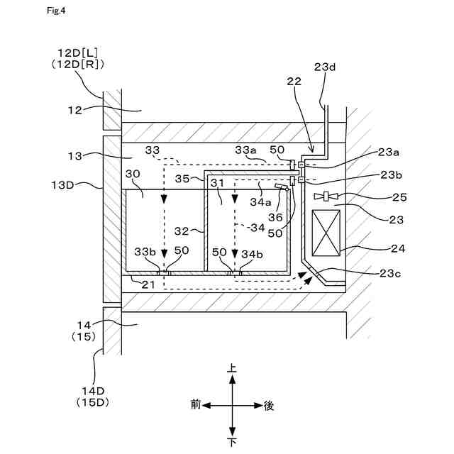
本開示の第3実施形態に係る野菜室内の構成例を概略的に示す縦断側面図
本開示の第4実施形態に係る野菜室内の構成例を概略的に示す縦断側面図
本開示の第4実施形態の変形例に係る野菜室内の構成例を概略的に示す横断平面図(その1)
本開示の第4実施形態の変形例に係る野菜室内の構成例を概略的に示す横断平面図(その2)
本開示の第5実施形態に係る野菜室内の構成例を概略的に示す縦断側面図
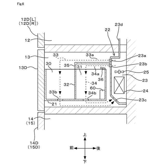
本開示の第6実施形態に係る野菜室内の構成例を概略的に示す縦断側面図
本開示の第6実施形態の変形例に係る野菜室内の構成例を概略的に示す縦断側面図
本開示の第7実施形態に係る野菜室内の構成例を概略的に示す縦断側面図
【発明を実施するための形態】
【0008】
以下、冷蔵庫に係る複数の実施形態について図面を参照しながら説明する。なお、複数の実施形態において実質的に同一の要素には同一の符号を付して、その説明を省略する。
【0009】
(第1実施形態)
図1に例示する冷蔵庫10は、その外郭を構成する矩形箱状の断熱箱体11の内部に複数の貯蔵室12,13,14,15,16を形成している。貯蔵室12,13,14,15,16の内部には、例えば食品類などといった各種の貯蔵物を冷却保存することが可能である。詳しい図示は省略するが、断熱箱体11は、内箱と外箱との間に断熱材を備えた構成である。断熱箱体11を構成する断熱材としては、例えば、真空断熱パネル、発泡ウレタン、断熱性材料を成形した断熱成形体などといった種々の断熱材を適用することができる。
【0010】
貯蔵室12は、この場合、冷蔵温度帯に維持される冷蔵室である。以下、貯蔵室12を「冷蔵室12」と称する場合がある。貯蔵室13は、この場合、冷蔵温度帯に維持される野菜室である。以下、貯蔵室13を「野菜室13」と称する場合がある。貯蔵室14は、この場合、冷凍温度帯に維持される製氷室である。以下、貯蔵室14を「製氷室14」と称する場合がある。貯蔵室15は、この場合、冷凍温度帯に維持される小冷凍室である。以下、貯蔵室15を「小冷凍室15」と称する場合がある。貯蔵室16は、この場合、冷凍温度帯に維持される大冷凍室である。以下、貯蔵室16を「大冷凍室16」と称する場合がある。
(【0011】以降は省略されています)
この特許をJ-PlatPat(特許庁公式サイト)で参照する
関連特許
個人
製氷容器
11日前
アクア株式会社
冷蔵庫
19日前
アクア株式会社
冷蔵庫
19日前
富士電機株式会社
冷却装置
11日前
株式会社ゼロカラ
冷凍装置
27日前
株式会社ゼロカラ
冷凍装置
27日前
株式会社フィラディス
ワインセラー
4日前
株式会社フィラディス
ワインセラー
19日前
FrostiX株式会社
冷凍システム
12日前
アクア株式会社
冷却ボックス装置
1か月前
アクア株式会社
冷却ボックス装置
1か月前
アイ・ティ・イー株式会社
相変化判定システム
19日前
三菱電機株式会社
冷蔵庫
19日前
東芝ライフスタイル株式会社
冷蔵庫
6日前
株式会社MARS Company
ドラム式製氷機
12日前
株式会社MARS Company
ドラム式製氷機
12日前
三菱電機株式会社
冷凍冷蔵庫
4日前
株式会社MARS Company
ドラム式製氷機
12日前
株式会社MARS Company
ドラム式製氷機
12日前
パナソニックIPマネジメント株式会社
冷蔵庫
1か月前
パナソニックIPマネジメント株式会社
冷蔵庫
1か月前
JFEエンジニアリング株式会社
二酸化炭素固化システム
1か月前
アクア株式会社
冷蔵庫およびその製造方法
11日前
東芝ライフスタイル株式会社
冷蔵庫
11日前
株式会社荏原製作所
圧縮式冷凍機および冷凍システム
19日前
三菱電機エンジニアリング株式会社
保存庫
5日前
ホシザキ株式会社
製氷器、及びその製造方法
6日前
日立グローバルライフソリューションズ株式会社
冷蔵庫
1か月前
株式会社神戸製鋼所
熱交換器及び熱交換システム
4日前
安克創新科技股フン有限公司
冷蔵庫の運転制御方法及び冷蔵庫
19日前
パナソニックIPマネジメント株式会社
電子機器の運転制御システム
20日前
ボッシュホームコンフォートジャパン株式会社
冷凍サイクル装置
11日前
株式会社豊田中央研究所
吸着器の製造方法および吸着器
1か月前
パナソニックIPマネジメント株式会社
ヒートポンプ装置
13日前
パナソニックIPマネジメント株式会社
内蔵部材および気液分離器
11日前
パナソニックIPマネジメント株式会社
冷媒循環用配管、および、冷凍装置
13日前
続きを見る
他の特許を見る