TOP
|
特許
|
意匠
|
商標
特許ウォッチ
Twitter
他の特許を見る
10個以上の画像は省略されています。
公開番号
2025173809
公報種別
公開特許公報(A)
公開日
2025-11-28
出願番号
2024079589
出願日
2024-05-15
発明の名称
冷蔵庫およびその製造方法
出願人
アクア株式会社
代理人
個人
,
個人
,
個人
,
個人
主分類
F25D
23/06 20060101AFI20251120BHJP(冷凍または冷却;加熱と冷凍との組み合わせシステム;ヒートポンプシステム;氷の製造または貯蔵;気体の液化または固体化)
要約
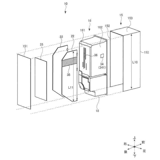
【課題】外箱側面板と内箱側面板との間隙の所定箇所に側面用真空断熱材を配設できる冷蔵庫およびその製造方法を提供する。
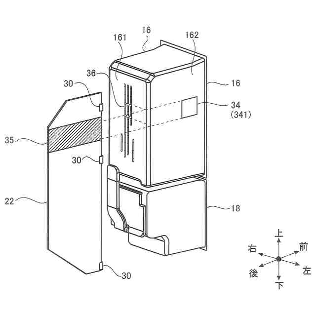
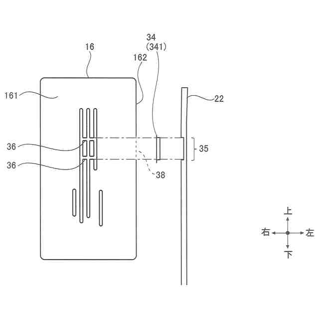
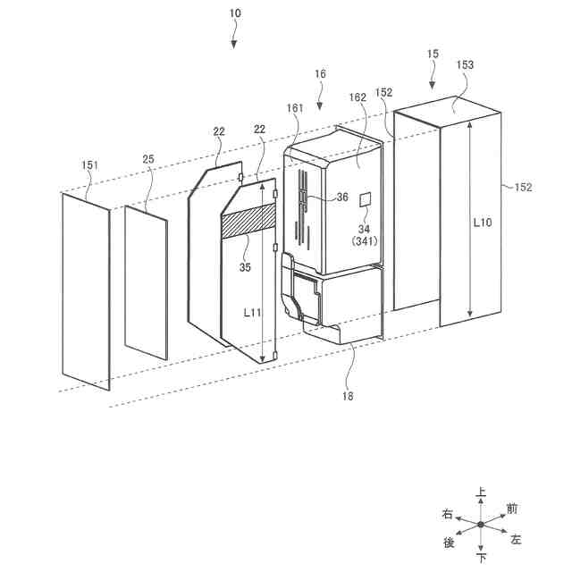
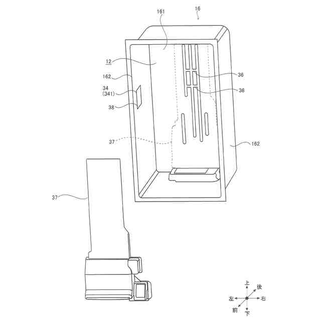
【解決手段】冷蔵庫10において、断熱材17は、内箱側面板162と外箱側面板152との間に配設された側面用真空断熱材22を有する。内箱側面板162には、幅方向における外側に向かって突出する凸状部位34が設けられる。側面用真空断熱材22の、凸状部位34に対峙する部分を凹状とすることで凹状部位35が形成される。高さ方向において、内箱側面板162の凸状部位34に対応する部分の内箱後面板161に、位置認識部36を形成する。
【選択図】図3
特許請求の範囲
【請求項1】
内部に貯蔵室が形成される断熱箱体と、前記貯蔵室の開口を閉鎖する断熱扉と、を備え、
前記断熱箱体は、前記断熱箱体の外面を形成する外箱と、前記外箱の内部に配設された内箱と、前記外箱と前記内箱との間に配設された断熱材と、を有し、
前記外箱は、前記断熱箱体の幅方向に沿って伸びる外箱後面板と、前記断熱箱体の奥行方向に沿って伸びる外箱側面板と、を有し、
前記内箱は、前記断熱箱体の幅方向に沿って伸びる内箱後面板と、前記断熱箱体の奥行方向に沿って伸びる内箱側面板と、を有し、
前記断熱材は、前記内箱側面板と前記外箱側面板との間に配設された側面用真空断熱材を有し、
前記内箱側面板には、幅方向における外側に向かって突出する凸状部位が設けられ、
前記側面用真空断熱材の、前記凸状部位に対峙する部分を凹状とすることで凹状部位が形成され、
高さ方向において、前記内箱側面板の前記凸状部位に対応する部分の前記内箱後面板に位置認識部を形成することを特徴とする冷蔵庫。
続きを表示(約 890 文字)
【請求項2】
前記凸状部位は、コントロール基板ケースであることを特徴とする請求項1に記載の冷蔵庫。
【請求項3】
前記側面用真空断熱材の上端は、前記断熱箱体の上端よりも下方側に配設され、
前記側面用真空断熱材の下端は、前記断熱箱体の下端よりも上方側に配設されることを特徴とする請求項1に記載の冷蔵庫。
【請求項4】
前記位置認識部は、前記内箱後面板を部分的に凹状または凸状とした部位であることを特徴とする請求項1に記載の冷蔵庫。
【請求項5】
前記位置認識部は、前記断熱箱体の幅方向に沿って長手方向を有することを特徴とする請求項4に記載の冷蔵庫。
【請求項6】
ダクト部材を更に具備し、
前記ダクト部材は、前記貯蔵室の側から前記内箱後面板に当接するように配設されることで、前記貯蔵室を冷却する空気が流通する風路を形成し、
前記位置認識部は、前記ダクト部材が当接する部分の前記内箱後面板に形成されることを特徴とする請求項4に記載の冷蔵庫。
【請求項7】
外箱側面板を有する外箱と、内箱側面板および内箱後面板を有する内箱と、側面用真空断熱材と、を準備する工程と、
前記内箱を前記外箱の内部に配置することで断熱箱体を構成した後に、前記外箱側面板と前記内箱側面板との間の空間に前記側面用真空断熱材を挿入する工程と、
前記外箱と前記内箱との前記空間に発泡断熱材を充填する工程と、を具備し、
前記内箱側面板には、幅方向における外側に向かって突出する凸状部位が設けられ、
高さ方向において、前記内箱側面板の前記凸状部位に対応する部分の前記内箱後面板に位置認識部が形成され、
前記側面用真空断熱材の、前記凸状部位に対峙する部分を凹状とすることで凹状部位が形成され、
前記側面用真空断熱材を挿入する工程では、前記内箱後面板の前記位置認識部と、前記側面用真空断熱材の前記凹状部位とを位置合わせすることを特徴とする冷蔵庫の製造方法。
発明の詳細な説明
【技術分野】
【0001】
本発明は、冷蔵庫およびその製造方法に関し、特に、断熱材として真空断熱材を備えた冷蔵庫およびその製造方法に関する。
続きを表示(約 1,000 文字)
【背景技術】
【0002】
一般的な冷蔵庫では、断熱箱体の内部に貯蔵室を形成し、この貯蔵室の前方開口を断熱扉で開閉可能に閉鎖している。断熱箱体は、鋼板から成る外箱と、外箱の内側に配置される合成樹脂板から成る内箱と、外箱と内箱との間に充填された断熱材とから成る。
【0003】
冷蔵庫の断熱箱体に充填される断熱材としては、一般的に発泡ウレタンが採用される。しかしながら、冷蔵庫の更なる省エネルギ化に対処するためには発泡ウレタンよりも断熱性が高い断熱材が好ましい。
【0004】
そこで、断熱箱体に内蔵される断熱材として真空断熱材が採用されている。真空断熱材はガラスウール等の繊維状無機材料を真空包装したものであり、発泡ウレタンの十数倍以上の断熱効果を有する。真空断熱材を採用することで、貯蔵室と外部とを良好に断熱でき、冷蔵庫の冷却運転に要するエネルギを低減することができる。
【0005】
特許文献1および特許文献2には、外箱側面板と内箱側面板との間に、側面用真空断熱材が配置される冷蔵庫の構成および製造方法が記載されている。
【先行技術文献】
【特許文献】
【0006】
特開2020-106215号公報
特開2023-072000号公報
【発明の概要】
【発明が解決しようとする課題】
【0007】
しかしながら、前述した背景技術に係る冷蔵庫およびその製造方法では、側面用真空断熱材の配置に関して、改善の余地があった。
【0008】
具体的には、外箱側面板と内箱側面板との間隙は狭いことから、当該間隙の所定箇所に側面用真空断熱材を配設することは簡単ではなかった。
【0009】
また、内箱側面板に、部分的に幅方向外側に向かって突出する突出部が設けられることがある。例えば、内箱側面板にコントロール基板等が取り付けられる場合、コントロール基板が取り付けられる部分の内箱側面板は、幅方向外側に向かって突出する。そのようになると、内箱側面板の突出部が、側面用真空断熱材と干渉する課題が考えられる。
【0010】
また、製造方法を考慮すれば、外箱側面板と内箱側面板との間隙に側面用真空断熱材を挿入する工程に於いて、内箱側面板の突出部分が、側面用真空断熱材の挿入を阻害する課題が考えられる。
(【0011】以降は省略されています)
この特許をJ-PlatPat(特許庁公式サイト)で参照する
関連特許
アクア株式会社
冷蔵庫
12日前
アクア株式会社
冷蔵庫
12日前
アクア株式会社
冷蔵庫
2か月前
アクア株式会社
冷却ボックス装置
25日前
アクア株式会社
冷却ボックス装置
25日前
アクア株式会社
冷蔵庫およびその製造方法
4日前
日本アクア株式会社
スパウト及びスパウト付き容器
1か月前
アクア株式会社
冷蔵庫用マグネットパッキン、冷蔵庫扉および冷蔵庫
2か月前
青島海爾洗衣机有限公司
洗濯機
4日前
青島海爾洗衣机有限公司
洗濯機
1か月前
青島海爾洗衣机有限公司
洗濯機
2か月前
青島海爾洗衣机有限公司
洗濯機
1か月前
青島海爾洗衣机有限公司
洗濯機
4日前
青島海爾洗衣机有限公司
ランドリー機器
1か月前
青島海爾洗衣机有限公司
ドラム式洗濯機
27日前
青島海爾洗衣机有限公司
ドラム式洗濯機
27日前
青島海爾洗衣机有限公司
乾燥機および洗濯機
12日前
青島海爾洗衣机有限公司
排水フィルタ及び洗濯機
2か月前
青島海爾洗衣机有限公司
排水フィルタ及び洗濯機
2か月前
個人
製氷容器
4日前
株式会社不二工機
膨張弁
1か月前
株式会社不二工機
膨張弁
1か月前
アクア株式会社
冷蔵庫
12日前
アクア株式会社
冷蔵庫
12日前
個人
ヒートポンプ型空気調和機
2か月前
ホシザキ株式会社
製氷機
2か月前
富士電機株式会社
冷却装置
4日前
富士電機株式会社
冷却装置
2か月前
ホシザキ株式会社
冷凍装置
1か月前
フクシマガリレイ株式会社
断熱扉
1か月前
富士電機株式会社
自動販売機
1か月前
フクシマガリレイ株式会社
冷却貯蔵庫
1か月前
フクシマガリレイ株式会社
冷却貯蔵庫
1か月前
ダイキン工業株式会社
冷凍装置
1か月前
富士ベンダーサービス株式会社
保管庫
2か月前
フクシマガリレイ株式会社
ショーケース
1か月前
続きを見る
他の特許を見る