TOP
|
特許
|
意匠
|
商標
特許ウォッチ
Twitter
他の特許を見る
公開番号
2025174273
公報種別
公開特許公報(A)
公開日
2025-11-28
出願番号
2024080440
出願日
2024-05-16
発明の名称
洗濯機
出願人
青島海爾洗衣机有限公司
,
QINGDAO HAIER WASHING MACHINE CO.,LTD.
,
アクア株式会社
代理人
個人
,
個人
主分類
D06F
33/32 20200101AFI20251120BHJP(繊維または類似のものの処理;洗濯;他に分類されない可とう性材料)
要約
【課題】汚物等が付着した洗濯物を良好に洗濯でき得るドラム式洗濯機を提供する。
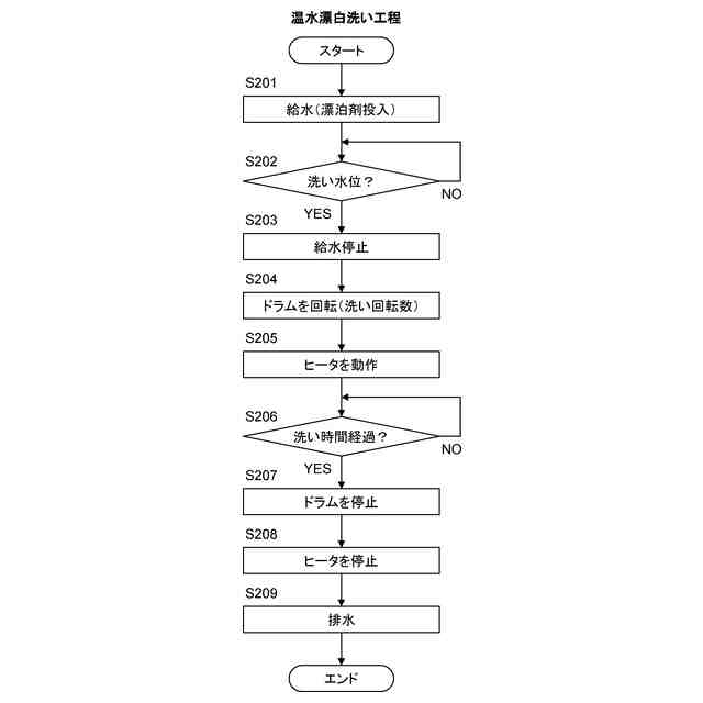
【解決手段】ドラム式洗濯機1は、筐体10内に配置され、水が溜められる外槽20と、外槽20内に、水平軸周りに回転可能に配置され、洗濯物が収容されるドラム23と、外槽20内に溜められた水を加熱するヒータ60と、汚物が付着した洗濯物を洗濯可能な洗濯運転を実行する制御部と、を備える。制御部は、前記洗濯運転において、ドラム23を回転させて、漂白剤を含みヒータ60で加熱された水によりドラム23内の洗濯物を洗う温水漂白洗い工程を実行し、当該温水漂白洗い工程よりも後に、水が溜められた外槽20内でドラム23を温水漂白洗い工程よりも高い回転数で回転させることにより外槽20の内壁面を洗う槽洗浄工程を実行する。
【選択図】図1
特許請求の範囲
【請求項1】
筐体内に配置され、水が溜められる外槽と、
前記外槽内に、水平軸または水平方向に対して傾斜する回転軸周りに回転可能に配置され、洗濯物が収容されるドラムと、
前記外槽内に溜められた水を加熱するヒータと、
汚物が付着した洗濯物を洗濯可能な洗濯運転を実行する制御部と、を備え、
前記制御部は、前記洗濯運転において、
前記ドラムを回転させて、漂白剤を含み前記ヒータで加熱された水により前記ドラム内の洗濯物を洗う温水漂白洗い工程を実行し、
当該温水漂白洗い工程よりも後に、水が溜められた前記外槽内で前記ドラムを前記温水漂白洗い工程よりも高い回転数で回転させることにより前記外槽の内壁面を洗う槽洗浄工程を実行する、
を備えることを特徴とするドラム式洗濯機。
続きを表示(約 750 文字)
【請求項2】
請求項1に記載のドラム式洗濯機において、
前記制御部は、前記洗濯運転において、前記槽洗浄工程よりも後に、前記ドラムを回転させて、洗剤を含む水により前記ドラム内の洗濯物を洗う洗い工程を実行する、
ことを特徴とするドラム式洗濯機。
【請求項3】
請求項2に記載のドラム式洗濯機において、
操作部を、さらに備え、
前記操作部は、洗濯物を追加するための洗濯物追加設定を受け付け、
前記制御部は、前記操作部が前記洗濯物追加設定を受け付けた場合、
前記洗い工程を実行する前に洗濯物の追加が完了したか否かの判定を行い、
洗濯物の追加が完了したとの判定に基づいて前記洗い工程を開始する、
ことを特徴とするドラム式洗濯機。
【請求項4】
請求項1ないし3の何れか一項に記載のドラム式洗濯機において、
操作部を、さらに備え、
前記操作部は、槽洗浄を追加するための槽洗浄追加設定を受け付け、
前記制御部は、前記操作部が前記槽洗浄追加設定を受け付けた場合、前記槽洗浄工程の後に、水が溜められた前記外槽内で前記ドラムを前記温水漂白洗い工程よりも高い回転数で回転させることにより前記外槽の内壁面を洗う追加槽洗浄工程を実行する、
ことを特徴とするドラム式洗濯機。
【請求項5】
請求項4に記載のドラム式洗濯機において、
前記制御部は、前記追加槽洗浄工程において、給水装置からの給水により前記外槽内に前記槽洗浄工程よりも多くの水を溜める、および/または、前記ドラムが回転する動作時間を前記槽洗浄工程よりも長くする、
ことを特徴とするドラム式洗濯機。
発明の詳細な説明
【技術分野】
【0001】
本発明は、ドラム式洗濯機に関する。かかるドラム式洗濯機は、洗濯から乾燥まで連続的に行うものであっても良いし、洗濯は行うが乾燥は行わないものであっても良い。
続きを表示(約 1,400 文字)
【背景技術】
【0002】
汚物(排泄物)が付着した赤ちゃんの布おむつや肌着等の洗濯物は、洗剤および漂白剤を用いて手洗いされることが多く、主婦等の負担となりやすい。また、常温の水では、洗剤および漂白剤が用いられても、汚れ落ちや汚物の色素の分解が不十分となりやすい。汚物が付着した洗濯物に限らず、嘔吐物が付着した洗濯物についても、同様なことが言え得る。
【0003】
以下の特許文献1には、漂白剤を使用して洗濯物の除菌を行う除菌コースの運転が可能なドラム式洗濯機が記載されている。このドラム式洗濯機では、除菌コースが設定されると、洗い工程において、水槽内に洗剤と漂白剤を含む洗濯水が溜められ、当該洗濯水により洗濯物の洗いが行われる。さらに、水槽にヒータが備えられる場合、水槽内に漂白剤が供給される前に洗濯水がヒータで加熱される。
【先行技術文献】
【特許文献】
【0004】
特開2017-143891号公報
【発明の概要】
【発明が解決しようとする課題】
【0005】
上記ドラム式洗濯機の除菌コースの運転により、汚物や嘔吐物が付着した洗濯物を洗濯することが考えられる。
【0006】
しかしながら、この場合、洗い工程において、洗濯物から落ちた汚物が水槽(外槽)の内壁面、特に、水没しない上部の内壁面に付着し、当該汚物が、運転が進行した後の洗濯物に付着したり、運転後に内壁面に残ったりするのではないかと、ユーザが不安を抱くことが懸念される。
【0007】
本発明は、かかる課題に鑑みてなされたものであり、汚物等が付着した洗濯物を良好に洗濯でき得るドラム式洗濯機を提供することを目的とする。
【課題を解決するための手段】
【0008】
本発明の主たる態様に係るドラム式洗濯機は、筐体内に配置され、水が溜められる外槽と、前記外槽内に、水平軸または水平方向に対して傾斜する回転軸周りに回転可能に配置され、洗濯物が収容されるドラムと、前記外槽内に溜められた水を加熱するヒータと、汚物が付着した洗濯物を洗濯可能な洗濯運転を実行する制御部と、を備える。ここで、前記制御部は、前記洗濯運転において、前記ドラムを回転させて、漂白剤を含み前記ヒータで加熱された水により前記ドラム内の洗濯物を洗う温水漂白洗い工程を実行し、当該温水漂白洗い工程よりも後に、水が溜められた前記外槽内で前記ドラムを前記温水漂白洗い工程よりも高い回転数で回転させることにより前記外槽の内壁面を洗う槽洗浄工程を実行する。
【0009】
本態様に係るドラム式洗濯機によれば、汚物等が付着した洗濯物が洗われた場合に、温水漂白洗い工程において、漂白剤を含む温水により、洗濯物に付着した汚物等の色素成分を良好に分解したり、洗濯物を良好に除菌したりすることができる。さらに、槽洗浄工程において、温水漂白洗い工程の後の外槽の内壁面が洗われるので、洗濯物から落ちた汚物等が外槽内に残りにくくなるようにでき、ユーザが、洗濯物から落ちた汚物等に対する不安を抱きにくくなる。
【0010】
本態様に係るドラム式洗濯機において、前記制御部は、前記洗濯運転において、前記槽洗浄工程よりも後に、前記ドラムを回転させて、洗剤を含む水により前記ドラム内の洗濯物を洗う洗い工程を実行するような構成とされ得る。
(【0011】以降は省略されています)
この特許をJ-PlatPat(特許庁公式サイト)で参照する
関連特許
青島海爾洗衣机有限公司
洗濯機
2日前
青島海爾洗衣机有限公司
洗濯機
2か月前
青島海爾洗衣机有限公司
洗濯機
2日前
青島海爾洗衣机有限公司
洗濯機
3か月前
青島海爾洗衣机有限公司
洗濯機
2か月前
青島海爾洗衣机有限公司
洗濯機
2か月前
青島海爾洗衣机有限公司
洗濯機
2か月前
青島海爾洗衣机有限公司
洗濯機
10か月前
青島海爾洗衣机有限公司
洗濯機
5か月前
青島海爾洗衣机有限公司
洗濯機
10か月前
青島海爾洗衣机有限公司
洗濯機
1か月前
青島海爾洗衣机有限公司
洗濯機
1か月前
青島海爾洗衣机有限公司
洗濯機
10か月前
青島海爾洗衣机有限公司
洗濯機
11か月前
青島海爾洗衣机有限公司
縦型洗濯機
7か月前
青島海爾洗衣机有限公司
縦型洗濯機
10か月前
青島海爾洗衣机有限公司
洗濯乾燥機
7か月前
青島海爾洗衣机有限公司
縦型洗濯機
7か月前
青島海爾洗衣机有限公司
洗濯乾燥機
12か月前
青島海爾洗衣机有限公司
ランドリ機器
10か月前
青島海爾洗衣机有限公司
ランドリ機器
10か月前
青島海爾洗衣机有限公司
ドラム式洗濯機
6か月前
青島海爾洗衣机有限公司
ドラム式洗濯機
25日前
青島海爾洗衣机有限公司
ドラム式洗濯機
25日前
青島海爾洗衣机有限公司
ドラム式洗濯機
5か月前
青島海爾洗衣机有限公司
ランドリー機器
1か月前
青島海爾洗衣机有限公司
ドラム式洗濯機
6か月前
青島海爾洗衣机有限公司
超音波洗浄装置
3か月前
青島海爾洗衣机有限公司
ランドリシステム
10か月前
青島海爾洗衣机有限公司
乾燥機および洗濯機
10日前
青島海爾洗衣机有限公司
乾燥機および除菌装置
3か月前
青島海爾洗衣机有限公司
排水フィルタ及び洗濯機
1か月前
青島海爾洗衣机有限公司
排水フィルタ及び洗濯機
1か月前
青島海爾洗衣机有限公司
処理液投入装置及び洗濯機
12か月前
青島海爾洗衣机有限公司
処理液投入装置及び洗濯機
12か月前
青島海爾洗衣机有限公司
処理液投入装置及び洗濯機
12か月前
続きを見る
他の特許を見る