TOP
|
特許
|
意匠
|
商標
特許ウォッチ
Twitter
他の特許を見る
公開番号
2025158445
公報種別
公開特許公報(A)
公開日
2025-10-17
出願番号
2024060985
出願日
2024-04-04
発明の名称
冷却貯蔵庫
出願人
フクシマガリレイ株式会社
代理人
個人
主分類
F25C
1/00 20060101AFI20251009BHJP(冷凍または冷却;加熱と冷凍との組み合わせシステム;ヒートポンプシステム;氷の製造または貯蔵;気体の液化または固体化)
要約
【課題】貯蔵室の前後両面に扉が設けられたパススルー型の冷却貯蔵庫において、製氷機能を付与したことに伴って、貯蔵室の収納容量が減少することを防ぐ。
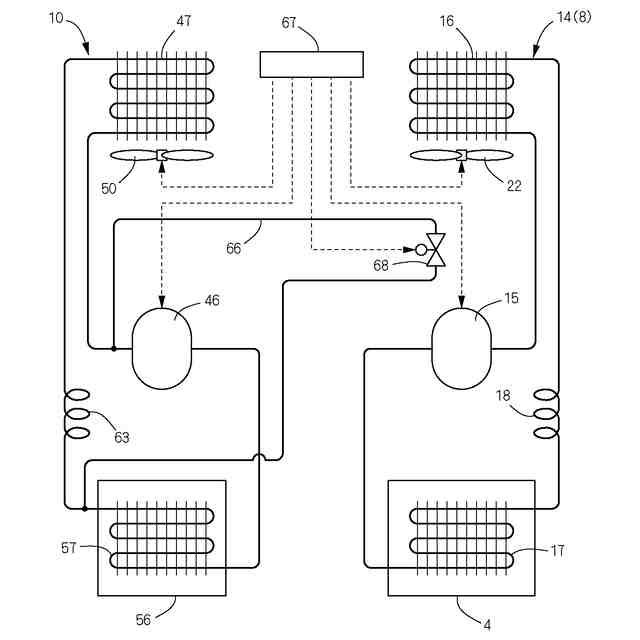
【解決手段】本発明に係る冷却貯蔵庫は、前後両面に開口を有する貯蔵室4と、貯蔵室4の側方に隣接する機械室7とを備える。機械室7の前部に、貯蔵室4を冷却するための冷却ユニット8が収容されており、機械室7の後部に製氷機10が設置されている。これにより、貯蔵室4の収納容量が減少することを防ぐとともに、機械室7における冷却ユニット8の後方のスペースを、製氷機10の設置場所として有効活用することができる。
【選択図】図1
特許請求の範囲
【請求項1】
前後両面に開口を有する貯蔵室(4)と、貯蔵室(4)の側方に隣接する機械室(7)とを備えるパススルー型の冷却貯蔵庫であって、
機械室(7)の前部に、貯蔵室(4)を冷却するための冷却ユニット(8)が収容されており、
機械室(7)の後部に製氷機(10)が設置されていることを特徴とする冷却貯蔵庫。
続きを表示(約 360 文字)
【請求項2】
製氷機(10)は、後面に開口を有する貯氷室(40)と、該開口を開閉する貯氷室扉(43)とを備えており、
貯氷室扉(43)が、貯蔵室(4)の後面開口を開閉する貯蔵室扉(5)と左右に隣接している請求項1に記載の冷却貯蔵庫。
【請求項3】
製氷機(10)は、製氷用水を氷結させて氷を製造する製氷ユニット(36)と、製氷ユニット(36)に冷媒を供給するコンデンシングユニット(39)とを備えており、
冷却ユニット(8)の下方を区画する床板は、製氷機(10)の下方を区画する床板よりも上方側に配置され、冷却ユニット(8)と冷却貯蔵庫の設置面(F)との間に、コンデンシングユニット(39)を空冷した熱交換風が排気される排気空間(S)が形成されている請求項1または2に記載の冷却貯蔵庫。
発明の詳細な説明
【技術分野】
【0001】
本発明は、貯蔵室の前後両面に扉が設けられたパススルー型の冷却貯蔵庫に関する。
続きを表示(約 1,800 文字)
【背景技術】
【0002】
本発明に係る冷却貯蔵庫は、冷却機能だけでなく製氷機能を有するが、このような冷却貯蔵庫は、例えば特許文献1に開示されている。特許文献1の冷却貯蔵庫は、貯蔵対象物を貯蔵するための貯蔵室を有する断熱箱体と、貯蔵室を冷却するための第1冷却装置と、氷を生成するための製氷ユニットとを備える。縦長の直方体形状の断熱箱体は、上下および左右の4つの部屋に画成されており、その右下の部屋に製氷ユニットが収容されている。製氷ユニットは、水を凍結させる製氷部と、製氷部で生成した氷を貯蔵する貯氷部と、製氷部を冷却する第2冷却装置とを含んで構成されている。
【先行技術文献】
【特許文献】
【0003】
特開2022-106149号公報
【発明の概要】
【発明が解決しようとする課題】
【0004】
本発明者は、パススルー型の冷却貯蔵庫に、上記の特許文献1に係る発明と同様に製氷ユニットを組み付けることを考えた。しかし、単純に冷却貯蔵庫の貯蔵室を有する断熱箱体内に製氷ユニットを組み付けると、製氷ユニットの外形寸法分だけ貯蔵室の収納容量が著しく減少することが避けられない。
【0005】
本発明の目的は、貯蔵室の前後両面に扉が設けられたパススルー型の冷却貯蔵庫において、製氷機能を付与したことに伴って、貯蔵室の収納容量が減少することを防ぐことにある。
【課題を解決するための手段】
【0006】
本発明は、前後両面に開口を有する貯蔵室4と、貯蔵室4の側方に隣接する機械室7とを備えるパススルー型の冷却貯蔵庫を対象とする。機械室7の前部に、貯蔵室4を冷却するための冷却ユニット8が収容されており、機械室7の後部に製氷機10が設置されていることを特徴とする。
【0007】
製氷機10は、後面に開口を有する貯氷室40と、該開口を開閉する貯氷室扉43とを備える。貯氷室扉43が、貯蔵室4の後面開口を開閉する貯蔵室扉5と左右に隣接している。
【0008】
製氷機10は、製氷用水を氷結させて氷を製造する製氷ユニット36と、製氷ユニット36に冷媒を供給するコンデンシングユニット39とを備える。冷却ユニット8の下方を区画する床板は、製氷機10の下方を区画する床板よりも上方側に配置され、冷却ユニット8と冷却貯蔵庫の設置面Fとの間に、コンデンシングユニット39を空冷した熱交換風が排気される排気空間Sが形成されている。
【発明の効果】
【0009】
本発明に係るパススルー型の冷却貯蔵庫のように、貯蔵室4を冷却するための冷却ユニット8を機械室7の前部に収容し、機械室7の後部に製氷機10を設置すると、貯蔵室4の収納容量が減少することを防ぐことができる。また、別個の製氷機を冷却貯蔵庫の側方などに設置する場合、すなわち冷却貯蔵庫と製氷機とを別々に設置する場合に比べて、厨房内における厨房機器(冷却貯蔵庫)の設置スペースを小さくすることができる。単純に冷却貯蔵庫の側面に製氷機を連設する構成に比べて、厨房機器の小型化を図ることができる。
【0010】
加えて、従前のパススルー型の冷却貯蔵庫では、機械室内に2基の冷却ユニットを配して、これら2基の冷却ユニットにより冷却貯蔵庫の冷却能力を確保していたが、近年の冷却ユニットの冷却性能の向上を鑑みれば、本発明者はパススルー型の冷却貯蔵庫における冷却ユニットの数は1基で足りると考えている。つまり、パススルー型の冷却貯蔵庫にとって必要な冷却能力は、1基の冷却ユニットで十分に確保することが可能であり、機械室内には1基の冷却ユニットを配すれば足りると考えている。但し、このように機械室内に配される冷却ユニットを2基から1基に減じた場合には、機械室内に大きなデッドスペースが形成されるという新たな不都合を招来するが、本発明においては機械室7内の前部に冷却ユニット8を収容し、機械室7の後部に製氷機10を設置したので、上記のように冷却ユニットを1基に減じたことに伴って、機械室7の内部に生じるデッドスペースを製氷機10の設置場所として無駄なく有効利用することができ、この点でも厨房内における厨房機器(冷却貯蔵庫)の設置スペースを小さくすることができる。また、厨房機器の小型化を図ることができる。
(【0011】以降は省略されています)
この特許をJ-PlatPat(特許庁公式サイト)で参照する
関連特許
株式会社不二工機
膨張弁
26日前
株式会社不二工機
膨張弁
26日前
ホシザキ株式会社
製氷機
1か月前
個人
ヒートポンプ型空気調和機
1か月前
フクシマガリレイ株式会社
断熱扉
27日前
富士電機株式会社
冷却装置
1か月前
ホシザキ株式会社
冷凍装置
1か月前
富士電機株式会社
自動販売機
25日前
ダイキン工業株式会社
冷凍装置
1か月前
富士電機株式会社
冷却システム
2か月前
富士ベンダーサービス株式会社
保管庫
2か月前
フクシマガリレイ株式会社
冷却貯蔵庫
20日前
フクシマガリレイ株式会社
冷却貯蔵庫
1か月前
三菱重工冷熱株式会社
低温冷水供給装置
1か月前
フクシマガリレイ株式会社
ショーケース
1か月前
株式会社ゼロカラ
冷凍装置
5日前
株式会社ゼロカラ
冷凍装置
5日前
アクア株式会社
冷蔵庫
1か月前
ダイキン工業株式会社
冷媒充填方法
1か月前
シャープ株式会社
冷蔵庫
2か月前
フクシマガリレイ株式会社
商品販売システム
1か月前
ホシザキ株式会社
液体凍結装置
2か月前
シャープ株式会社
冷蔵庫
1か月前
株式会社アイシン
冷暖房システム
1か月前
アクア株式会社
冷却ボックス装置
10日前
アクア株式会社
冷却ボックス装置
10日前
島田工業株式会社
製氷装置及び製氷方法
1か月前
株式会社前川製作所
冷却装置
1か月前
株式会社富士通ゼネラル
冷凍サイクル装置
1か月前
株式会社富士通ゼネラル
冷凍サイクル装置
1か月前
株式会社オカムラ
故障予知システム
1か月前
株式会社富士通ゼネラル
冷凍サイクル装置
1か月前
東芝ライフスタイル株式会社
冷却装置
1か月前
東芝ライフスタイル株式会社
冷却装置
1か月前
三菱重工冷熱株式会社
冷却装置
2か月前
日本碍子株式会社
空調システム
1か月前
続きを見る
他の特許を見る