TOP
|
特許
|
意匠
|
商標
特許ウォッチ
Twitter
他の特許を見る
10個以上の画像は省略されています。
公開番号
2025138128
公報種別
公開特許公報(A)
公開日
2025-09-25
出願番号
2024037030
出願日
2024-03-11
発明の名称
製氷機
出願人
ホシザキ株式会社
代理人
個人
,
個人
主分類
F25C
1/00 20060101AFI20250917BHJP(冷凍または冷却;加熱と冷凍との組み合わせシステム;ヒートポンプシステム;氷の製造または貯蔵;気体の液化または固体化)
要約
【課題】薬剤の供給部材を取り外すのを忘れても、供給部材や製氷水供給部が損傷するのを防ぐことができる製氷機を提供する。
【解決手段】箱体10の内部に、製氷水供給部12が上下方向に傾動可能に支持される。箱体10の氷取出口10bに、製氷水供給部12を前側から覆うフロントパネル20が配設される。フロントパネル20に、内外方向に開口する挿入孔を形成した挿入孔部材が配設される。製氷水供給部12の製氷水タンク17の前壁に、受け部材25が取り付けられる。挿入孔に挿入部が挿入された供給部材34は、薬剤の投入口36bが箱体外部に位置すると共に、薬剤の出口が箱体内部に位置する。挿入部は、閉成位置の製氷水供給部12の受け部材25に薬剤を放出可能な位置に出口を臨ませると共に、製氷水供給部12が下方の開放位置に移動する際には製氷水供給部12と接触しない位置に臨む。
【選択図】図2
特許請求の範囲
【請求項1】
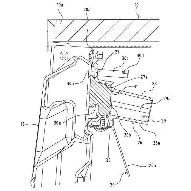
下方に開口する製氷室(11a)を画成した製氷部(11)の下方に、前記製氷室(11a)を閉成可能な水皿(16)および製氷水を貯留可能な製氷水タンク(17)を備えた製氷水供給部(12)が、前記製氷室(11a)を水皿(16)で閉成する閉成位置および開放位置に上下動可能に配設された製氷機において、
前記製氷部(11)および製氷水供給部(12)が収容された箱体(10)の内外方向に開口可能な挿入孔(29)に対し、箱体外部から挿脱可能で、箱体外に臨む入口(36b)に供給された薬剤を箱体内に臨む出口(35b)から放出可能な供給部材(34)と、
前記製氷水タンク(17)に設けられ、前記供給部材(34)の出口(35b)から放出される薬剤を製氷水タンク(17)に案内する受け部材(25)と、を備え、
前記挿入孔(29)に挿入された前記供給部材(34)は、前記受け部材(25)の受け口(25c)における製氷水タンク側の端と、挿入孔側の端との間に挿入側の端が位置するように位置決めされ、
前記製氷水供給部(12)の閉成位置において、前記挿入孔(29)に挿入して位置決めされた前記供給部材(34)の出口(35b)から放出される薬剤を前記受け部材(25)に受け入れると共に、前記製氷水供給部(12)の開放位置への移動に際し、位置決めされている前記供給部材(34)に製氷水供給部(12)および受け部材(25)が接触しないよう構成した
ことを特徴とする製氷機。
続きを表示(約 1,500 文字)
【請求項2】
前記受け部材(25)は、前記製氷水供給部(12)の閉成位置において前記受け口(25c)が上方に開放する受容部(25b)を有し、
前記挿入孔(29)に挿入された前記供給部材(34)の挿入側の端部は、前記受容部(25b)の受け口(25c)から内部に臨むよう構成した請求項1記載の製氷機。
【請求項3】
前記受け部材(25)の前記受容部(25b)は、前記挿入孔側に所定長さで延出し、
前記挿入孔(29)と製氷水タンク(17)との離間距離および/または高さが異なる各種製氷機の製氷水タンク(17)に受け部材(25)を設けた場合においても、前記挿入孔(29)に挿入された前記供給部材(34)の出口(35b)から放出される薬剤を受容部(25b)に受け入れ可能に構成した請求項2記載の製氷機。
【請求項4】
前記挿入孔(29)に挿入された前記供給部材(34)における箱体内に臨む部位の下方に、該供給部材(34)から落下した薬剤を受けて外部に排出する排出手段(32)を設けた請求項1記載の製氷機。
【請求項5】
前記箱体(10)に配設され、前記挿入孔(29)が形成された挿入孔部材(26)と、
前記挿入孔部材(26)に取り付けられ、前記挿入孔(29)を外側から塞ぐ位置と、該挿入孔(29)を外側へ開放する開放位置とに変位可能な蓋部材(30)と、を備え、
前記蓋部材(30)は、前記塞ぐ位置および開放位置では前記挿入孔部材(26)から脱落しないように、脱落防止手段(33)によって挿入孔部材(26)に取り付けられている請求項1記載の製氷機。
【請求項6】
前記箱体(10)は、一側に設けた氷取出口(10b)を開閉する扉(18)を備え、
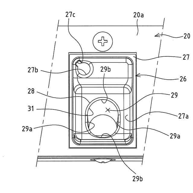
前記氷取出口(10b)を画成すると共に、閉成された前記扉(18)を支持するフロントパネル(20)における扉(18)で覆われる位置に、前記挿入孔(29)を設けた請求項1記載の製氷機。
【請求項7】
前記挿入孔(29)は、箱体外方に開口する挿入口(31)が、平面部(29a,29a)を有するオーバル形状に形成され、
前記供給部材(34)は、前記挿入孔(29)に挿入可能な挿入部(35)が、前記挿入口(31)に嵌合可能な断面オーバル形状に形成されて、該挿入部(35)を前記挿入口(31)に嵌合することで供給部材(34)の周方向の変位が規制されるよう構成した請求項1記載の製氷機。
【請求項8】
前記供給部材(34)に、前記挿入孔(29)に挿入した状態で、前記箱体(10)の天面に当接して周方向の変位を規制する規制部(36a)を設けた請求項1記載の製氷機。
【請求項9】
洗浄運転開始手段(39)の操作に基づいて洗浄運転を実行させる制御手段(38)と、
前記挿入孔(29)に挿入した前記供給部材(34)を検出する検出手段(37)と、が設けられ、
前記制御手段(38)は、前記検出手段(37)による前記供給部材(34)の検出情報がない場合に、前記洗浄運転開始手段(39)が操作されても洗浄運転を実行しないよう構成した請求項1~8の何れか一項に記載の製氷機。
【請求項10】
前記制御手段(38)で制御される報知手段(40)を備え、
前記検出手段(37)が前記供給部材(34)を検出している状態で、前記洗浄運転開始手段(39)が操作された場合に、前記制御手段(38)は、前記報知手段(40)を制御して供給部材(34)が挿入孔(29)に挿入されていることを報知するよう構成した請求項9記載の製氷機。
発明の詳細な説明
【技術分野】
【0001】
この発明は、製氷水タンクに貯留した製氷水を、製氷水タンクと製氷部との間で循環して、該製氷部に氷を生成する製氷機に関するものである。
続きを表示(約 3,000 文字)
【背景技術】
【0002】
下向きに開口する多数の製氷小室に製氷水を下方から噴射供給して、該製氷小室に氷塊を生成する噴射式の製氷機が、喫茶店やレストラン等の施設その他の厨房で好適に使用されている。製氷機の概略構成を説明すれば、箱体内に水平に配置した製氷部に、下方に開口する製氷小室が碁盤目状に多数画成されると共に、該製氷部の上面には、冷凍機構を構成する蒸発器が密着的に蛇行配置される。また、製氷部の下方には、製氷小室に製氷水を供給する水皿および外部水道源から供給される製氷水を貯留する製氷水タンクを備える製氷水供給部が、支軸を介して傾動可能に枢支されている。このように構成された製氷機では、製氷水タンクに貯留した製氷水を、冷凍機構により冷却される製氷部に循環ポンプで供給して該製氷部で氷を生成し、製氷部で氷結しなかった製氷水を製氷水タンクに回収して再循環するよう構成される。
【0003】
前記製氷水タンクと製氷部との間で製氷水を循環する製氷機では、製氷水として用いる水道水に含まれるカルキやミネラル分などの不純物が、製氷水の循環経路にスケールとして経時的に付着して種々の問題を生ずるため、薬液を用いた定期的な洗浄が行われる。薬液洗浄を行うには、固形状または液状の薬剤を製氷水タンク内に供給する必要がある。また、製氷水供給部は、製氷運転と除氷運転とを繰り返す製氷サイクルにおいて上下方向に傾動するので、外部から製氷水供給部へのアクセスを防止するため、製氷機の箱体における前方に開口する本体には、該本体の開口における製氷水供給部の前方を塞ぐフロントパネルがネジ止め固定されている。従って、製氷機で薬液洗浄を行う場合は、本体からフロントパネルを取り外したもとで、水皿と製氷水タンクとの隙間や水皿上面から、ホース等の供給部材を介して薬剤を製氷水タンク内に供給した後、タンク内の水に薬剤が溶けた薬液を、循環ポンプで循環経路に循環している。しかしながら、本体からフロントパネルを取り外したり取り付ける作業にはドライバー等の工具が必要であり、薬液洗浄に伴うフロントパネルの着脱作業が煩雑であった。また、フロントパネルを取り外しても、製氷機外部から水皿と製氷水タンクとの隙間や水皿上面等に供給部材を臨ませる作業がやり難く、薬剤を供給する際の作業性が低いものであった。そこで、フロントパネルに、前後方向に開口する挿入孔を設け、該挿入孔に前側から挿入した供給部材の後端開口をタンク内に臨ませ、該供給部材を介して製氷水タンクに薬剤を供給し得るように構成することで、フロントパネルを取り外すことなく薬液洗浄を行い得るようにした製氷機が提案されている(例えば、特許文献1参照)。
【先行技術文献】
【特許文献】
【0004】
特開2023-147177号公報
【発明の概要】
【発明が解決しようとする課題】
【0005】
特許文献1に開示の製氷機では、挿入孔に差し込んだ供給部材で製氷水タンクに薬剤を供給した後、挿入孔から供給部材を取り外すのを忘れたまま洗浄運転を開始した場合に、製氷水タンク内の洗浄水等を排出する際に傾動する製氷水供給部が供給部材に接触してしまい、供給部材や製氷水供給部が損傷する恐れがあった。
【0006】
本発明は、前述した従来技術に内在する前記課題に鑑み、これらを好適に解決するべく提案されたものであって、薬剤の供給部材を取り外すのを忘れても、供給部材や製氷水供給部が損傷するのを防ぐことができる製氷機を提供することを目的とする。
【課題を解決するための手段】
【0007】
前記課題を克服し、所期の目的を達成するため、第1の手段は、
下方に開口する製氷室を画成した製氷部の下方に、前記製氷室を閉成可能な水皿および製氷水を貯留可能な製氷水タンクを備えた製氷水供給部が、前記製氷室を水皿で閉成する閉成位置および開放位置に上下動可能に配設された製氷機において、
前記製氷部および製氷水供給部が収容された箱体の内外方向に開口可能な挿入孔に対し、箱体外部から挿脱可能で、箱体外に臨む入口に供給された薬剤を箱体内に臨む出口から放出可能な供給部材と、
前記製氷水タンクに設けられ、前記供給部材の出口から放出される薬剤を製氷水タンクに案内する受け部材と、を備え、
前記挿入孔に挿入された前記供給部材は、前記受け部材の受け口における製氷水タンク側の端と、挿入孔側の端との間に挿入側の端が位置するように位置決めされ、
前記製氷水供給部の閉成位置において、前記挿入孔に挿入して位置決めされた前記供給部材の出口から放出される薬剤を前記受け部材に受け入れると共に、前記製氷水供給部の開放位置への移動に際し、位置決めされている前記供給部材に製氷水供給部および受け部材が接触しないよう構成したことを要旨とする。
この構成によれば、挿入孔に挿入された供給部材は、閉成位置から開放位置へ移動する製氷水供給部や受け部材に接触しないので、供給部材を挿入孔から取り外すのを忘れたまま洗浄運転を開始したとしても、供給部材や製氷水供給部および受け部材が損傷するのを防ぐことができる。
【0008】
第2の手段は、前記受け部材は、前記製氷水供給部の閉成位置において前記受け口が上方に開放する受容部を有し、
前記挿入孔に挿入された前記供給部材の挿入側の端部は、前記受容部の受け口から内部に臨むよう構成したことを要旨とする。
この構成によれば、製氷水タンクに設けた受け部材は、受け口が上方に開放する受け部を有しているので、供給部材の出口から放出される薬剤を容易に受け入れることができる。
【0009】
第3の手段は、前記受け部材の前記受容部は、前記挿入孔側に所定長さで延出し、
前記挿入孔と製氷水タンクとの離間距離および/または高さが異なる各種製氷機の製氷水タンクに受け部材を設けた場合においても、前記挿入孔に挿入された前記供給部材の出口から放出される薬剤を受容部に受け入れ可能に構成したことを要旨とする。
この構成によれば、挿入孔と製氷水タンクとの離間距離や高さが異なる機種の製氷機において、挿入孔に挿入された供給部材の出口と製氷水タンクとの距離や高さが異なる場合であっても、供給部材の出口から放出される薬剤を受け部に受け入れて製氷水タンクに案内できる。すなわち、挿入孔から製氷水タンクまでの離間距離や高さが異なる機種の製氷機において、共通の供給部材や受け部材を用いることができ、各機種毎に専用の供給部材や受け部材を製作する必要はなく、コストを低減することができる。
【0010】
第4の手段は、前記挿入孔に挿入された前記供給部材における箱体内に臨む部位の下方に、該供給部材から落下した薬剤を受けて外部に排出する排出手段を設けたことを要旨とする。
この構成によれば、挿入孔から供給部材を取り外す際等に、該供給部材から落下する薬剤を排出手段で外部に排出することができるので、薬剤によって氷塊等が汚染されるのを防ぐことができる。
(【0011】以降は省略されています)
この特許をJ-PlatPat(特許庁公式サイト)で参照する
関連特許
ホシザキ株式会社
製氷機
20日前
個人
ヒートポンプ型空気調和機
26日前
富士電機株式会社
冷却装置
19日前
富士ベンダーサービス株式会社
保管庫
28日前
ダイキン工業株式会社
冷凍装置
5日前
フクシマガリレイ株式会社
ショーケース
7日前
三菱重工冷熱株式会社
低温冷水供給装置
26日前
ダイキン工業株式会社
冷媒充填方法
5日前
アクア株式会社
冷蔵庫
13日前
シャープ株式会社
冷蔵庫
1か月前
フクシマガリレイ株式会社
商品販売システム
今日
シャープ株式会社
冷蔵庫
26日前
島田工業株式会社
製氷装置及び製氷方法
13日前
株式会社アイシン
冷暖房システム
12日前
株式会社富士通ゼネラル
冷凍サイクル装置
6日前
株式会社オカムラ
故障予知システム
20日前
株式会社前川製作所
冷却装置
5日前
株式会社富士通ゼネラル
冷凍サイクル装置
6日前
三菱重工冷熱株式会社
冷却装置
28日前
東芝ライフスタイル株式会社
冷却装置
今日
日本碍子株式会社
空調システム
今日
東芝ライフスタイル株式会社
冷却装置
今日
富士電機株式会社
店舗用冷却装置制御システム
20日前
ホシザキ株式会社
冷却貯蔵庫
1か月前
ダイキン工業株式会社
冷凍装置
20日前
ホシザキ株式会社
冷却貯蔵庫
14日前
ダイキン工業株式会社
冷凍装置
8日前
アイスマン株式会社
造雪装置及び製氷装置
1か月前
ダイキン工業株式会社
固体冷凍装置
12日前
三菱重工サーマルシステムズ株式会社
蒸発器
8日前
東芝ライフスタイル株式会社
冷蔵庫
19日前
ダイキン工業株式会社
空気調和装置
12日前
東芝ライフスタイル株式会社
冷蔵庫
19日前
東芝ライフスタイル株式会社
冷蔵庫
19日前
SWCC株式会社
超電導ケーブルの冷却システム
5日前
シャープ株式会社
断熱箱体、および冷蔵庫
19日前
続きを見る
他の特許を見る