TOP
|
特許
|
意匠
|
商標
特許ウォッチ
Twitter
他の特許を見る
公開番号
2025168896
公報種別
公開特許公報(A)
公開日
2025-11-12
出願番号
2024073741
出願日
2024-04-30
発明の名称
冷凍装置
出願人
株式会社ゼロカラ
代理人
個人
,
個人
,
個人
主分類
F25D
17/02 20060101AFI20251105BHJP(冷凍または冷却;加熱と冷凍との組み合わせシステム;ヒートポンプシステム;氷の製造または貯蔵;気体の液化または固体化)
要約
【課題】 液体凍結方式の冷凍装置において、液面センサを用いた冷却水の水位検知を正確に行うことができる冷凍装置を提供する。
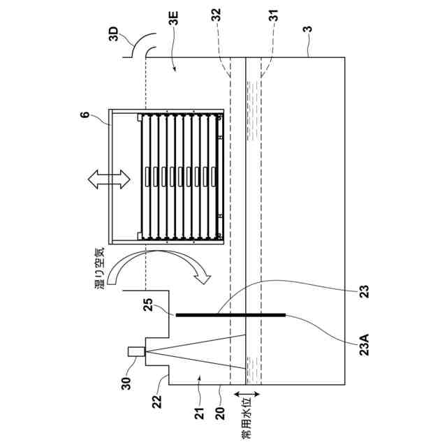
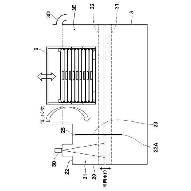
【解決手段】 被冷却物を冷却液に接触させて冷凍する冷凍装置1において、冷却槽3に貯留された冷却液の上方に外部から隔離された検知空間21を形成する隔離構造20と、隔離構造20に形成された通気口25と、検知空間21内において冷却液の水位を検知する液面センサ30を備えた。通気口25は、冷却槽3の上端部3B又はオーバーフロー管3Dよりも下方に形成されている。
【選択図】 図3
特許請求の範囲
【請求項1】
被冷却物を冷却液に接触させて冷凍する冷凍装置において、
前記冷却液が貯留される冷却槽と、
前記冷却槽に貯留された冷却液の上方に外部から隔離された検知空間を形成する隔離構造と、
前記隔離構造に形成された通気口と、
前記検知空間内において前記冷却槽内の冷却液の水位を検知する水位検知装置と
を備えた冷凍装置。
続きを表示(約 210 文字)
【請求項2】
前記通気口は、前記冷却槽の上端部又は前記冷却槽に設けられたオーバーフロー管よりも下方に形成されている請求項1に記載の冷凍装置。
【請求項3】
前記隔離構造は、前記検知空間の上方及び側方を覆う壁部を備えている請求項1に記載の冷凍装置。
【請求項4】
前記隔離構造の下端部は、前記冷却槽における冷却液の下限水位位置よりも下方に配置されている請求項1に記載の冷凍装置。
発明の詳細な説明
【技術分野】
【0001】
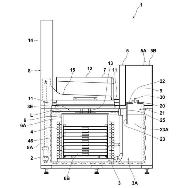
本発明は、食品等の被冷却物を冷却液に浸漬して急速冷凍する液体凍結方式の冷凍装置の改良に関する。
続きを表示(約 1,600 文字)
【背景技術】
【0002】
食品等の被冷却物を急速冷凍するための冷凍装置としては、被冷却物が配置された冷却室内に冷風を吹き入れて冷却を行う空冷式(空気冷凍方式)のものと、被冷却物を低温液体に浸漬して冷却する液体凍結方式のものが知られている。このうち、従来は、空冷式の冷凍装置が主として用いられてきているが、近年は、より急速に高品質の冷凍を行い得る液体凍結方式の冷凍装置にも注目が集まってきている。例えば、特許文献1には、液体凍結方式の冷凍装置において、被冷却物を冷却液内で上下運動させることにより冷却効率を高めた発明が提案されている。
【先行技術文献】
【特許文献】
【0003】
特許第6668563号
【発明の概要】
【発明が解決しようとする課題】
【0004】
このような液体凍結方式の冷凍装置において、冷却槽内に貯留された冷却液(被冷却物から熱を奪う熱媒(ブライン))の液量は、様々な理由により常に変化している。例えば、被凍結品(冷凍済みの被冷却物)を冷凍装置の外に取り出す際に、被凍結品に付着した冷却液が装置外に持ち出されることにより、冷却液の液量が減少することがある。逆に、空気中の蒸気が冷却槽内で凝縮することにより、液量が増加することもある。このような冷却液量の変化は、冷凍装置の機能に悪影響を与える可能性がある。例えば、冷却液量が多くなり過ぎると、オーバーフローによる機器の破損や廃棄冷却液量の増加による製造コストの増大が起こる。また、冷却液量が少なくなり過ぎると、被凍結品が冷却液に浸漬しきれずに適切な凍結ができないといった問題が生じる。このため、冷却液量を適切に保つために、冷却液の液量(水位)を定期的に保守管理することが必要となる。
【0005】
従来、このような冷却液の水位管理は、目視による手動調整が主流であった。しかしながら、このような手動調整には手間がかかり、また、冷却液の出し入れをする作業者への負担も大きい。このため、液面センサで液量を検知して自動的に液量を調整することが考えられるが、冷凍装置では氷点以下の低温冷却液が用いられているため、結氷が生じてしまう結果、液面センサでの正確な検知が妨げられてしまうという問題がある。
【0006】
例えば、図4(A)に示すような非接触式液面センサ101の場合には、冷却槽の壁面102に生じた結氷103により、センサの誤検知や検知精度の悪化が生じてしまう。また、非接触式液面センサを用いた場合でも、図4(B)に示すようなフロート式液面センサでは、フロート104に固着した結氷105が、また、図4(C)に示すようなガイドロープ式液面センサでは、プローブ部106に固着した結氷107が、誤検知や検知精度の悪化の原因となる。
【0007】
本発明は、このような問題点に着目してなされたもので、液体凍結方式の冷凍装置において、液面センサを用いた冷却水の水位検知を正確に行うことができる冷凍装置を提供することを目的とする。
【課題を解決するための手段】
【0008】
本発明は、被冷却物を冷却液に接触させて冷凍する冷凍装置において、前記冷却液が貯留される冷却槽と、前記冷却槽に貯留された冷却液の上方に外部から隔離された検知空間を形成する隔離構造と、前記隔離構造に形成された通気口と、前記検知空間内において前記冷却槽内の冷却液の水位を検知する水位検知装置とを備えた。
【0009】
前記通気口は、前記冷却槽の上端部又は前記冷却槽に設けられたオーバーフロー管よりも下方に形成されていてもよい。
【0010】
前記隔離構造は、前記検知空間の上方及び側方を覆う壁部を備えていてもよい。
(【0011】以降は省略されています)
この特許をJ-PlatPat(特許庁公式サイト)で参照する
関連特許
個人
製氷容器
9日前
株式会社不二工機
膨張弁
1か月前
株式会社不二工機
膨張弁
1か月前
アクア株式会社
冷蔵庫
17日前
アクア株式会社
冷蔵庫
17日前
フクシマガリレイ株式会社
断熱扉
1か月前
ホシザキ株式会社
冷凍装置
1か月前
富士電機株式会社
冷却装置
9日前
富士電機株式会社
自動販売機
1か月前
フクシマガリレイ株式会社
冷却貯蔵庫
1か月前
フクシマガリレイ株式会社
冷却貯蔵庫
1か月前
ダイキン工業株式会社
冷凍装置
1か月前
フクシマガリレイ株式会社
ショーケース
2か月前
株式会社ゼロカラ
冷凍装置
25日前
株式会社ゼロカラ
冷凍装置
25日前
株式会社フィラディス
ワインセラー
17日前
ダイキン工業株式会社
冷媒充填方法
1か月前
株式会社フィラディス
ワインセラー
2日前
アクア株式会社
冷蔵庫
2か月前
FrostiX株式会社
冷凍システム
10日前
フクシマガリレイ株式会社
商品販売システム
1か月前
島田工業株式会社
製氷装置及び製氷方法
2か月前
アクア株式会社
冷却ボックス装置
1か月前
アクア株式会社
冷却ボックス装置
1か月前
株式会社アイシン
冷暖房システム
2か月前
三菱電機株式会社
冷蔵庫
17日前
アイ・ティ・イー株式会社
相変化判定システム
17日前
株式会社富士通ゼネラル
冷凍サイクル装置
1か月前
東芝ライフスタイル株式会社
冷蔵庫
4日前
株式会社富士通ゼネラル
冷凍サイクル装置
1か月前
株式会社前川製作所
冷却装置
1か月前
株式会社富士通ゼネラル
冷凍サイクル装置
1か月前
日本碍子株式会社
空調システム
1か月前
東芝ライフスタイル株式会社
冷却装置
1か月前
株式会社MARS Company
ドラム式製氷機
10日前
株式会社MARS Company
ドラム式製氷機
10日前
続きを見る
他の特許を見る