TOP
|
特許
|
意匠
|
商標
特許ウォッチ
Twitter
他の特許を見る
公開番号
2025168895
公報種別
公開特許公報(A)
公開日
2025-11-12
出願番号
2024073740
出願日
2024-04-30
発明の名称
冷凍装置
出願人
株式会社ゼロカラ
代理人
個人
,
個人
,
個人
主分類
F25D
17/02 20060101AFI20251105BHJP(冷凍または冷却;加熱と冷凍との組み合わせシステム;ヒートポンプシステム;氷の製造または貯蔵;気体の液化または固体化)
要約
【課題】 液体凍結方式の冷凍装置において、冷却液の組成調整のための構成を簡素化でき、装置の小型化やコスト削減を図り得る冷凍装置を提供する。
【解決手段】 被冷却物を冷却槽3内の冷却液に接触させて冷凍する冷凍装置1において、冷却槽3からの冷却液を蒸留して戻り蒸気を生成する蒸留装置20と、蒸留装置20からの戻り蒸気を冷却槽3内に貯留されている冷却液からの冷熱で凝縮して冷却槽3内に戻す凝縮器40を備えた。凝縮器40は、戻り蒸気が流通する凝縮流路として、冷却液内に浸漬された複数のパイプ部材43を備える。
【選択図】 図1
特許請求の範囲
【請求項1】
被冷却物を冷却液に接触させて冷凍する冷凍装置において、
前記冷却液が貯留される冷却槽と、
前記冷却槽内からの冷却液を蒸留して戻り蒸気を生成する蒸留装置と、
前記蒸留装置からの戻り蒸気を前記冷却槽内に貯留されている冷却液からの冷熱で凝縮して前記冷却槽内に戻す凝縮器と
を備えた冷凍装置。
続きを表示(約 250 文字)
【請求項2】
前記凝縮器は、前記戻り蒸気が流通する凝縮流路を備え、
前記凝縮流路は、前記冷却槽内の冷却液に浸漬した状態で配置されている請求項1に記載の冷凍装置。
【請求項3】
前記凝縮器は、複数の凝縮流路を備えている請求項2に記載の冷凍装置。
【請求項4】
前記複数の凝縮流路は、互いに並列に配置された複数のパイプ部材である請求項3に記載の冷凍装置。
【請求項5】
前記冷却液は、アルコール水溶液である請求項1に記載の冷凍装置。
発明の詳細な説明
【技術分野】
【0001】
本発明は、食品等の被冷却物を冷却液に浸漬して急速冷凍する液体凍結方式の冷凍装置の改良に関する。
続きを表示(約 1,900 文字)
【背景技術】
【0002】
食品等の被冷却物を急速冷凍するための冷凍装置としては、被冷却物が配置された冷却室内に冷風を吹き入れて冷却を行う空冷式(空気冷凍方式)のものと、被冷却物を低温液体に浸漬して冷却する液体凍結方式のものが知られている。このうち、従来は、空冷式の冷凍装置が主として用いられてきているが、近年は、より急速に高品質の冷凍を行い得る液体凍結方式の冷凍装置にも注目が集まってきている。例えば、特許文献1には、液体凍結方式の冷凍装置において、被冷却物を冷却液内で上下運動させることにより冷却効率を高めた発明が提案されている。
【先行技術文献】
【特許文献】
【0003】
特許第6668563号
【発明の概要】
【発明が解決しようとする課題】
【0004】
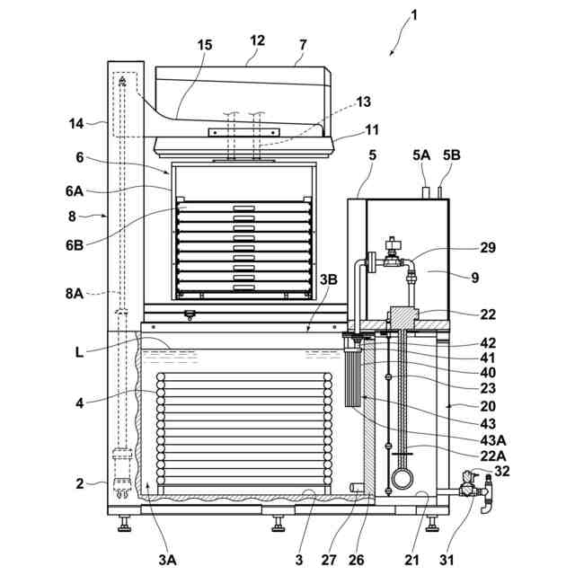
このような液体凍結方式の冷凍装置において、冷却液(ブライン)の組成(成分の混合割合)は、ブライン成分の揮発や空気中の水分凝縮などにより常に変化しており、この組成の変化は、冷凍装置の性能に影響を与える。例えば、冷却液としてアルコール水溶液(例えばエタノール水溶液)を用いた場合、水溶液におけるアルコール濃度の低下は、水溶液の粘性増加に伴う性能の低下を招き、最悪の場合、水溶液が液体状の熱媒として存在することができなくなる結果、冷凍装置の機能不全や故障等が引き起こされてしまう可能性がある。一方、水溶液におけるアルコール濃度が所定の基準値を超えて高まると、その水溶液は消防法上の危険物に該当してしまうため、保管数量が制限され、また安全上の特別な管理も必要となる。したがって、冷却液については、その組成を適正に維持するための保守管理(定期的な組成の調整)が必要となる。このような冷却液の組成の調整(例えば、アルコール水溶液におけるアルコール濃度の調整)は、例えば、蒸留法を用いて実行される。
【0005】
図5には、従来の冷凍装置101において、蒸留法による冷却液の組成調整に関連する構成を模式図で示す。図示されるように、冷凍装置101は、冷却液102(例えば、アルコール水溶液)が貯留される冷却槽103を備えており、収容ユニット104内に保持された被冷却物が、冷却液102(二次冷媒)の中に浸漬されて冷凍されるようになっている。なお、冷却槽103内の冷却液102は、冷媒供給部105から供給される冷媒(一次冷媒)により、所定の低温に冷却される。
【0006】
冷却液102の組成調整(アルコール濃度調整)においては、冷却槽103内の冷却液102の一部が、供給ポンプ106により、供給管路107を通って、蒸留装置120の蒸留槽121内に導入される。蒸留槽121内に導入された冷却液は、ヒータ122で加熱されることにより蒸留される。蒸留により得られたアルコール蒸気は、凝縮器140で凝縮され、凝縮によって得られた高濃度の冷却液が、戻り管路108を通って冷却槽103に戻されることになる。
【0007】
このような構成により、冷却槽103内の冷却液102の濃度を適切に高めることができるが、そのためには、凝縮器140においてアルコール蒸気を冷却するための各種構成が必要となっていた。すなわち、アルコール蒸気の凝縮(冷却による液化)のためには、低温に冷却された冷却水を凝縮器140に供給する必要があるので、冷却水供給のための循環ポンプ151及び冷却水循環管路152や、冷却水冷却のための冷却装置153等の構成が必要となる。このため、装置が大型化したり、装置のためのコストが上昇したりしてしまっていた。
【0008】
本発明は、このような問題点に着目してなされたもので、液体凍結方式の冷凍装置において、冷却液の組成調整のための構成を簡素化でき、装置の小型化やコスト削減を図り得る冷凍装置を提供することを目的とする。
【課題を解決するための手段】
【0009】
本発明は、被冷却物を冷却液に接触させて冷凍する冷凍装置において、前記冷却液が貯留される冷却槽と、前記冷却槽内からの冷却液を蒸留して戻り蒸気を生成する蒸留装置と、前記蒸留装置からの戻り蒸気を前記冷却槽内に貯留されている冷却液からの冷熱で凝縮して前記冷却槽内に戻す凝縮器とを備えた。
【0010】
前記凝縮器は、前記戻り蒸気が流通する凝縮流路を備え、前記凝縮流路は、前記冷却槽内の冷却液に浸漬した状態で配置されていてもよい。
(【0011】以降は省略されています)
この特許をJ-PlatPat(特許庁公式サイト)で参照する
関連特許
個人
製氷容器
10日前
株式会社不二工機
膨張弁
1か月前
株式会社不二工機
膨張弁
1か月前
アクア株式会社
冷蔵庫
18日前
アクア株式会社
冷蔵庫
18日前
フクシマガリレイ株式会社
断熱扉
1か月前
ホシザキ株式会社
冷凍装置
1か月前
富士電機株式会社
冷却装置
10日前
富士電機株式会社
自動販売機
1か月前
フクシマガリレイ株式会社
冷却貯蔵庫
1か月前
フクシマガリレイ株式会社
冷却貯蔵庫
1か月前
ダイキン工業株式会社
冷凍装置
1か月前
フクシマガリレイ株式会社
ショーケース
2か月前
株式会社ゼロカラ
冷凍装置
26日前
株式会社ゼロカラ
冷凍装置
26日前
株式会社フィラディス
ワインセラー
18日前
ダイキン工業株式会社
冷媒充填方法
1か月前
株式会社フィラディス
ワインセラー
3日前
アクア株式会社
冷蔵庫
2か月前
FrostiX株式会社
冷凍システム
11日前
フクシマガリレイ株式会社
商品販売システム
1か月前
島田工業株式会社
製氷装置及び製氷方法
2か月前
アクア株式会社
冷却ボックス装置
1か月前
アクア株式会社
冷却ボックス装置
1か月前
株式会社アイシン
冷暖房システム
2か月前
三菱電機株式会社
冷蔵庫
18日前
アイ・ティ・イー株式会社
相変化判定システム
18日前
株式会社富士通ゼネラル
冷凍サイクル装置
2か月前
東芝ライフスタイル株式会社
冷蔵庫
5日前
株式会社富士通ゼネラル
冷凍サイクル装置
2か月前
株式会社前川製作所
冷却装置
1か月前
株式会社富士通ゼネラル
冷凍サイクル装置
1か月前
日本碍子株式会社
空調システム
1か月前
東芝ライフスタイル株式会社
冷却装置
1か月前
株式会社MARS Company
ドラム式製氷機
11日前
株式会社MARS Company
ドラム式製氷機
11日前
続きを見る
他の特許を見る