TOP
|
特許
|
意匠
|
商標
特許ウォッチ
Twitter
他の特許を見る
10個以上の画像は省略されています。
公開番号
2025159853
公報種別
公開特許公報(A)
公開日
2025-10-22
出願番号
2024062666
出願日
2024-04-09
発明の名称
膨張弁
出願人
株式会社不二工機
代理人
主分類
F25B
41/335 20210101AFI20251015BHJP(冷凍または冷却;加熱と冷凍との組み合わせシステム;ヒートポンプシステム;氷の製造または貯蔵;気体の液化または固体化)
要約
【課題】弁室の内周面に摩耗が生じることを防止できる膨張弁を提供すること。
【解決手段】膨張弁1は、弁本体10と、弁体20と、付勢装置40と、制振ばね70とを備えている。弁体10は、弁室11とオリフィス12とを有する。弁体20は、弁室11に配置される。付勢装置40は、弁室11内において、弁体20を挟んでオリフィス12と反対側に設けられる。付勢装置40は、コイルばね41と、支持部44とを備えている。コイルばね41は、弁体20をオリフィス12に向かって付勢する。支持部44は、コイルばね41が内方に配置されてコイルばね41を支持する。制振ばね70は、基部と、複数の脚部とを備えている。基部は、弁体20とコイルばね41との間に配置される。複数の脚部は、基部から支持部44の外周面に向かって延びて外周面に摺接するとともに弁室11の内面に当接しない。
【選択図】図1
特許請求の範囲
【請求項1】
弁室とオリフィスとを有する弁本体と、
前記弁室に配置された弁体と、
前記弁室内において、前記弁体を挟んで前記オリフィスと反対側に設けられる付勢装置であって、前記弁体を前記オリフィスに向かって付勢するコイルばねと、前記コイルばねが内方に配置されて前記コイルばねを支持する筒状の支持部とを備える付勢装置と、
前記弁体と前記コイルばねとの間に配置される基部と、前記基部から前記支持部の外周面に向かって延びて前記外周面に圧接するとともに前記弁室の内面に当接しない複数の脚部とを備える制振ばねと、
を具備する膨張弁。
続きを表示(約 570 文字)
【請求項2】
前記脚部は、前記基部側から前記弁室の内周面側に向かって延びる第1の部分と、前記第1の部分側から前記支持部まで延びる第2の部分とを備え、
前記第2の部分が前記支持部に圧接する、
請求項1に記載の膨張弁。
【請求項3】
前記脚部は、前記基部側から前記支持部側に屈曲する第1の屈曲部と、前記第1の屈曲部から前記支持部まで延出する側部とを備え、
前記制振ばねが前記付勢装置から取り外された状態において、前記側部は直線状である、
請求項1に記載の膨張弁。
【請求項4】
前記脚部は、前記支持部側に突出する突出部を有し、
前記突出部の一部が前記支持部の前記外周面に圧接する、
請求項1に記載の膨張弁。
【請求項5】
前記脚部は、前記支持部から離れる側に向かって屈曲する第2の屈曲部を有し、
前記第2の屈曲部の、前記支持部に面する谷部の一部が前記支持部に圧接する、
請求項1に記載の膨張弁。
【請求項6】
前記付勢装置は、前記弁本体に着脱可能に固定される第1の部材と、前記第1の部材に着脱可能に固定され、前記制振ばねが圧接する被摺接部を有する第2の部材と、
を備える、
請求項1に記載の膨張弁。
発明の詳細な説明
【技術分野】
【0001】
本発明は、膨張弁に関する。
続きを表示(約 1,600 文字)
【背景技術】
【0002】
従前から、空調用の冷凍サイクルに膨張弁が用いられている。膨張弁として、弁室に配置された弁体の振動を抑制する制振ばねを備える膨張弁が知られている。制振ばねとして、弁体と一体的に構成されて複数の脚部を備える制振ばねが知られている。複数の脚部は、弁室の内周面に圧接しており、板ばねとして作用する。この種の制振ばねは、弁体と一体的に変位し、この変位の際に複数の脚部が弁室の内周面に摺接する。弁体に生じた振動は、複数の脚部の弁室の内周面に対する摺接によって吸収されることで、抑制される(例えば、特許文献1参照)。
【先行技術文献】
【特許文献】
【0003】
特許第6697976
【発明の概要】
【発明が解決しようとする課題】
【0004】
上述の複数の脚部を備える制振ばねは、制振効果を向上する為に、複数の脚部の弁室内周面に対する荷重を増大することが考えられる。
【0005】
しかしながら、弁室を内部に有する弁本体は、一般的にアルミニウムを主材料として形成されている。一方、制振ばねは、ステンレスを主材料として形成されている。このように、制振ばねの硬度が弁室内周面の硬度より高い。このため、複数の脚部の弁室内周面に対する荷重を増大すると、弁室内周面の摩耗が大きくなるおそれがある。
【0006】
本発明は、弁室内周面の摩耗発生を防止できる膨張弁を提供することを目的とする。
【課題を解決するための手段】
【0007】
本発明の膨張弁は、弁本体と、弁体と、付勢装置と、制振ばねと、を備えている。前記弁本体は、弁室とオリフィスとを有している。前記弁体は、前記弁室に配置される。前記付勢装置は、前記弁室内において、前記弁体を挟んで前記オリフィスと反対側に設けられる。前記付勢装置は、コイルばねと、支持部とを備えている。前記コイルばねは、前記弁体を前記オリフィスに向かって付勢する。前記支持部は、前記付勢部材が内方に配置されて前記コイルばねを支持する筒状である。前記制振ばねは、基部と、複数の脚部とを備えている。前記基部は、前記弁体と前記ばねとの間に配置される。前記複数の脚部は前記基部から前記支持部の外周面に向かって延びて前記外周面に圧接するとともに前記弁室の内面に当接しない。
【発明の効果】
【0008】
本発明によれば、弁室内周面の摩耗発生を防止できる膨張弁を提供できる。
【図面の簡単な説明】
【0009】
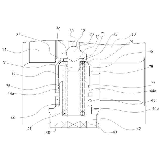
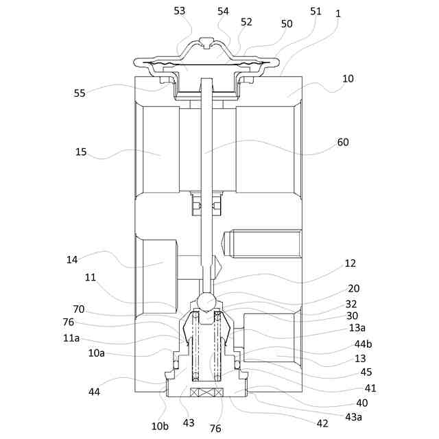
本発明の第1の実施形態に係る膨張弁を示す断面図。
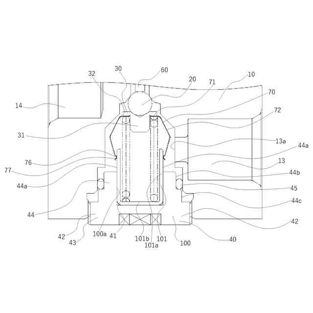
同膨張弁の要部を一部分解して示す断面図。
同膨張弁の制振ばねを示す平面図。
同膨張弁の制振ばねの突出部及びその近傍を示す平面図。
本発明の第2の実施形態に係る膨張弁の要部を示す断面図。
本発明の第3の実施形態に係る膨張弁の要部を示す断面図。
同膨張弁の制振ばねの屈曲部及びその近傍を示す断面図。
図6の断面F8-F8線に沿って示す断面図。
本発明の第4の実施形態に係る膨張弁の要部を示す断面図。
同膨張弁の変形例を示す断面図。
【発明を実施するための形態】
【0010】
[第1の実施形態]
本発明の第1の実施形態に係る膨張弁1を、図1乃至図4を用いて説明する。
図1は、膨張弁1を示す断面図である。図2は、膨張弁1の要部を分解して示す断面図である。図2は、弁体20と、弁体支持部材30と、制振ばね70と、付勢装置40とを示している。図3は、制振ばね70を示す平面図である。なお、図3は、制振ばね70の側部75の図示は省略されている。図4は、制振ばね70の脚部72の突出部77を示す平面図である。
(【0011】以降は省略されています)
この特許をJ-PlatPat(特許庁公式サイト)で参照する
関連特許
株式会社不二工機
膨張弁
26日前
株式会社不二工機
膨張弁
26日前
株式会社不二工機
電動弁
1か月前
株式会社不二工機
流路切換弁
24日前
株式会社不二工機
電動弁および弁装置
1か月前
株式会社不二工機
弁ユニットおよび弁装置
1か月前
株式会社不二工機
流路切換弁
1か月前
株式会社不二工機
膨張弁
26日前
株式会社不二工機
膨張弁
26日前
ホシザキ株式会社
製氷機
1か月前
個人
ヒートポンプ型空気調和機
1か月前
フクシマガリレイ株式会社
断熱扉
27日前
富士電機株式会社
冷却装置
1か月前
ホシザキ株式会社
冷凍装置
1か月前
富士電機株式会社
自動販売機
25日前
ダイキン工業株式会社
冷凍装置
1か月前
富士電機株式会社
冷却システム
2か月前
富士ベンダーサービス株式会社
保管庫
2か月前
フクシマガリレイ株式会社
冷却貯蔵庫
20日前
フクシマガリレイ株式会社
冷却貯蔵庫
1か月前
三菱重工冷熱株式会社
低温冷水供給装置
1か月前
フクシマガリレイ株式会社
ショーケース
1か月前
株式会社ゼロカラ
冷凍装置
5日前
株式会社ゼロカラ
冷凍装置
5日前
アクア株式会社
冷蔵庫
1か月前
ダイキン工業株式会社
冷媒充填方法
1か月前
シャープ株式会社
冷蔵庫
2か月前
フクシマガリレイ株式会社
商品販売システム
1か月前
ホシザキ株式会社
液体凍結装置
2か月前
シャープ株式会社
冷蔵庫
1か月前
株式会社アイシン
冷暖房システム
1か月前
アクア株式会社
冷却ボックス装置
10日前
アクア株式会社
冷却ボックス装置
10日前
島田工業株式会社
製氷装置及び製氷方法
1か月前
株式会社前川製作所
冷却装置
1か月前
株式会社富士通ゼネラル
冷凍サイクル装置
1か月前
続きを見る
他の特許を見る