TOP
|
特許
|
意匠
|
商標
特許ウォッチ
Twitter
他の特許を見る
10個以上の画像は省略されています。
公開番号
2025155425
公報種別
公開特許公報(A)
公開日
2025-10-14
出願番号
2024059248
出願日
2024-04-01
発明の名称
電動弁および弁装置
出願人
株式会社不二工機
代理人
弁理士法人オーパス国際特許事務所
主分類
F16K
31/04 20060101AFI20251006BHJP(機械要素または単位;機械または装置の効果的機能を生じ維持するための一般的手段)
要約
【課題】弁体を移動させる力が大きくかつ弁体の位置を細かく制御できる小型の電動弁および弁装置を提供する。
【解決手段】電動弁1は、弁本体10と、弁本体10に取り付けられるローターケース30と、ローターケース30の内側に配置されるローター35と、ローター35の内側に配置されるステーター90と、弁本体10の内側に配置される駆動部材60と、ローター35の回転を駆動部材60に伝える減速歯車機構50と、駆動部材60の回転に応じて移動する弁体20と、を有する。
【選択図】図2
特許請求の範囲
【請求項1】
弁本体と、
前記弁本体に取り付けられる筒形状のローターケースと、
前記ローターケースの内側に配置される円筒形状のマグネットローターと、
前記マグネットローターの内側に配置されるステーターと、
前記弁本体の内側に配置される駆動部材と、
前記マグネットローターの回転を前記駆動部材に伝える減速歯車機構と、
前記駆動部材の回転に応じて移動する弁体と、を有することを特徴とする電動弁。
続きを表示(約 1,500 文字)
【請求項2】
前記電動弁が、円筒形状の周壁部と、前記周壁部の第1端に接続された円板形状の底壁部と、前記周壁部の第2端に内周縁が接続された環状部と、を一体的に有する内ケースをさらに有し、
前記環状部の外周縁が、前記ローターケースの一端に接合され、
前記周壁部および前記底壁部が、前記マグネットローターの内側に配置され、
前記周壁部の内側に、前記ステーターが配置される、請求項1に記載の電動弁。
【請求項3】
前記減速歯車機構が、第1歯車と、中間歯車体と、を有し、
前記第1歯車が、前記マグネットローターに同軸に固定され、
前記中間歯車体が、前記第1歯車と噛み合う第2歯車と、前記第2歯車に同軸に固定された第3歯車と、を有し、
前記駆動部材が、前記第3歯車と噛み合う第4歯車を有する、請求項2に記載の電動弁。
【請求項4】
前記駆動部材が、前記マグネットローターと同軸に配置され、
前記減速歯車機構が、梁部材と、歯車軸と、ピンと、をさらに有し、
前記梁部材が、前記マグネットローターと前記駆動部材との間に配置され、
前記歯車軸が、前記第1歯車を貫通し、
前記底壁部が、前記歯車軸の一端を支持する歯車軸受を有し、
前記梁部材が、前記歯車軸の他端を支持する歯車軸穴と、前記ピンの一端を支持する第1ピン穴と、を有し、
前記駆動部材が、前記ピンの他端を支持する第2ピン穴を有する、請求項3に記載の電動弁。
【請求項5】
前記ピンが前記第1ピン穴の底面に接したとき、前記駆動部材が前記梁部材と離れておりかつ前記駆動部材の前記梁部材に向かう移動が規制される、請求項4に記載の電動弁。
【請求項6】
前記駆動部材が、前記マグネットローターと同軸に配置され、
前記減速歯車機構が、太陽歯車と、歯車軸と、回転出力部と、を有する遊星歯車機構であり、
前記太陽歯車が、前記マグネットローターに同軸に固定され、
前記歯車軸が、前記太陽歯車を貫通し、
前記回転出力部が、前記駆動部材に接続され、
前記底壁部が、前記歯車軸の一端を支持する歯車軸受を有し、
前記駆動部材が、前記歯車軸の他端を支持する歯車軸穴を有する、請求項2に記載の電動弁。
【請求項7】
前記歯車軸が前記底壁部に接したとき、前記マグネットローターが前記底壁部と離れておりかつ前記駆動部材の前記底壁部に向かう移動が規制される、請求項6に記載の電動弁。
【請求項8】
前記減速歯車機構が、固定内歯歯車と、遊星歯車と、キャリアと、回転内歯歯車と、をさらに有し、
前記固定内歯歯車が、前記弁本体に対して固定され、
前記遊星歯車が、前記太陽歯車および前記固定内歯歯車と噛み合い、
前記キャリアが、前記遊星歯車を回転可能に支持し、
前記回転内歯歯車が、前記回転出力部であり、前記遊星歯車と噛み合う、請求項6に記載の電動弁。
【請求項9】
前記減速歯車機構が、固定内歯歯車と、遊星歯車と、キャリアと、をさらに有し、
前記固定内歯歯車が、前記弁本体に対して固定され、
前記遊星歯車が、前記太陽歯車および前記固定内歯歯車と噛み合い、
前記キャリアが、前記回転出力部であり、前記遊星歯車を回転可能に支持する、請求項6に記載の電動弁。
【請求項10】
請求項1~請求項9のいずれか一項に記載の電動弁と、前記電動弁が配置される取付面を有する流路ブロックと、を有する弁装置。
発明の詳細な説明
【技術分野】
【0001】
本発明は、電動弁および弁装置に関する。
続きを表示(約 1,700 文字)
【背景技術】
【0002】
特許文献1は、従来の電動弁の一例を開示している。電動弁は、弁本体と、弁体と、ケースと、マグネットローターと、ステーターと、を有する。ケースは、円筒形状を有しており、弁本体に接合される。マグネットローターはケースの内側に配置される。ステーターはケースの外側に配置される。マグネットローターとステーターとは、モーターを構成する。マグネットローターが回転すると弁体が移動する。
【先行技術文献】
【特許文献】
【0003】
特開2022-83453号公報
【発明の概要】
【発明が解決しようとする課題】
【0004】
特許文献1の電動弁は、例えば、図19に示す弁装置803に用いられる。弁装置803は、複数の電動弁801と、流路ブロック850と、を有する。流路ブロック850は、直方体形状を有しており、複数の電動弁801が配置される取付面851を有する。電動弁801はステーターがケースの外側に配置されているので外径が大きく、電動弁801を配置するための大きな空間が必要である。そのため、流路ブロック850において、比較的大きな取付面851が必要となる。
【0005】
マグネットローターの内側にステーターを配置することで電動弁を小さくすることができる。しかしながら、マグネットローターの内径が比較的小さいので、マグネットローターの内周面に磁力の強い磁極を設けること、および、多くの磁極を設けることが難しい。そのため、電動弁において、モーターのトルクが小さく、弁体を移動させる力が小さい。また、モーターがステッピングモーターである場合には、1パルス当たりのマグネットローターの回転角度(ステップ角)が大きく、電動弁において、弁体の位置を細かく制御できない。
【0006】
そこで、本発明は、弁体を移動させる力が大きくかつ弁体の位置を細かく制御できる小型の電動弁および弁装置を提供することを目的とする。
【課題を解決するための手段】
【0007】
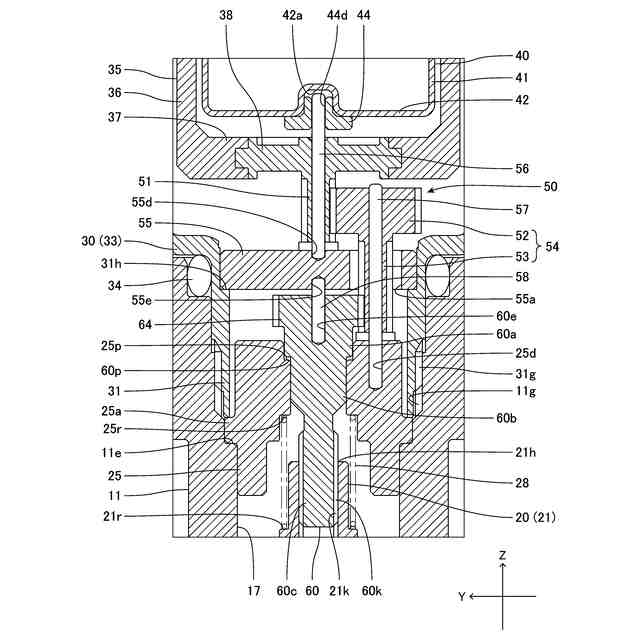
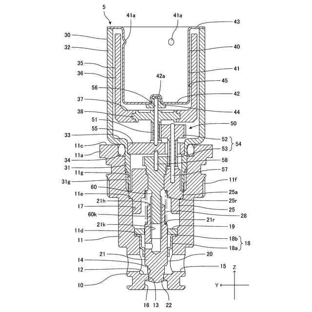
上記目的を達成するために、本発明の一態様に係る電動弁は、弁本体と、前記弁本体に取り付けられる筒形状のローターケースと、前記ローターケースの内側に配置される円筒形状のマグネットローターと、前記マグネットローターの内側に配置されるステーターと、前記弁本体の内側に配置される駆動部材と、前記マグネットローターの回転を前記駆動部材に伝える減速歯車機構と、前記駆動部材の回転に応じて移動する弁体と、を有することを特徴とする。
【0008】
本発明において、前記電動弁が、円筒形状の周壁部と、前記周壁部の第1端に接続された円板形状の底壁部と、前記周壁部の第2端に内周縁が接続された環状部と、を一体的に有する内ケースをさらに有し、前記環状部の外周縁が、前記ローターケースの一端に接合され、前記周壁部および前記底壁部が、前記マグネットローターの内側に配置され、前記周壁部の内側に、前記ステーターが配置される、ことが好ましい。
【0009】
本発明において、前記減速歯車機構が、第1歯車と、中間歯車体と、を有し、前記第1歯車が、前記マグネットローターに同軸に固定され、前記中間歯車体が、前記第1歯車と噛み合う第2歯車と、前記第2歯車に同軸に固定された第3歯車と、を有し、前記駆動部材が、前記第3歯車と噛み合う第4歯車を有する、ことが好ましい。
【0010】
本発明において、前記駆動部材が、前記マグネットローターと同軸に配置され、前記減速歯車機構が、梁部材と、歯車軸と、ピンと、をさらに有し、前記梁部材が、前記マグネットローターと前記駆動部材との間に配置され、前記歯車軸が、前記第1歯車を貫通し、前記底壁部が、前記歯車軸の一端を支持する歯車軸受を有し、前記梁部材が、前記歯車軸の他端を支持する歯車軸穴と、前記ピンの一端を支持する第1ピン穴と、を有し、前記駆動部材が、前記ピンの他端を支持する第2ピン穴を有する、ことが好ましい。
(【0011】以降は省略されています)
この特許をJ-PlatPat(特許庁公式サイト)で参照する
関連特許
株式会社不二工機
電磁弁
12日前
株式会社不二工機
膨張弁
1か月前
株式会社不二工機
膨張弁
1か月前
株式会社不二工機
流路切換弁
12日前
株式会社不二工機
流路切換弁
12日前
株式会社不二工機
流路切換弁
1か月前
株式会社不二工機
電動弁および弁装置
1か月前
株式会社不二工機
流路切換弁
1か月前
個人
留め具
1か月前
個人
鍋虫ねじ
3か月前
個人
紛体用仕切弁
3か月前
個人
回転伝達機構
4か月前
個人
差動歯車用歯形
5か月前
個人
ジョイント
2か月前
個人
給排気装置
2か月前
個人
地震の揺れ回避装置
4か月前
個人
ナット
1か月前
個人
ナット
2か月前
株式会社不二工機
電磁弁
5か月前
株式会社不二工機
電磁弁
6か月前
個人
吐出量監視装置
3か月前
個人
ゲート弁バルブ
18日前
カヤバ株式会社
ダンパ
5か月前
カヤバ株式会社
緩衝器
5か月前
カヤバ株式会社
ダンパ
5か月前
兼工業株式会社
バルブ
1か月前
カヤバ株式会社
緩衝器
5か月前
カヤバ株式会社
緩衝器
2か月前
柿沼金属精機株式会社
分岐管
3か月前
株式会社ノーリツ
分配弁
7か月前
株式会社ニフコ
クリップ
2か月前
株式会社ノーリツ
分配弁
7か月前
個人
固着具と固着具の固定方法
6か月前
株式会社不二工機
電動弁
2か月前
株式会社ニフコ
クリップ
18日前
株式会社不二工機
電磁弁
3か月前
続きを見る
他の特許を見る