TOP
|
特許
|
意匠
|
商標
特許ウォッチ
Twitter
他の特許を見る
公開番号
2025172472
公報種別
公開特許公報(A)
公開日
2025-11-26
出願番号
2024077997
出願日
2024-05-13
発明の名称
電磁弁
出願人
株式会社不二工機
代理人
弁理士法人信栄事務所
主分類
F16K
31/06 20060101AFI20251118BHJP(機械要素または単位;機械または装置の効果的機能を生じ維持するための一般的手段)
要約
【課題】小型で高差圧でも開閉可能な電磁弁を提供する。
【解決手段】電磁弁1は、主弁室11に連通する流入路12、主弁室11内に配置された主弁座14、及び流出路13を備えた弁本体10と、パイロット弁口25を備え、主弁座14に着座又は離間することで流出路13を開閉可能である主弁体20と、パイロット弁口25を開閉可能なパイロット弁体30と、パイロット弁体30を駆動可能な駆動部40と、を備える。駆動部40は、電磁コイル41と、電磁コイル41の中心軸方向Yに移動可能なプランジャ42と、弁本体10に固定され、電磁コイル41の電磁力によりプランジャ42を吸引可能な吸引子44と、パイロット弁体30をパイロット弁口25から離間する離間方向に付勢する第一コイルばね46a及び第二コイルばね46bと、を有する。
【選択図】図1
特許請求の範囲
【請求項1】
主弁室に連通する流入路、前記主弁室内に配置された主弁座、及び流出路を備えた弁本体と、
パイロット弁口を備え、前記主弁座に着座又は離間することで前記流出路を開閉可能である主弁体と、
前記パイロット弁口を開閉可能なパイロット弁体と、
前記パイロット弁体を駆動可能な駆動部と、
を備え、
前記駆動部は、
電磁コイルと、
前記電磁コイルの中心軸方向に移動可能なプランジャと、
前記弁本体に固定され、前記電磁コイルの電磁力により前記プランジャを吸引可能な吸引子と、
前記パイロット弁体を前記パイロット弁口から離間する離間方向に付勢する第一コイルばね及び第二コイルばねと、
を有し、
前記プランジャと前記吸引子との間の前記中心軸方向の距離であるギャップが所定値以下の場合、前記パイロット弁体は前記第一コイルばね及び前記第二コイルばねによって付勢され、
前記ギャップが前記所定値より大きい場合、前記パイロット弁体は前記第一コイルばねによって付勢されることを特徴とする電磁弁。
続きを表示(約 960 文字)
【請求項2】
前記第一コイルばねは、全ストロークで弾性力を発揮し、
前記第二コイルばねは、前記ギャップが前記所定値以下の場合に弾性力を発揮する、請求項1に記載の電磁弁。
【請求項3】
前記第一コイルばね及び前記第二コイルばねは、少なくとも一部が前記中心軸方向に直交する方向から見て重なるように配置されている、請求項1に記載の電磁弁。
【請求項4】
前記第一コイルばねの弾性係数は、前記第二コイルばねの弾性係数よりも小さい、請求項1に記載の電磁弁。
【請求項5】
前記駆動部は、前記第一コイルばねの弾性力を受けるリング形状の第一ばね受部材と、前記第二コイルばねの弾性力を受けるリング形状の第二ばね受部材と、を有し、
前記パイロット弁体は、前記第一ばね受部材が当接される第一段差面と、前記第一段差面より外側に位置し、前記第二ばね受部材の内周側が当接される第二段差面と、を有し、
前記吸引子は、前記第二ばね受部材の外周側が当接される第三段差面を有し、
前記パイロット弁体は、
前記第一段差面において、前記第一ばね受部材を介して前記第一コイルばねによって前記離間方向に付勢され、
前記ギャップが所定値以下の場合、前記第二段差面において、前記第二ばね受部材の内周側を介して前記第二コイルばねによって前記離間方向に付勢され、
前記ギャップが前記所定値より大きい場合、前記第二ばね受部材の外周側が前記第三段差面に当接することにより、前記第二コイルばねによって前記離間方向に付勢されない、請求項1に記載の電磁弁。
【請求項6】
前記電磁コイルの通電時に、前記第二段差面は前記第三段差面よりも前記パイロット弁口側に位置し、
前記電磁コイルの非通電時に、前記第二段差面は前記第三段差面よりも前記プランジャ側に位置する、請求項5に記載の電磁弁。
【請求項7】
前記駆動部は、前記第一コイルばね及び前記第二コイルばねを支持するリング形状の支持部材を有し、
前記第一コイルばね及び前記第二コイルばねは、前記支持部材を介して、前記弁本体に当接されている、請求項1に記載の電磁弁。
発明の詳細な説明
【技術分野】
【0001】
本開示は、電磁弁に関する。
続きを表示(約 1,600 文字)
【背景技術】
【0002】
電磁コイルの通電をオンしてプランジャと吸引子の間の吸引力によりパイロット弁体をパイロット弁口に向かって押し下げて閉弁し、電磁コイルの通電をオフしてコイルばねによりパイロット弁体をパイロット弁口から押し上げて開弁する、通電時閉型の電磁弁が知られている(例えば、特許文献1)。
【先行技術文献】
【特許文献】
【0003】
特開2022-112146号公報
【発明の概要】
【発明が解決しようとする課題】
【0004】
パイロット流入路とパイロット流出路の差圧が高い場合でも開弁できるようにするためには、コイルばねの弾性力を大きくする必要がある。しかしながら、コイルばねの弾性力を大きくすると、閉弁するためのプランジャと吸引子の間の吸引力を大きくする必要があり、電磁弁が大型化してしまうという課題がある。
【0005】
本開示は、小型で高差圧でも開閉可能な電磁弁を提供することを目的とする。
【課題を解決するための手段】
【0006】
本発明の一側面に係る電磁弁は、
主弁室に連通する流入路、前記主弁室内に配置された主弁座、及び流出路を備えた弁本体と、
パイロット弁口を備え、前記主弁座に着座又は離間することで前記流出路を開閉可能である主弁体と、
前記パイロット弁口を開閉可能なパイロット弁体と、
前記パイロット弁体を駆動可能な駆動部と、
を備え、
前記駆動部は、
電磁コイルと、
前記電磁コイルの中心軸方向に移動可能なプランジャと、
前記弁本体に固定され、前記電磁コイルの電磁力により前記プランジャを吸引可能な吸引子と、
前記パイロット弁体を前記パイロット弁口から離間する離間方向に付勢する第一コイルばね及び第二コイルばねと、
を有し、
前記プランジャと前記吸引子との間の前記中心軸方向の距離であるギャップが所定値以下の場合、前記パイロット弁体は前記第一コイルばね及び前記第二コイルばねによって付勢され、
前記ギャップが前記所定値より大きい場合、前記パイロット弁体は前記第一コイルばねによって付勢される。
【発明の効果】
【0007】
本開示によれば、小型で高差圧でも開閉可能な電磁弁を提供することができる。
【図面の簡単な説明】
【0008】
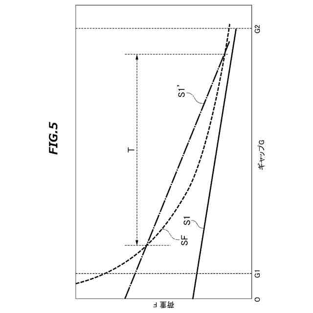
本開示の実施形態に係る電磁弁の非通電時における縦断面図である。
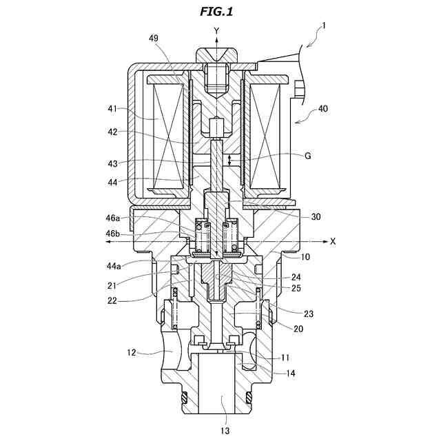
本開示の実施形態に係る電磁弁の通電時における縦断面図である。
本開示の実施形態に係る電磁弁の非通電時における部分縦断面図である。
本開示の実施形態に係る電磁弁の通電時における部分縦断面図である。
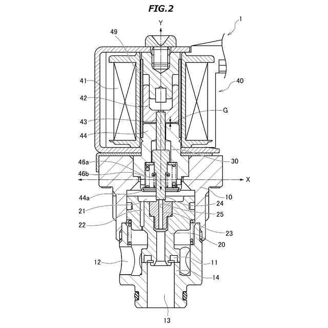
参考例に係る電磁弁のギャップと荷重の関係を示すグラフである。
本開示の実施形態に係る電磁弁のギャップと荷重の関係を示すグラフである。
【発明を実施するための形態】
【0009】
以下、本発明の実施形態について図面を参照しながら説明する。尚、実施形態の説明において既に説明された構成と同一の参照番号を有する構成については、説明の便宜上、その説明は省略する。なお、以下の実施形態の説明において、上下方向は、図1~4の紙面内における方向を示すものであり、これによって本開示の技術的範囲を狭める解釈が為されるものではない。
【0010】
<電磁弁の内部構造>
図1、2を用いて、電磁弁の内部構造について説明する。図1は、本開示の実施形態に係る電磁弁の非通電時における縦断面図である。図2は、本開示の実施形態に係る電磁弁の通電時における縦断面図である。
(【0011】以降は省略されています)
この特許をJ-PlatPat(特許庁公式サイト)で参照する
関連特許
株式会社不二工機
電磁弁
1日前
株式会社不二工機
膨張弁
1か月前
株式会社不二工機
膨張弁
1か月前
株式会社不二工機
電動弁
1か月前
株式会社不二工機
流路切換弁
1日前
株式会社不二工機
流路切換弁
1日前
株式会社不二工機
流路切換弁
1か月前
株式会社不二工機
電動弁および弁装置
1か月前
株式会社不二工機
弁ユニットおよび弁装置
2か月前
株式会社不二工機
流路切換弁
1か月前
個人
留め具
1か月前
個人
鍋虫ねじ
3か月前
個人
ホース保持具
7か月前
個人
紛体用仕切弁
3か月前
個人
回転伝達機構
3か月前
個人
トーションバー
7か月前
個人
差動歯車用歯形
5か月前
個人
ジョイント
2か月前
個人
給排気装置
1か月前
個人
地震の揺れ回避装置
4か月前
株式会社不二工機
電磁弁
6か月前
個人
ナット
22日前
個人
ナット
2か月前
株式会社不二工機
電磁弁
4か月前
個人
吐出量監視装置
2か月前
個人
ゲート弁バルブ
7日前
柿沼金属精機株式会社
分岐管
3か月前
カヤバ株式会社
緩衝器
1か月前
カヤバ株式会社
ダンパ
5か月前
カヤバ株式会社
緩衝器
4か月前
カヤバ株式会社
緩衝器
4か月前
カヤバ株式会社
ダンパ
5か月前
兼工業株式会社
バルブ
23日前
個人
固着具と固着具の固定方法
6か月前
株式会社ノーリツ
分配弁
6か月前
株式会社不二工機
電磁弁
3か月前
続きを見る
他の特許を見る