TOP
|
特許
|
意匠
|
商標
特許ウォッチ
Twitter
他の特許を見る
公開番号
2025161204
公報種別
公開特許公報(A)
公開日
2025-10-24
出願番号
2024064196
出願日
2024-04-11
発明の名称
流路切換弁
出願人
株式会社不二工機
代理人
弁理士法人太陽国際特許事務所
主分類
F16K
11/076 20060101AFI20251017BHJP(機械要素または単位;機械または装置の効果的機能を生じ維持するための一般的手段)
要約
【課題】小さなトルクで弁体を回転可能とする流路切換弁を提供する。
【解決手段】流路切換弁は、内部に弁室が形成されると共に、弁室に開口した複数の入出口が設けられた弁本体と、弁室内に回転自在に配置され、かつ内部に流路が形成された弁体と、弁体と入出口が形成された弁室の壁面との間に配置され、弁体側に弁体の外周シール面と密着可能な内側シール面を有する環状のシート部材と、シート部材と入出口の形成された壁面との間に配置される環状のサポート部材と、サポート部材と入出口の形成された壁面との間に配置され、サポート部材を弁体側へ押し付け可能な第1の位置とサポート部材の弁体側への押し付けを解除する第2の位置との間を移動可能なカム部材とを有する。
【選択図】図1
特許請求の範囲
【請求項1】
内部に弁室が形成されると共に、前記弁室に開口した複数の入出口が設けられた弁本体と、
前記弁室内に回転自在に配置され、かつ内部に流路が形成された弁体と、
前記弁体と前記入出口が形成された前記弁室の壁面との間に配置され、前記弁体側に前記弁体の外周シール面と密着可能な内側シール面を有する環状のシート部材と、
前記シート部材と前記入出口の形成された前記壁面との間に配置される環状のサポート部材と、
前記サポート部材と前記入出口の形成された前記壁面との間に配置され、前記サポート部材を前記弁体側へ押し付ける第1の位置と前記サポート部材の前記弁体側への押し付けを解除する第2の位置との間を移動可能なカム部材と、
を有する流路切換弁。
続きを表示(約 320 文字)
【請求項2】
前記カム部材は、第1の方向、及び第1の方向とは反対方向へ移動可能に設けられ、
前記カム部材が前記第1の方向へ移動した際には、前記サポート部材を前記弁体側へ押し付ける、
請求項1に記載の流路切換弁。
【請求項3】
前記弁体を回転させる回転軸と、
前記カム部材に設けられ、前記回転軸の外側に外挿される筒状の軸部と、
前記軸部に形成される雄ネジと、
前記雄ネジに螺合する雌ネジを有する回転ナットと、
を備え、
前記カム部材は、前記回転ナットの正逆回転により前記第1の方向、及び前記第1の方向とは反対方向に移動する、
請求項2に記載の流路切換弁。
発明の詳細な説明
【技術分野】
【0001】
本開示は、流路切換弁に係り、弁体を弁室内で回転摺動させることにより流路を切り換える流路切換弁に関する。
続きを表示(約 1,100 文字)
【背景技術】
【0002】
弁体の回転動作によって、流路を切り換えるタイプの流路切替弁が知られている(例えば、特許文献1参照)。
【0003】
この種の流路切換弁では、モータを含む回転駆動部を用いて弁体を回転駆動している。
【先行技術文献】
【特許文献】
【0004】
特開2017-223303号公報
【発明の概要】
【発明が解決しようとする課題】
【0005】
特許文献1の流路切換弁では、弁室に、互いに対向した一対の流出口に対応して環状に形成された一対のシート部材が配置され、この一対のシート部材の間にボール状の弁体が回転摺動自在に配置されている。
【0006】
この流路切換弁では、シート部材の弁体側とは反対側に圧縮コイルばねが圧縮状態で配置されており、圧縮コイルばねがシート部材を弁体に常に押し付けている。このため、シート部材と弁体との間に摩擦が生じており、流路切換時に弁体を回転させるには大きな回転力、即ち、大きなトルクを必要とし、改善の余地がある。
【0007】
本開示は上記事実を考慮し、小さなトルクで弁体を回転可能とする流路切換弁の提供を目的とする。
【課題を解決するための手段】
【0008】
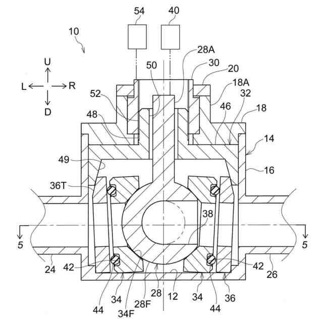
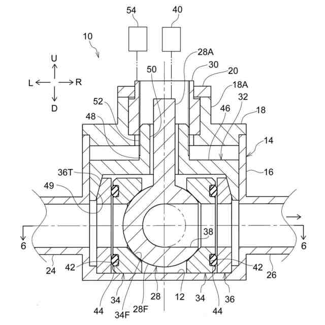
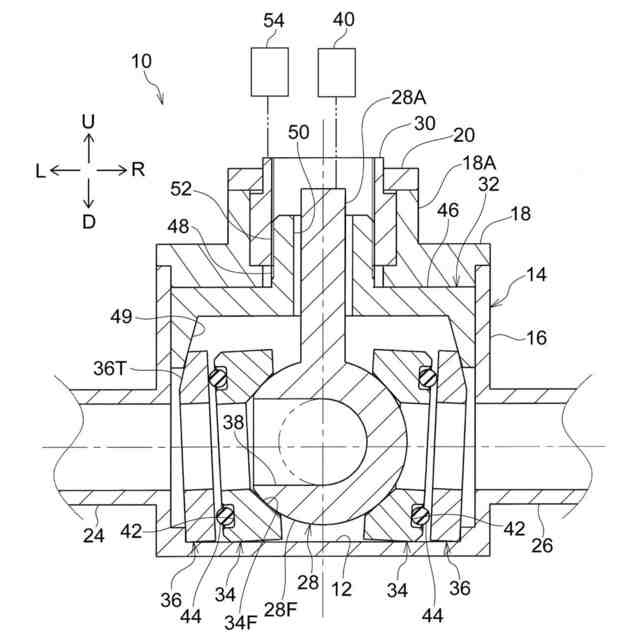
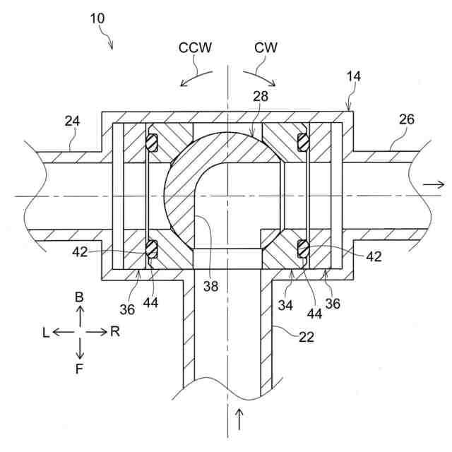
第1の態様に係る流路切換弁は、内部に弁室が形成されると共に、前記弁室に開口した複数の入出口が設けられた弁本体と、前記弁室内に回転自在に配置され、かつ内部に流路が形成された弁体と、前記弁体と前記入出口が形成された前記弁室の壁面との間に配置され、前記弁体側に前記弁体の外周シール面と密着可能な内側シール面を有する環状のシート部材と、前記シート部材と前記入出口の形成された前記壁面との間に配置される環状のサポート部材と、前記サポート部材と前記入出口の形成された前記壁面との間に配置され、前記サポート部材を前記弁体側へ押し付ける第1の位置と前記サポート部材の前記弁体側への押し付けを解除する第2の位置との間を移動可能なカム部材と、を有する。
【0009】
第1の態様に係る流路切換弁では、弁体を回転させることで、弁室の複数の入出口の連通状態を、弁体の流路を通じて選択的に切り替えることができる。
【0010】
一の入出口と他の入出口とを弁体の流路を通じて連通させ、一の入出口と他の入出口との間で流体を流す場合には、カム部材を第1の位置に移動してカム部材でサポート部材を弁体側へ押し付け、シート部材の内側シール面を弁体の外周シール面に密着させる。これにより、シート部材と弁体との間からの流体の漏れが抑制される。
(【0011】以降は省略されています)
この特許をJ-PlatPat(特許庁公式サイト)で参照する
関連特許
株式会社不二工機
膨張弁
28日前
株式会社不二工機
膨張弁
28日前
株式会社不二工機
電動弁
1か月前
株式会社不二工機
流路切換弁
26日前
株式会社不二工機
電動弁および弁装置
1か月前
株式会社不二工機
弁ユニットおよび弁装置
2か月前
株式会社不二工機
流路切換弁
1か月前
個人
留め具
1か月前
個人
鍋虫ねじ
2か月前
個人
回転伝達機構
3か月前
個人
ホース保持具
7か月前
個人
紛体用仕切弁
2か月前
個人
差動歯車用歯形
4か月前
個人
ジョイント
2か月前
個人
給排気装置
1か月前
個人
ナット
14日前
株式会社不二工機
電磁弁
6か月前
株式会社不二工機
電磁弁
4か月前
個人
地震の揺れ回避装置
3か月前
個人
ナット
2か月前
個人
吐出量監視装置
2か月前
兼工業株式会社
バルブ
15日前
柿沼金属精機株式会社
分岐管
3か月前
カヤバ株式会社
緩衝器
1か月前
カヤバ株式会社
ダンパ
4か月前
カヤバ株式会社
ダンパ
4か月前
カヤバ株式会社
緩衝器
4か月前
カヤバ株式会社
緩衝器
4か月前
株式会社三五
ドライブシャフト
28日前
個人
固着具と固着具の固定方法
6か月前
株式会社ノーリツ
分配弁
6か月前
日東電工株式会社
断熱材
7か月前
株式会社ノーリツ
分配弁
6か月前
株式会社不二工機
電動弁
1か月前
株式会社ノーリツ
分配弁
6か月前
株式会社ノーリツ
分配弁
1か月前
続きを見る
他の特許を見る