TOP
|
特許
|
意匠
|
商標
特許ウォッチ
Twitter
他の特許を見る
公開番号
2025179419
公報種別
公開特許公報(A)
公開日
2025-12-10
出願番号
2024086151
出願日
2024-05-28
発明の名称
膨張弁
出願人
株式会社不二工機
代理人
主分類
F25B
41/335 20210101AFI20251203BHJP(冷凍または冷却;加熱と冷凍との組み合わせシステム;ヒートポンプシステム;氷の製造または貯蔵;気体の液化または固体化)
要約
【課題】弁体に生じた振動を抑制できる膨張弁を提供すること。
【解決手段】膨張弁1は、弁本体10と、弁体20と、コイルばね41と、弁体支持部材30と、パワーエレメント50と、作動棒60とを備える。弁本体10は、弁室11とオリフィス12とを有する。弁体20は、弁室11に配置される。コイルばね41は、弁室11内において、弁体20を挟んでオリフィス12と反対側に設けられ、弁体20をオリフィス12に向かって付勢する。弁体支持部材30は、弁体20とコイルばね41との間に設けられて弁体20を支持する。作動棒60は、弁本体10の孔16に配置され、孔16の第2の孔部18に対して摺接する。弁体20は、貫通孔21を有する。
【選択図】図1
特許請求の範囲
【請求項1】
弁室とオリフィスとを有する弁本体と、
前記弁室に配置された弁体と、
前記弁室内において、前記弁体を挟んで前記オリフィスと反対側に設けられ、前記弁体を前記オリフィスに向かって付勢するコイルばねと、
前記弁体と前記コイルばねとの間に設けられて前記弁体を支持する支持部材と、
前記弁本体において前記オリフィスを挟んで前記コイルばねと反対側に設けられ、前記弁体を閉弁状態から開弁する駆動力を生じるパワーエレメントと、
前記パワーエレメントと前記弁体との間に配置されて前記弁体に当接し、前記パワーエレメントが生じた駆動力を前記弁体に伝える作動棒と、
前記弁本体に設けられて前記作動棒の変位をガイドするガイド部であって、前記作動棒の変位に伴って前記作動棒が摺接するガイド部と、
を備え、
前記弁体及び前記支持部材の少なくとも一方は、貫通孔を有する、
膨張弁。
続きを表示(約 550 文字)
【請求項2】
前記弁体は、前記貫通孔を有し、かつ、前記貫通孔が前記オリフィスの軸線に沿う姿勢で前記弁室内に配置され、
前記作動棒の前記弁体側の端面は、前記貫通孔の前記作動棒側の縁の全体に当接可能な面である、
請求項1に記載の膨張弁。
【請求項3】
前記弁体の前記作動棒側の面における前記貫通孔の前記縁の全体は、前記貫通孔の軸線に直交する同一の面内に位置し、
前記作動棒の前記端面は、前記作動棒の軸線に直交する平面である、請求項2に記載の膨張弁。
【請求項4】
前記弁体は、前記貫通孔を有し、
前記作動棒は、前記貫通孔に嵌合する嵌合部を有する、
請求項1に記載の膨張弁。
【請求項5】
前記弁体と前記コイルばねとの間に設けられる制振ばねを備え、
前記制振ばねは、前記弁体と前記コイルばねとが並ぶ方向に対して交差する方向に延出する複数の脚部を有し、
前記複数の脚部は、前記弁室の内周面に圧接し、前記弁体の変位に伴って前記内周面に摺接する、請求項1乃至請求項4のうちのいずれか1項に記載の膨張弁。
【請求項6】
前記ガイド部は、前記弁本体に形成された孔である、請求項1に記載の膨張弁。
発明の詳細な説明
【技術分野】
【0001】
本発明は、膨張弁に関する。
続きを表示(約 1,700 文字)
【背景技術】
【0002】
従前から、空調用の冷凍サイクルに膨張弁が用いられている。膨張弁として、弁室に配置された弁体の振動を抑制する制振ばねを備える構成が知られている。制振ばねとして、弁体と一体的に構成されて複数の脚部を備える構成が知られている。複数の脚部は、弁室の内周面に圧接しており、板ばねとして作用する。この種の制振ばねは、弁体と一体的に変位し、この変位の際に複数の脚部が弁室の内周面に摺接する。弁体に生じた振動は、複数の脚部の弁室の内周面に対する摺接によって吸収されることで、抑制される(例えば、特許文献1参照)。
【先行技術文献】
【特許文献】
【0003】
特許第6697976
【発明の概要】
【発明が解決しようとする課題】
【0004】
上述の複数の脚部を備える制振ばねは、制振効果を向上する為に、複数の脚部の弁室内周面に対する荷重を増大することが考えられる。
【0005】
しかしながら、弁室を内部に有する弁本体は、一般的にアルミニウムを主材料として形成されている。一方、制振ばねは、ステンレスを主材料として形成されている。このように、制振ばねの硬度が弁室内周面の硬度より高い。このため、複数の脚部の弁室内周面に対する荷重を増大すると、弁室内周面の摩耗が大きくなるおそれがある。
【0006】
本発明は、弁体に生じた振動を抑制できる膨張弁を提供することを目的とする。
【課題を解決するための手段】
【0007】
本発明の膨張弁は、弁本体と、弁体と、コイルばねと、支持部材と、パワーエレメントと、作動棒と、ガイド部とを備える。前記弁本体は、弁室とオリフィスとを有する。前記弁体は、前記弁室に配置される。前記コイルばねは、前記弁室内において、前記弁体を挟んで前記オリフィスと反対側に設けられ、前記弁体を前記オリフィスに向かって付勢する。前記支持部材は、前記弁体と前記コイルばねとの間に設けられて前記弁体を支持する。前記パワーエレメントは、前記弁本体において前記オリフィスを挟んで前記コイルばねと反対側に設けられ、前記弁体を閉弁状態から開弁する駆動力を生じる。前記作動棒は、前記パワーエレメントと前記弁体との間に配置されて前記弁体に当接し、前記パワーエレメントが生じた駆動力を前記弁体に伝える。前記ガイド部は、前記弁本体に設けられて前記作動棒の変位をガイドする。前記ガイド部は、前記作動棒の変位に伴って前記作動棒が摺接する。前記弁体及び前記支持部材の少なくとも一方は、貫通孔を有する。
【発明の効果】
【0008】
本発明によれば、弁体に生じた振動を抑制できる膨張弁を提供できる。
【図面の簡単な説明】
【0009】
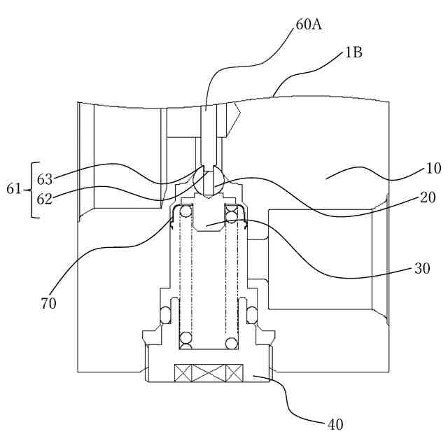
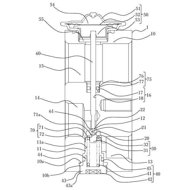
本発明の第1の実施形態に係る膨張弁を示す断面図。
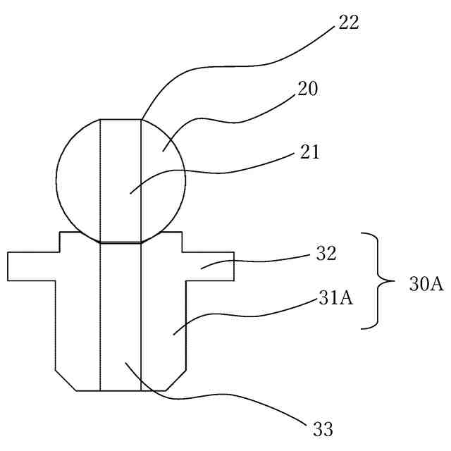
本発明の第2の実施形態に係る膨張弁の弁体及び弁体支持部材を示す断面図。
同膨張弁を製造する工程の一部を示す断面図。
本発明の第3の実施形態に係る膨張弁の弁体及び弁体支持部材を示す断面図。
第4の実施形態に係る膨張弁を製造する工程の一部を示す断面図。
第1の実施形態に係る膨張弁の弁体及び弁体支持部材の変形例を示す断面図。
【発明を実施するための形態】
【0010】
[第1の実施形態]
本発明の第1の実施形態に係る膨張弁1を、図1を用いて説明する。
図1は、膨張弁1を示す断面図である。図1に示すように、膨張弁1は、弁本体10と、弁体20と、弁体支持部材30と、付勢装置40と、パワーエレメント50と、作動棒60と、第1の制振ばね70と、第2の制振ばね75とを備えている。膨張弁1は、例えば車両に用いられる冷凍サイクルの一部である。膨張弁1は、コンデンサとエバポレータとの間の流路の一部と、エバポレータとコンプレッサとの間の流路の一部とを構成している。
(【0011】以降は省略されています)
この特許をJ-PlatPat(特許庁公式サイト)で参照する
関連特許
株式会社不二工機
膨張弁
1日前
個人
製氷容器
13日前
株式会社不二工機
膨張弁
1か月前
株式会社不二工機
膨張弁
1か月前
株式会社不二工機
膨張弁
1日前
株式会社ツインバード
保冷庫
今日
アクア株式会社
冷蔵庫
21日前
アクア株式会社
冷蔵庫
21日前
富士電機株式会社
冷却装置
13日前
富士電機株式会社
自動販売機
1か月前
フクシマガリレイ株式会社
冷却貯蔵庫
1か月前
株式会社ゼロカラ
冷凍装置
29日前
株式会社ゼロカラ
冷凍装置
29日前
株式会社フィラディス
ワインセラー
6日前
株式会社フィラディス
ワインセラー
21日前
シャープ株式会社
冷蔵庫
今日
トヨタ自動車株式会社
冷凍回路
今日
FrostiX株式会社
冷凍システム
14日前
三菱電機株式会社
冷蔵庫
21日前
アイ・ティ・イー株式会社
相変化判定システム
21日前
アクア株式会社
冷却ボックス装置
1か月前
アクア株式会社
冷却ボックス装置
1か月前
東芝ライフスタイル株式会社
冷蔵庫
8日前
株式会社MARS Company
ドラム式製氷機
14日前
株式会社MARS Company
ドラム式製氷機
14日前
株式会社MARS Company
ドラム式製氷機
14日前
株式会社MARS Company
ドラム式製氷機
14日前
三菱電機株式会社
冷凍冷蔵庫
6日前
パナソニックIPマネジメント株式会社
冷蔵庫
1か月前
パナソニックIPマネジメント株式会社
冷蔵庫
1か月前
ホシザキ株式会社
冷却貯蔵庫
1日前
株式会社日立産機システム
廃熱回収システム
今日
東芝ライフスタイル株式会社
冷蔵庫
1か月前
三菱電機株式会社
冷蔵庫
1か月前
ダイキン工業株式会社
熱源ユニット
今日
ダイキン工業株式会社
熱源ユニット
今日
続きを見る
他の特許を見る