TOP
|
特許
|
意匠
|
商標
特許ウォッチ
Twitter
他の特許を見る
10個以上の画像は省略されています。
公開番号
2025181052
公報種別
公開特許公報(A)
公開日
2025-12-11
出願番号
2024088800
出願日
2024-05-31
発明の名称
熱源ユニット
出願人
ダイキン工業株式会社
代理人
弁理士法人前田特許事務所
主分類
F25B
1/00 20060101AFI20251204BHJP(冷凍または冷却;加熱と冷凍との組み合わせシステム;ヒートポンプシステム;氷の製造または貯蔵;気体の液化または固体化)
要約
【課題】冷凍サイクル装置のCOPの低下を抑制する。
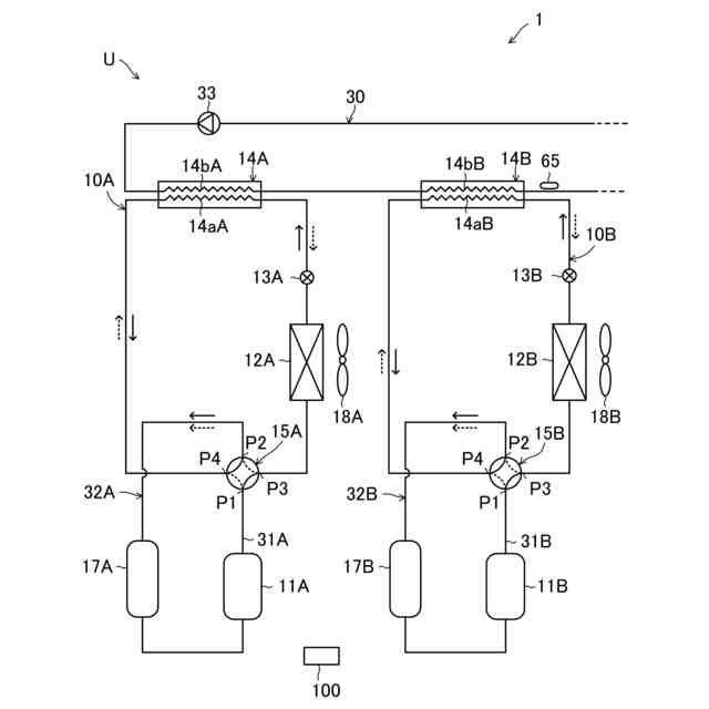
【解決手段】水回路(30)の水を冷却する冷却運転を行う冷凍サイクル装置(1)の熱源ユニットであって、第1圧縮機(11A)、第1空気熱交換器(12A)及び冷媒と水回路(30)の水とを熱交換する第1水熱交換器(14A)を有する第1冷媒回路(10A)と、第2圧縮機(11B)、第2空気熱交換器(12B)及び冷媒と水回路(30)の水とを熱交換する第1水熱交換器(14A)を有する第2冷媒回路(10B)とを備え、冷却運転において、水回路(30)は、水が第1水熱交換器(14A)及び第2水熱交換器(14B)の順に流れるように構成され、第1空気熱交換器(12A)の熱交換能力は、第2空気熱交換器(12B)の熱交換能力よりも大きい。
【選択図】図8
特許請求の範囲
【請求項1】
水回路(30)の水を冷却する冷却運転を行う冷凍サイクル装置(1)の熱源ユニットであって、
第1圧縮機(11A)、第1空気熱交換器(12A)及び冷媒と前記水回路(30)の水とを熱交換する第1水熱交換器(14A)を有する第1冷媒回路(10A)と、
第2圧縮機(11B)、第2空気熱交換器(12B)及び冷媒と前記水回路(30)の水とを熱交換する第2水熱交換器(14B)を有する第2冷媒回路(10B)とを備え、
冷却運転において、前記第1水熱交換器(14A)及び前記第2水熱交換器(14B)は、蒸発器として機能し、かつ、前記第1空気熱交換器(12A)及び前記第2空気熱交換器(12B)は、凝縮器として機能し、
前記水回路(30)は、水が前記第1水熱交換器(14A)及び前記第2水熱交換器(14B)の順に流れるように構成され、
前記第1空気熱交換器(12A)の熱交換能力は、前記第2空気熱交換器(12B)の熱交換能力よりも大きい
熱源ユニット。
続きを表示(約 1,800 文字)
【請求項2】
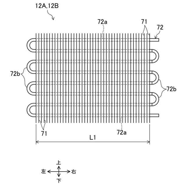
前記第1空気熱交換器(12A)及び前記第2空気熱交換器(12B)は、複数のフィン(71)が厚さ方向に並ぶと共に、伝熱管(72a)が複数の前記フィン(71)を貫通するフィンアンドチューブ式の熱交換器であり、
前記第1空気熱交換器(12A)は、前記第2空気熱交換器(12B)よりも、
上下方向に並ぶ前記伝熱管(72a)の段数が多い、前後方向に並ぶ前記伝熱管(72a)の列数が多い、左右方向に延びる前記伝熱管(72a)の有効長が長い、または、隣り合う前記フィン(71)間であるフィンピッチが小さい
請求項1に記載の熱源ユニット。
【請求項3】
前記第1空気熱交換器(12A)は、前記第2空気熱交換器(12B)よりも、熱交換能力が5~10%高い
請求項1または2に記載の熱源ユニット。
【請求項4】
水回路(30)の水を冷却する冷却運転を行う冷凍サイクル装置(1)の熱源ユニットであって、
第1圧縮機(11A)、第1空気熱交換器(12A)及び冷媒と前記水回路(30)の水とを熱交換する第1水熱交換器(14A)を有する第1冷媒回路(10A)と、
第2圧縮機(11B)、第2空気熱交換器(12B)及び冷媒と前記水回路(30)の水とを熱交換する第2水熱交換器(14B)を有する第2冷媒回路(10B)とを備え、
冷却運転において、前記第1水熱交換器(14A)及び前記第2水熱交換器(14B)は、蒸発器として機能し、かつ、前記第1空気熱交換器(12A)及び前記第2空気熱交換器(12B)は、凝縮器として機能し、
前記水回路(30)は、水が前記第1水熱交換器(14A)及び前記第2水熱交換器(14B)の順に流れるように構成され、
前記第1水熱交換器(14A)の熱交換能力は、前記第2水熱交換器(14B)の熱交換能力よりも小さい
熱源ユニット。
【請求項5】
前記第1水熱交換器(14A)及び前記第2水熱交換器(14B)は、複数のプレート(21a,21b,21c,21d,21e)が厚さ方向に並ぶプレート式の熱交換器であり、
前記第1水熱交換器(14A)は、前記第2水熱交換器(14B)よりも、前記プレート(21a,21b,21c,21d,21e)のサイズが小さい、前記プレート(21a,21b,21c,21d,21e)の枚数が少ない、または前記プレート(21a,21b,21c,21d,21e)内を流れる水の流路が少ないもしくは流路長が短い
請求項4に記載の熱源ユニット。
【請求項6】
前記第1水熱交換器(14A)は、前記第2水熱交換器(14B)よりも熱交換能力が5~10%低い
請求項4または5に記載の熱源ユニット。
【請求項7】
前記第1圧縮機(11A)及び前記第2圧縮機(11B)を制御する制御部(100)をさらに備え、
前記制御部(100)は、前記第1圧縮機(11A)と前記第2圧縮機(11B)との回転数が等しくなるように前記第1圧縮機(11A)及び前記第2圧縮機(11B)を制御する
請求項1または2に記載の熱源ユニット。
【請求項8】
前記制御部(100)は、前記冷凍サイクル装置(1)の運転において、前記水回路(30)の水温に応じて前記第1圧縮機(11A)及び前記第2圧縮機(11B)の回転数を制御する
請求項7に記載の熱源ユニット。
【請求項9】
前記第1空気熱交換器(12A)に空気を搬送する第1ファン(18A)と、
前記第2空気熱交換器(12B)に空気を搬送する第2ファン(18B)とをさらに備え、
前記第1ファン(18A)の風量は、前記第2ファン(18B)の風量よりも大きい
請求項1または2に記載の熱源ユニット。
【請求項10】
前記第1空気熱交換器(12A)は、マイクロチャネル式の熱交換器であり、
前記第2空気熱交換器(12B)は、複数のフィン(71)が厚さ方向に並ぶと共に、伝熱管(72a)が複数の前記フィン(71)を貫通するフィンアンドチューブ式の熱交換器であり、
前記第2空気熱交換器(12B)の前記伝熱管(72a)が銅管である
請求項1に記載の熱源ユニット。
(【請求項11】以降は省略されています)
発明の詳細な説明
【技術分野】
【0001】
本開示は、熱源ユニットに関するものである。
続きを表示(約 2,100 文字)
【背景技術】
【0002】
特許文献1に記載の冷凍装置は、圧縮機が接続される冷媒回路を複数備え、直列に接続された2つの水熱交換器を流れる水を冷媒と熱交換させる。2つの水熱交換器は利用熱交換器として、それぞれ独立した冷媒回路に接続される。冷凍装置は、運転の負荷状態に応じて、2つの水熱交換器に繋がるそれぞれの圧縮機の回転数が互いに同じになるように容量制御される。
【先行技術文献】
【特許文献】
【0003】
特開2014-206331号公報
【発明の概要】
【発明が解決しようとする課題】
【0004】
例えば水回路の水を冷却する冷却運転では、水回路を流れる水は、上流側の水熱交換器で冷却された後、下流側の水熱交換器でさらに冷却される。そのため、上流側の水熱交換器の水温の方が下流側の水熱交換器の水温の方が高いため、上流側の水熱交換器の冷媒の蒸発温度は、下流側の水熱交換器の冷媒の蒸発温度よりも高い。言い換えると、上流側の水熱交換器に繋がる冷媒回路の冷凍サイクルにおける低圧は、下流側の水熱交換器に繋がる冷媒回路の冷凍サイクルの低圧よりも高くなる。このように上流側の水熱交換器に繋がる冷媒回路の冷凍サイクルにおいて低圧が高くなると高圧も高くなるため、圧縮機への入力も大きくなる傾向がある。そうなると、圧縮機の消費電力が増大し冷凍サイクル装置のCOP(Coefficient оf Performance)が低下する。
【0005】
本開示の目的は、冷凍サイクル装置のCOPの低下を抑制することにある。
【課題を解決するための手段】
【0006】
第1の態様は、
水回路(30)の水を冷却する冷却運転を行う冷凍サイクル装置(1)の熱源ユニットであって、
第1圧縮機(11A)、第1空気熱交換器(12A)及び冷媒と前記水回路(30)の水とを熱交換する第1水熱交換器(14A)を有する第1冷媒回路(10A)と、
第2圧縮機(11B)、第2空気熱交換器(12B)及び冷媒と前記水回路(30)の水とを熱交換する第2水熱交換器(14B)を有する第2冷媒回路(10B)とを備え、
冷却運転において、前記第1水熱交換器(14A)及び前記第2水熱交換器(14B)は、蒸発器として機能し、かつ、前記第1空気熱交換器(12A)及び前記第2空気熱交換器(12B)は、凝縮器として機能し、
前記水回路(30)は、水が前記第1水熱交換器(14A)及び前記第2水熱交換器(14B)の順に流れるように構成され、
前記第1空気熱交換器(12A)の熱交換能力は、前記第2空気熱交換器(12B)の熱交換能力よりも大きい。
【0007】
冷却運転において、蒸発温度は、第1水熱交換器(14A)の方が第2水熱交換器(14B)よりも高くなる。そのため、第1冷媒回路(10A)の低圧が高くなる分、高圧も高くなる。そこで第1の態様では、第1空気熱交換器(12A)の熱交換能力を第2空気熱交換器(12B)の熱交換能力より高くすることで、第1冷媒回路(10A)の高圧の上昇を抑えることができる。高圧の上昇が抑えられると、第1圧縮機(11A)への入力も抑えられて冷凍サイクル装置(1)のCOPの低下を抑制できる。また、加えて、第2冷媒回路(10B)では、第2空気熱交換器(12B)の能力を低下させても高圧は上昇しにくい傾向にある。そのため、第2空気熱交換器(12B)の小型化を図ることができる。これにより、第1空気熱交換器(12A)の能力を増大させるために第1空気熱交換器(12A)を大型化しても第2空気熱交換器(12B)を小型化できるため、熱源ユニット(U)全体の大型化を抑制できる。
【0008】
第2の態様は、第1の態様において、
前記第1空気熱交換器(12A)及び前記第2空気熱交換器(12B)は、複数のフィン(71)が厚さ方向に並ぶと共に、伝熱管(72a)が複数の前記フィン(71)を貫通するフィンアンドチューブ式の熱交換器であり、
前記第1空気熱交換器(12A)は、前記第2空気熱交換器(12B)よりも、
上下方向に並ぶ前記伝熱管(72a)の段数が多い、前後方向に並ぶ前記伝熱管(72a)の列数が多い、左右方向に延びる前記伝熱管(72a)の有効長が長い、または、隣り合う前記フィン(71)間であるフィンピッチが小さい。
【0009】
第2の態様では、フィンピッチが小さい方が、空気とフィンとの接触面積が増大するため、第1空気熱交換器(12A)の放熱能力は増大する。これにより、第1空気熱交換器(12A)の熱交換能力を第2空気熱交換器(12B)よりも大きくすることができる。
【0010】
第3の態様は、第1または第2の態様において、
前記第1空気熱交換器(12A)は、前記第2空気熱交換器(12B)よりも、熱交換能力が5~10%高い。
(【0011】以降は省略されています)
この特許をJ-PlatPat(特許庁公式サイト)で参照する
関連特許
個人
製氷容器
14日前
株式会社不二工機
膨張弁
1か月前
株式会社不二工機
膨張弁
1か月前
株式会社不二工機
膨張弁
2日前
株式会社ツインバード
保冷庫
1日前
アクア株式会社
冷蔵庫
22日前
アクア株式会社
冷蔵庫
22日前
フクシマガリレイ株式会社
断熱扉
1か月前
ホシザキ株式会社
冷凍装置
1か月前
富士電機株式会社
冷却装置
14日前
富士電機株式会社
自動販売機
1か月前
フクシマガリレイ株式会社
冷却貯蔵庫
1か月前
フクシマガリレイ株式会社
冷却貯蔵庫
1か月前
株式会社ゼロカラ
冷凍装置
1か月前
株式会社ゼロカラ
冷凍装置
1か月前
株式会社フィラディス
ワインセラー
7日前
株式会社フィラディス
ワインセラー
22日前
FrostiX株式会社
冷凍システム
15日前
シャープ株式会社
冷蔵庫
1日前
トヨタ自動車株式会社
冷凍回路
1日前
フクシマガリレイ株式会社
商品販売システム
1か月前
アクア株式会社
冷却ボックス装置
1か月前
アクア株式会社
冷却ボックス装置
1か月前
アイ・ティ・イー株式会社
相変化判定システム
22日前
三菱電機株式会社
冷蔵庫
22日前
株式会社富士通ゼネラル
冷凍サイクル装置
1か月前
東芝ライフスタイル株式会社
冷蔵庫
9日前
株式会社MARS Company
ドラム式製氷機
15日前
株式会社MARS Company
ドラム式製氷機
15日前
東芝ライフスタイル株式会社
冷却装置
1か月前
東芝ライフスタイル株式会社
冷却装置
1か月前
三菱電機株式会社
冷凍冷蔵庫
7日前
日本碍子株式会社
空調システム
1か月前
株式会社MARS Company
ドラム式製氷機
15日前
株式会社MARS Company
ドラム式製氷機
15日前
ホシザキ株式会社
冷却貯蔵庫
2日前
続きを見る
他の特許を見る