TOP
|
特許
|
意匠
|
商標
特許ウォッチ
Twitter
他の特許を見る
公開番号
2025167810
公報種別
公開特許公報(A)
公開日
2025-11-07
出願番号
2024072738
出願日
2024-04-26
発明の名称
冷却ボックス装置
出願人
アクア株式会社
代理人
個人
,
個人
,
個人
主分類
F25D
16/00 20060101AFI20251030BHJP(冷凍または冷却;加熱と冷凍との組み合わせシステム;ヒートポンプシステム;氷の製造または貯蔵;気体の液化または固体化)
要約
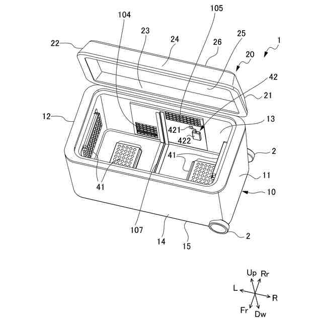
【課題】冷却機から冷却箱へ電気を供給することにより、冷却箱の中に入れた保冷剤の状態を検知することが可能な冷却ボックス装置を提供すること。
【解決手段】被冷却物を収容する冷却室301を有する冷却箱1と、冷却箱1に対して着脱可能であり、冷却室301を冷却する冷却機6と、冷却箱1に設けられ、冷却室301を冷却する保冷剤41と、保冷剤41の温度を、冷却機6において検知可能な温度検知装置42(421、422)と、を備える冷却ボックス装置である。
【選択図】図3
特許請求の範囲
【請求項1】
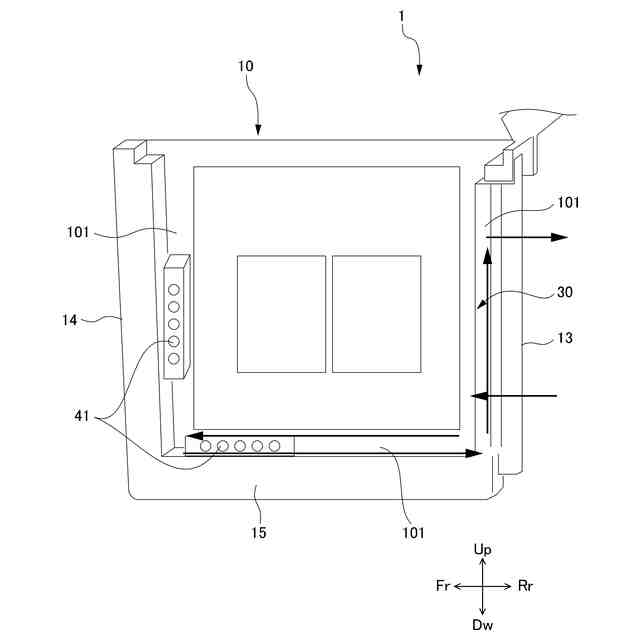
被冷却物を収容する冷却室を有する冷却箱と、
前記冷却箱に対して着脱可能であり、前記冷却室を冷却する冷却機と、
前記冷却箱に設けられ、前記冷却室を冷却する保冷剤と、
前記保冷剤の温度を、前記冷却機において検知可能な温度検知装置と、を備える冷却ボックス装置。
続きを表示(約 400 文字)
【請求項2】
前記温度検知装置は、前記冷却箱に設けられたサーミスタにより構成され、
前記サーミスタに電気的に接続される電子回路は、前記冷却箱と前記冷却機とに跨って配置され、前記冷却箱と前記冷却機とを連結する連結部において、コネクタにより電気的に着脱可能に接続されることにより、前記サーミスタに前記冷却機側から電気を供給する請求項1に記載の冷却ボックス装置。
【請求項3】
前記サーミスタは、前記冷却箱に設けられ前記保冷剤と熱容量が等しい被検知部材の温度を測定する請求項2に記載の冷却ボックス装置。
【請求項4】
前記冷却箱は、内箱が外箱に対して着脱可能な前記内箱と前記外箱とを有する二重箱構造により構成され、
前記サーミスタ及び前記被検知部材は、前記内箱と前記外箱との間の空間において前記外箱に固定される請求項3に記載の冷却ボックス装置。
発明の詳細な説明
【技術分野】
【0001】
本開示は、冷却ボックス装置に関する。
続きを表示(約 1,200 文字)
【背景技術】
【0002】
従来より、冷却箱である保冷ボックスに、冷却機である冷却装置が接続されて、冷却箱の内部が冷却される構成の冷却ボックス装置が知られている(例えば特許文献1等参照)。
【先行技術文献】
【特許文献】
【0003】
特開2021-11989号公報
【発明の概要】
【発明が解決しようとする課題】
【0004】
上述の特許文献1に記載の従来の冷却ボックス装置では、冷却機を接続しないときには、保冷剤を冷却箱の中に入れて冷却箱の中に収容された収容物を冷却することが可能である。しかし、保冷剤の温度の値等の保冷剤の状態を把握することはできず、収容物を適切な温度で冷却することは困難であった。
【0005】
保冷剤の温度を検知するために、サーミスタ等の温度検知装置を、冷却箱の中に取付けることが考えられるが、実際に温度を検知するためには、電源の供給が必要である。このため、サーミスタ等の温度検知装置に加えて、電源を供給するための装置を、冷却ボックス装置の使用者が、冷却箱に新たに設ける必要がある。
【0006】
本開示は、冷却機から冷却箱へ電気を供給することにより、冷却箱の中に入れた保冷剤の状態を検知することが可能な冷却ボックス装置を提供することを目的とする。
【課題を解決するための手段】
【0007】
(1)本開示は、被冷却物を収容する冷却室を有する冷却箱と、前記冷却箱に対して着脱可能であり、前記冷却室を冷却する冷却機と、前記冷却箱に設けられ、前記冷却室を冷却する保冷剤と、前記保冷剤の温度を、前記冷却機において検知可能な温度検知装置と、を備える冷却ボックス装置に関する。
【0008】
(1)の冷却ボックス装置によれば、冷却箱に保冷剤の温度を検知する電源装置を設けずに、冷却機において容易に保冷剤の温度を検知することが可能となる。
【0009】
(2)前記温度検知装置は、前記冷却箱に設けられたサーミスタにより構成され、前記サーミスタに電気的に接続される電子回路は、前記冷却箱と前記冷却機とに跨って配置され、前記冷却箱と前記冷却機とを連結する連結部において、コネクタにより電気的に着脱可能に接続されることにより、前記サーミスタに前記冷却機側から電気を供給する(1)に記載の冷却ボックス装置。
【0010】
(2)の冷却ボックス装置によれば、冷却箱にサーミスタを設ける場合には、電源の供給が必要となり、電源も冷却箱に設けなければならないが、コネクタを介してサーミスタに冷却機側から電気を供給することができるため、冷却箱を電源が設けられていない構成とすることが可能となる。
(【0011】以降は省略されています)
この特許をJ-PlatPat(特許庁公式サイト)で参照する
関連特許
アクア株式会社
冷蔵庫
11日前
アクア株式会社
冷蔵庫
11日前
アクア株式会社
冷却ボックス装置
24日前
アクア株式会社
冷却ボックス装置
24日前
アクア株式会社
冷蔵庫およびその製造方法
3日前
日本アクア株式会社
スパウト及びスパウト付き容器
1か月前
アクア株式会社
冷蔵庫用マグネットパッキン、冷蔵庫扉および冷蔵庫
1か月前
青島海爾洗衣机有限公司
洗濯機
1か月前
青島海爾洗衣机有限公司
洗濯機
1か月前
青島海爾洗衣机有限公司
洗濯機
3日前
青島海爾洗衣机有限公司
洗濯機
3日前
青島海爾洗衣机有限公司
ドラム式洗濯機
26日前
青島海爾洗衣机有限公司
ランドリー機器
1か月前
青島海爾洗衣机有限公司
ドラム式洗濯機
26日前
青島海爾洗衣机有限公司
乾燥機および洗濯機
11日前
青島海爾洗衣机有限公司
排水フィルタ及び洗濯機
1か月前
青島海爾洗衣机有限公司
排水フィルタ及び洗濯機
1か月前
個人
製氷容器
3日前
株式会社不二工機
膨張弁
1か月前
株式会社不二工機
膨張弁
1か月前
アクア株式会社
冷蔵庫
11日前
アクア株式会社
冷蔵庫
11日前
ホシザキ株式会社
製氷機
2か月前
個人
ヒートポンプ型空気調和機
2か月前
富士電機株式会社
冷却装置
2か月前
富士電機株式会社
冷却装置
3日前
フクシマガリレイ株式会社
断熱扉
1か月前
ホシザキ株式会社
冷凍装置
1か月前
富士電機株式会社
自動販売機
1か月前
フクシマガリレイ株式会社
冷却貯蔵庫
1か月前
ダイキン工業株式会社
冷凍装置
1か月前
フクシマガリレイ株式会社
冷却貯蔵庫
1か月前
株式会社ゼロカラ
冷凍装置
19日前
フクシマガリレイ株式会社
ショーケース
1か月前
株式会社ゼロカラ
冷凍装置
19日前
株式会社フィラディス
ワインセラー
11日前
続きを見る
他の特許を見る