TOP
|
特許
|
意匠
|
商標
特許ウォッチ
Twitter
他の特許を見る
公開番号
2025146374
公報種別
公開特許公報(A)
公開日
2025-10-03
出願番号
2024047113
出願日
2024-03-22
発明の名称
排水フィルタ及び洗濯機
出願人
青島海爾洗衣机有限公司
,
QINGDAO HAIER WASHING MACHINE CO.,LTD.
,
アクア株式会社
代理人
個人
,
個人
,
個人
主分類
D06F
39/10 20060101AFI20250926BHJP(繊維または類似のものの処理;洗濯;他に分類されない可とう性材料)
要約
【課題】異物の脱水時に排水が速やかになされ、フィルタ本体の取り出し後における水垂れ等の問題を改善できる排水フィルタ及び洗濯機を提供する。
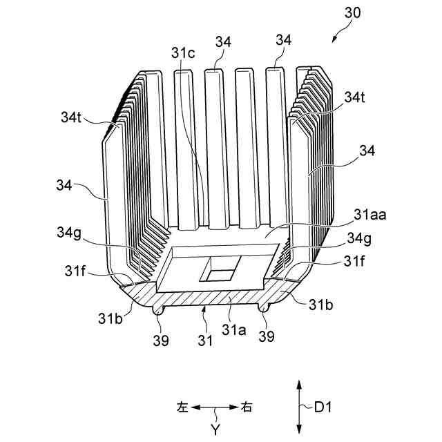
【解決手段】排水フィルタ100は、ケース20内に装着され、底壁部31から立ち上がり第1方向D1に延びる複数の櫛歯34を有するフィルタ本体30と、複数の櫛歯34に嵌合する周縁部42を有し、フィルタ本体30内において第1方向D1に移動可能な圧縮板40と、操作レバー53の操作に応じて圧縮板40を第1方向D1に移動させ、圧縮板40とケース20との間で異物の脱水を行う操作部50と、を備え、フィルタ本体30において、底壁部31の側縁部31bには、外方に向かうにつれて低下する傾斜面31fが形成されている。
【選択図】図5
特許請求の範囲
【請求項1】
フィルタ本体に洗濯水を導入し通水することで前記洗濯水に含まれる異物を捕獲する排水フィルタであって、
前記洗濯水を導入する導入口を有するケースと、
前記ケース内に装着され、底壁部と、前記底壁部から立ち上がり第1方向に延びる複数の櫛歯とを有する前記フィルタ本体と、
前記フィルタ本体内において前記底壁部の上方に配置された平板部と、前記複数の櫛歯に嵌合する周縁部とを有し、前記フィルタ本体内において前記第1方向に移動可能な圧縮板と、
前記フィルタ本体に取り付けられて外側から操作可能な操作部であって、操作レバーの操作に応じて前記圧縮板を前記第1方向に移動させ、前記圧縮板と前記ケースとの間で前記異物の脱水を行う操作部と、を備え、
前記フィルタ本体において、前記底壁部の周縁部には、前記第1方向に直交する平面に対して傾斜し、外方に向かうにつれて低下する傾斜面が形成されている、排水フィルタ。
続きを表示(約 400 文字)
【請求項2】
前記圧縮板において、前記周縁部の下部には、前記圧縮板が前記第1方向の上限位置に位置するときに前記櫛歯の配列方向において前記櫛歯の頂部と対面する下方突出部が形成されている、請求項1に記載の排水フィルタ。
【請求項3】
前記フィルタ本体において、前記底壁部の下面には、前記底壁部の長手方向に延びる少なくとも1つのリブが設けられており、当該少なくとも1つのリブによって、前記ケース内における前記長手方向を中心とする前記フィルタ本体の回転方向の移動が抑制される、請求項1又は2に記載の排水フィルタ。
【請求項4】
筐体内に配置された外槽と、
前記外槽内に配置され、洗濯物が収容される洗濯槽と、
前記外槽に接続され、前記外槽内の洗濯水を排出する排水管と、
前記排水管に接続された請求項1又は2に記載の前記排水フィルタと、を備える洗濯機。
発明の詳細な説明
【技術分野】
【0001】
本発明は、排水フィルタ及び洗濯機に関する。
続きを表示(約 1,900 文字)
【背景技術】
【0002】
排水フィルタを備えた洗濯機として、例えば特許文献1に記載された洗濯機が知られている。この洗濯機では、外槽からの排水経路の途中に異物捕集部が設けられている。異物捕集部の底面には複数の突起部が設けられており、これらの突起部に異物が絡まることで異物が捕集される。異物捕集部の底面には、取り外し可能なシートが取り付けられている。シートには、突起部が嵌め込まれる穴が形成されている。シートは、取っ手を用いて剥がされ、これにより、突起部の根元に蓄積した糸くずが除去される。
【先行技術文献】
【特許文献】
【0003】
特開2018-153374号公報
【発明の概要】
【発明が解決しようとする課題】
【0004】
ところで、排水フィルタにおいて、捕集された異物を圧縮板等によって圧縮し、脱水する機能を備えた構成が考えられる。そのような構成においては、排水フィルタのメンテナンス時、異物の廃棄のためにフィルタ本体が洗濯機の外部に取り出される。その際、脱水により生じた水が水滴となって落下し、床などを濡らしてしまうという問題がある。
【0005】
本発明は、異物の脱水時に排水が速やかになされ、フィルタ本体の取り出し後における水垂れ等の問題を改善できる排水フィルタ及び洗濯機を提供することを目的とする。
【課題を解決するための手段】
【0006】
[1]本開示の一態様は、フィルタ本体に洗濯水を導入し通水することで洗濯水に含まれる異物を捕獲する排水フィルタであって、洗濯水を導入する導入口を有するケースと、ケース内に装着され、底壁部と、底壁部から立ち上がり第1方向に延びる複数の櫛歯とを有するフィルタ本体と、フィルタ本体内において底壁部の上方に配置された平板部と、複数の櫛歯に嵌合する周縁部とを有し、フィルタ本体内において第1方向に移動可能な圧縮板と、フィルタ本体に取り付けられて外側から操作可能な操作部であって、操作レバーの操作に応じて圧縮板を第1方向に移動させ、圧縮板とケースとの間で異物の脱水を行う操作部と、を備え、フィルタ本体において、底壁部の周縁部には、第1方向に直交する平面に対して傾斜し、外方に向かうにつれて低下する傾斜面が形成されている。
【0007】
[1]の排水フィルタによれば、洗濯水がフィルタ本体の複数の櫛歯を通過する際に、異物が捕獲される。メンテナンス時に、使用者が、操作レバーを操作して圧縮板を移動させると、圧縮板とケースとの間で異物の脱水が行われる。このとき、異物は圧縮板の周縁部によって掻き取られる。脱水により生じた水は、下方すなわち底壁部の方へと流下するが、底壁部の周縁部に形成された傾斜面を伝ってフィルタ本体からケースの方へ排水される。傾斜面(勾配)により排水が促進される構造のため、異物の脱水時において排水が速やかになされる。使用者は、その後、フィルタ本体を洗濯機から取り出す。フィルタ本体に残存する水量は減少しているため、フィルタ本体の取出し後に水滴が落下することは少なく、水垂れ等の問題が改善されている。
【0008】
[2]上記[1]の排水フィルタの圧縮板において、周縁部の下部には、圧縮板が第1方向の上限位置に位置するときに櫛歯の配列方向において櫛歯の頂部と対面する下方突出部が形成されていてもよい。この構成によれば、下方突出部が櫛歯の頂部と対面し、当該頂部に係止されやすいため、圧縮板がフィルタ本体から外れにくくなっている。
【0009】
[3]上記[2]の排水フィルタのフィルタ本体において、底壁部の下面には、底壁部の長手方向に延びる少なくとも1つのリブが設けられており、当該少なくとも1つのリブによって、ケース内における長手方向を中心とするフィルタ本体の回転方向の移動が抑制されてもよい。この構成によれば、ケース内におけるフィルタ本体の姿勢が安定し、上述の排水促進効果がより確実に奏される。またリブは底壁部の反り対策としても有効である。
【0010】
[4]本発明の別の態様として、筐体内に配置された外槽と、外槽内に配置され、洗濯物が収容される洗濯槽と、外槽に接続され、外槽内の洗濯水を排出する排水管と、排水管に接続された上記[1]~[3]の何れか一つの排水フィルタと、を備える洗濯機が提供されてもよい。この洗濯機によれば、メンテナンス時における水垂れ等の問題が改善され、メンテナンス作業が快適なものとなる。
【発明の効果】
(【0011】以降は省略されています)
この特許をJ-PlatPat(特許庁公式サイト)で参照する
関連特許
青島海爾洗衣机有限公司
洗濯機
2日前
青島海爾洗衣机有限公司
洗濯機
2か月前
青島海爾洗衣机有限公司
洗濯機
2日前
青島海爾洗衣机有限公司
洗濯機
3か月前
青島海爾洗衣机有限公司
洗濯機
2か月前
青島海爾洗衣机有限公司
洗濯機
2か月前
青島海爾洗衣机有限公司
洗濯機
2か月前
青島海爾洗衣机有限公司
洗濯機
10か月前
青島海爾洗衣机有限公司
洗濯機
5か月前
青島海爾洗衣机有限公司
洗濯機
10か月前
青島海爾洗衣机有限公司
洗濯機
1か月前
青島海爾洗衣机有限公司
洗濯機
1か月前
青島海爾洗衣机有限公司
洗濯機
10か月前
青島海爾洗衣机有限公司
洗濯機
11か月前
青島海爾洗衣机有限公司
縦型洗濯機
7か月前
青島海爾洗衣机有限公司
縦型洗濯機
10か月前
青島海爾洗衣机有限公司
洗濯乾燥機
7か月前
青島海爾洗衣机有限公司
縦型洗濯機
7か月前
青島海爾洗衣机有限公司
洗濯乾燥機
12か月前
青島海爾洗衣机有限公司
ランドリ機器
10か月前
青島海爾洗衣机有限公司
ランドリ機器
10か月前
青島海爾洗衣机有限公司
ドラム式洗濯機
6か月前
青島海爾洗衣机有限公司
ドラム式洗濯機
25日前
青島海爾洗衣机有限公司
ドラム式洗濯機
25日前
青島海爾洗衣机有限公司
ドラム式洗濯機
5か月前
青島海爾洗衣机有限公司
ランドリー機器
1か月前
青島海爾洗衣机有限公司
ドラム式洗濯機
6か月前
青島海爾洗衣机有限公司
超音波洗浄装置
3か月前
青島海爾洗衣机有限公司
ランドリシステム
10か月前
青島海爾洗衣机有限公司
乾燥機および洗濯機
10日前
青島海爾洗衣机有限公司
乾燥機および除菌装置
3か月前
青島海爾洗衣机有限公司
排水フィルタ及び洗濯機
1か月前
青島海爾洗衣机有限公司
排水フィルタ及び洗濯機
1か月前
青島海爾洗衣机有限公司
処理液投入装置及び洗濯機
12か月前
青島海爾洗衣机有限公司
処理液投入装置及び洗濯機
12か月前
青島海爾洗衣机有限公司
処理液投入装置及び洗濯機
12か月前
続きを見る
他の特許を見る