TOP
|
特許
|
意匠
|
商標
特許ウォッチ
Twitter
他の特許を見る
公開番号
2025139379
公報種別
公開特許公報(A)
公開日
2025-09-26
出願番号
2024038291
出願日
2024-03-12
発明の名称
洗濯機
出願人
青島海爾洗衣机有限公司
,
QINGDAO HAIER WASHING MACHINE CO.,LTD.
,
アクア株式会社
代理人
個人
,
個人
主分類
D06F
33/47 20200101AFI20250918BHJP(繊維または類似のものの処理;洗濯;他に分類されない可とう性材料)
要約
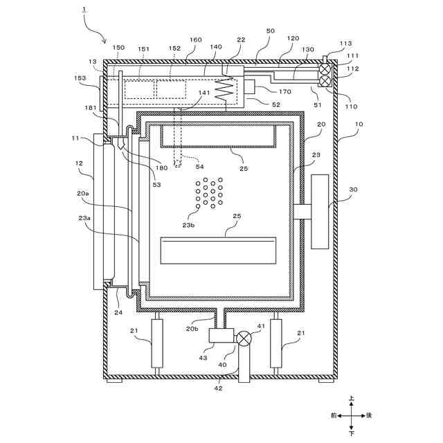
【課題】エアートラップと水位センサとを繋ぐホースでの空気漏れ異常を検出でき、水位検出部の異常の報知ができ得る洗濯機を提供する。
【解決手段】ドラム式洗濯機1において、水位検出部60は、外槽の底部に接続されたエアートラップと、外槽内の水位に応じて変化するエアートラップ内の空気圧を検出し、外槽内の水位に応じた値の水位信号を制御部201に出力する水位センサ62と、エアートラップと水位センサ62とを繋ぐホースと、を含む。制御部201は、異常検出処理において、ドラムを回転させて、当該ドラムの回転中に水位センサ62から水位信号を取得し、ドラムの回転前に水位センサ62から取得した水位信号に対するドラムの回転中に取得した水位信号の変動値が閾値よりも小さい場合に、水位検出部60に異常が生じたと判定し、水位検出部60の異常を知らせる報知を表示部204に行わせる。
【選択図】図3
特許請求の範囲
【請求項1】
筐体内に配置され、水が溜められる外槽と、
前記外槽内に配置され、洗濯物が収容される内槽と、
前記外槽内に水を供給する給水装置と、
前記外槽内の水位を検出する水位検出部と、
前記水位検出部に異常が生じたか否かの判定を含む異常検出処理を実行する制御部と、を備え、
前記水位検出部は、
前記外槽の底部に接続されたエアートラップと、
前記外槽内の水位に応じて変化する前記エアートラップ内の空気圧を検出し、前記外槽内の水位に応じた値の水位信号を前記制御部に出力する水位センサと、
前記エアートラップと前記水位センサとを繋ぐホースと、を含み、
前記制御部は、前記異常検出処理において、
前記内槽を回転させて、当該内槽の回転中に前記水位センサから前記水位信号を取得し、
前記内槽の回転前に前記水位センサから取得した前記水位信号に対する前記内槽の回転中に取得した前記水位信号の変動値が閾値よりも小さい場合に、前記水位検出部に異常が生じたと判定し、前記水位検出部の異常を知らせる報知を報知部に行わせる、
ことを特徴とする洗濯機。
続きを表示(約 570 文字)
【請求項2】
請求項1に記載の洗濯機において、
前記制御部は、前記給水装置により前記外槽内へ給水が開始されてから規定時間が経過するまでに前記外槽内の水位が規定水位に到達しない場合に、前記異常検出処理を実行する、
ことを特徴とする洗濯機。
【請求項3】
請求項2に記載の洗濯機において、
前記外槽内から排水を行う排水部を、さらに備え、
前記制御部は、前記水位検出部に異常が生じたと判定した場合に、前記排水部により前記外槽内からの排水を行う、
ことを特徴とする洗濯機。
【請求項4】
請求項2または3に記載の洗濯機において、
前記制御部は、前記変動値が前記閾値以上である場合に、給水異常が生じたと判定し、当該給水異常を知らせる報知を前記報知部に行わせる、
ことを特徴とする洗濯機。
【請求項5】
請求項1に記載の洗濯機において、
前記筐体の前面に設けられ、洗濯物が投入される投入口と、
前記投入口を覆うドアと、をさらに備え、
前記内槽は、横軸型のドラムであり、
前記外槽は、前面に開口部を有し、当該開口部が環状のドアパッキンを介して前記投入口に連結される、
ことを特徴とする洗濯機。
発明の詳細な説明
【技術分野】
【0001】
本発明は、洗濯機に関する。
続きを表示(約 1,600 文字)
【背景技術】
【0002】
外槽の底部に設けられたエアートラップと、当該エアートラップが圧力ホースを介して連通する水位センサとを、水位検出部として備え、エアートラップ内の圧力変化に応じて変化する水位センサの発信周波数に基づいて外槽内の水位を検出する洗濯機であって、水位センサが正常なときに出力される発信周波数の範囲が予め設定され、この範囲外の周波数が検出された場合に、水位センサの異常と判断するようにした洗濯機が、特許文献1に記載されている。
【先行技術文献】
【特許文献】
【0003】
特開昭63-21095号公報
【発明の概要】
【発明が解決しようとする課題】
【0004】
水位検出部に生じる異常として、水位センサの故障の他に、圧力ホースの破れが考えられる。圧力ホースが破れてしまった場合、外槽内の水位に応じた圧力がエアートラップに加わっても、圧力ホースから空気が漏れ出すことにより、その圧力が抜けてしまい、水位センサに付加されなくなり得る。これにより、水位センサにより、水位の検出が行えなくなり得る。
【0005】
上記特許文献1の洗濯機では、圧力ホースが破れて空気漏れが生じても、水位センサ自体は正常であるため、このような異常を検出することができない。
【0006】
本発明は、かかる課題に鑑みてなされたものであり、エアートラップと水位センサとを繋ぐホースでの空気漏れ異常を検出でき、水位検出部の異常の報知ができ得る洗濯機を提供することを目的とする。
【課題を解決するための手段】
【0007】
本発明の主たる態様に係る洗濯機は、筐体内に配置され、水が溜められる外槽と、前記外槽内に配置され、洗濯物が収容される内槽と、前記外槽内に水を供給する給水装置と、前記外槽内の水位を検出する水位検出部と、前記水位検出部に異常が生じたか否かの判定を含む異常検出処理を実行する制御部と、を備える。ここで、前記水位検出部は、前記外槽の底部に接続されたエアートラップと、前記外槽内の水位に応じて変化する前記エアートラップ内の空気圧を検出し、前記外槽内の水位に応じた値の水位信号を前記制御部に出力する水位センサと、前記エアートラップと前記水位センサとを繋ぐホースと、を含む。前記制御部は、前記異常検出処理において、前記内槽を回転させて、当該内槽の回転中に前記水位センサから前記水位信号を取得し、前記内槽の回転前に前記水位センサから取得した前記水位信号に対する前記内槽の回転中に取得した前記水位信号の変動値が閾値よりも小さい場合に、前記水位検出部に異常が生じたと判定し、前記水位検出部の異常を知らせる報知を報知部に行わせる。
【0008】
本態様に係る洗濯機によれば、異常検出処理において、ホースが破れて空気漏れが生じる場合には内槽を回転させても水位センサに付加される圧力が上昇しにくくなって水位センサからの水位信号が変動しにくくなることに基づいて、水位検出部にホースでの空気漏れの異常が生じたことを検出できる。これにより、水位検出部の異常を報知部により報知して、ユーザに知らせることができる。
【0009】
本態様に係る洗濯機において、前記制御部は、前記給水装置により前記外槽内へ給水が開始されてから規定時間が経過するまでに前記外槽内の水位が規定水位に到達しない場合に、前記異常検出処理を実行するような構成とされ得る。
【0010】
この構成によれば、規定時間が経過するまでに外槽内の水位が規定水位に到達しないことにより水位検出部の異常が疑われる場合に、異常検出処理が行われるので、洗濯運転が長くなりにくくなる。
(【0011】以降は省略されています)
この特許をJ-PlatPat(特許庁公式サイト)で参照する
関連特許
青島海爾洗衣机有限公司
洗濯機
1日前
青島海爾洗衣机有限公司
洗濯機
2か月前
青島海爾洗衣机有限公司
洗濯機
1日前
青島海爾洗衣机有限公司
洗濯機
3か月前
青島海爾洗衣机有限公司
洗濯機
2か月前
青島海爾洗衣机有限公司
洗濯機
2か月前
青島海爾洗衣机有限公司
洗濯機
2か月前
青島海爾洗衣机有限公司
洗濯機
10か月前
青島海爾洗衣机有限公司
洗濯機
5か月前
青島海爾洗衣机有限公司
洗濯機
10か月前
青島海爾洗衣机有限公司
洗濯機
1か月前
青島海爾洗衣机有限公司
洗濯機
1か月前
青島海爾洗衣机有限公司
洗濯機
10か月前
青島海爾洗衣机有限公司
洗濯機
11か月前
青島海爾洗衣机有限公司
縦型洗濯機
7か月前
青島海爾洗衣机有限公司
縦型洗濯機
10か月前
青島海爾洗衣机有限公司
洗濯乾燥機
7か月前
青島海爾洗衣机有限公司
縦型洗濯機
7か月前
青島海爾洗衣机有限公司
洗濯乾燥機
11か月前
青島海爾洗衣机有限公司
ランドリ機器
10か月前
青島海爾洗衣机有限公司
ランドリ機器
10か月前
青島海爾洗衣机有限公司
ドラム式洗濯機
6か月前
青島海爾洗衣机有限公司
ドラム式洗濯機
24日前
青島海爾洗衣机有限公司
ドラム式洗濯機
24日前
青島海爾洗衣机有限公司
ドラム式洗濯機
5か月前
青島海爾洗衣机有限公司
ランドリー機器
1か月前
青島海爾洗衣机有限公司
ドラム式洗濯機
6か月前
青島海爾洗衣机有限公司
超音波洗浄装置
3か月前
青島海爾洗衣机有限公司
ランドリシステム
10か月前
青島海爾洗衣机有限公司
乾燥機および洗濯機
9日前
青島海爾洗衣机有限公司
乾燥機および除菌装置
3か月前
青島海爾洗衣机有限公司
排水フィルタ及び洗濯機
1か月前
青島海爾洗衣机有限公司
排水フィルタ及び洗濯機
1か月前
青島海爾洗衣机有限公司
処理液投入装置及び洗濯機
11か月前
青島海爾洗衣机有限公司
処理液投入装置及び洗濯機
11か月前
青島海爾洗衣机有限公司
処理液投入装置及び洗濯機
11か月前
続きを見る
他の特許を見る