TOP
|
特許
|
意匠
|
商標
特許ウォッチ
Twitter
他の特許を見る
10個以上の画像は省略されています。
公開番号
2025115625
公報種別
公開特許公報(A)
公開日
2025-08-07
出願番号
2024010185
出願日
2024-01-26
発明の名称
洗濯機
出願人
シャープ株式会社
代理人
弁理士法人あーく事務所
主分類
D06F
37/28 20060101AFI20250731BHJP(繊維または類似のものの処理;洗濯;他に分類されない可とう性材料)
要約
【課題】洗濯機の筐体後部に設けられた操作部の操作性を高める。
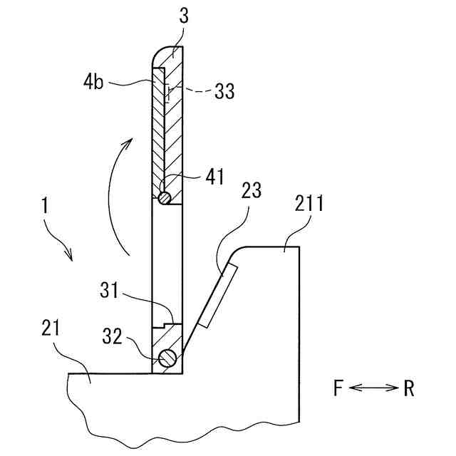
【解決手段】洗濯機1は、筐体と、筐体の上部に回動可能に設けられた蓋部とを有する。蓋部3は、表裏に貫通する開口部31と、開口部31に対して開閉可能に設けられた扉4aと、蓋部3の回動中心となるヒンジ部32とを備える。蓋部3が開放された状態で、筐体後部211は蓋部の背面側に位置し、扉4aの開放により、蓋部3の手前側から操作部23にかけて開口部を通じて連通するように構成している。
【選択図】図3B
特許請求の範囲
【請求項1】
筐体と、
前記筐体の上部に回動可能に設けられた蓋部とを有する洗濯機であって、
前記蓋部は、前記蓋部の表裏に貫通する開口部と、前記開口部に対して開閉可能に設けられた扉と、前記開口部と前記筐体との間に配置されて当該蓋部の回動中心となるヒンジ部とを備え、
前記筐体は、筐体後部を含み、前記筐体後部には操作部が設けられ、
前記蓋部が開放された状態で、前記筐体後部は前記蓋部の背面側に位置し、前記扉の開放により前記蓋部の手前側から前記操作部にかけて前記開口部を通じて連通することを特徴とする洗濯機。
続きを表示(約 480 文字)
【請求項2】
請求項1に記載の洗濯機において、
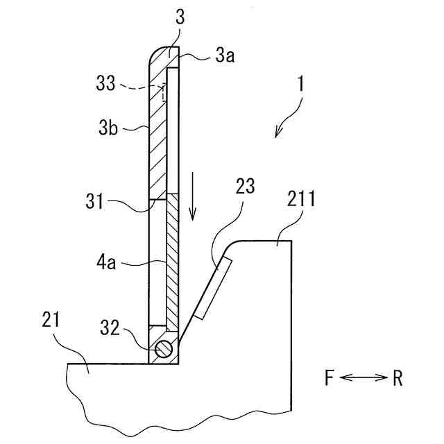
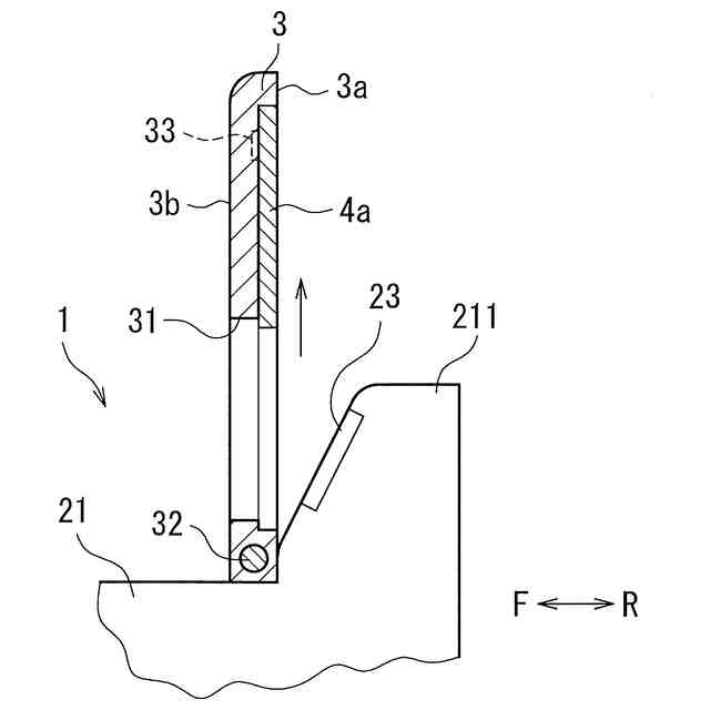
前記扉は、前記蓋部に沿ってスライド開閉可能に設けられたことを特徴とする洗濯機。
【請求項3】
請求項1に記載の洗濯機において、
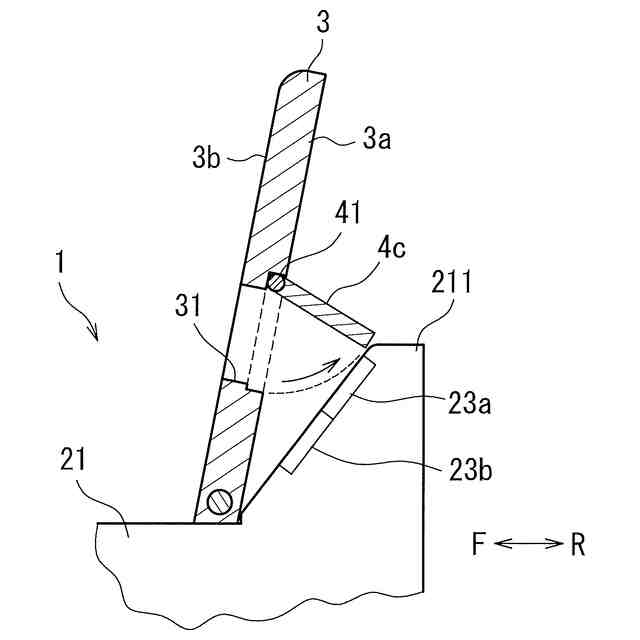
前記扉は、前記蓋部の表面側に回動可能に設けられたことを特徴とする洗濯機。
【請求項4】
請求項1に記載の洗濯機において、
前記扉は、前記蓋部の裏面側に回動可能に設けられたことを特徴とする洗濯機。
【請求項5】
請求項1に記載の洗濯機において、
前記ヒンジ部は前記蓋部の幅方向に沿って設けられたことを特徴とする洗濯機。
【請求項6】
請求項1~5のいずれか1つの請求項に記載の洗濯機において、
前記蓋部が開放された状態で、前記開口部は前記蓋部の下半部の領域内に設けられていることを特徴とする洗濯機。
【請求項7】
請求項6に記載の洗濯機において、
前記操作部は、前記筐体の上面に対して、45度よりも急な角度の面に設置されていることを特徴とする洗濯機。
発明の詳細な説明
【技術分野】
【0001】
本開示は、蓋部を有する洗濯機に関する。
続きを表示(約 1,300 文字)
【背景技術】
【0002】
衣類等を洗浄する洗濯機として、洗濯機本体の上面に洗濯物の投入口が設けられ、投入口が蓋部で覆われた、いわゆる縦型洗濯機が知られている。例えば特許文献1には、投入口よりも後方に操作部が配置された洗濯機について開示されている。
【先行技術文献】
【特許文献】
【0003】
特開2015-192774号公報
【発明の概要】
【発明が解決しようとする課題】
【0004】
操作部を投入口の後方に配置すると、洗濯物を出し入れしやすくなるものの、操作部が蓋部で遮られてしまい、操作の都度、蓋部を閉じる必要がある。前記特許文献1では、蓋体が左アーム板および右アーム板を備えて、操作部の複数のボタンが左アーム板および右アーム板の間に露出するように構成されている。しかしながら、このような構造の蓋部であると回動支持するヒンジ部を最小限の大きさにする必要があり、蓋部の支持強度が低下し、長期的な使用に支障を生じる懸念がある。また、蓋部を閉じたときに操作部と蓋部との間に広い開口ができないようにする必要があり、操作部および蓋部の構成に制限がかかる課題がある。
【0005】
本開示は、前記のような問題点にかんがみてなされたものであり、その目的とするところは、蓋部の支持強度を低下させることなく、また、操作部および蓋部の構成の制限を緩和し、操作部の操作性を高め得る洗濯機を提供することにある。
【課題を解決するための手段】
【0006】
前記課題を解決するため、本開示に係る洗濯機では、筐体と、前記筐体の上部に回動可能に設けられた蓋部とを有し、前記蓋部は、前記蓋部の表裏に貫通する開口部と、前記開口部に対して開閉可能に設けられた扉と、前記開口部と前記筐体との間に配置され当該蓋部の回動中心となるヒンジ部とを備え、前記筐体は、筐体後部を含み、前記筐体後部には操作部が設けられ、前記蓋部が開放された状態で、前記筐体後部は前記蓋部の背面側に位置し、前記扉の開放により前記蓋部の手前側から前記操作部にかけて前記開口部を通じて連通することを特徴としている。
【0007】
また、前記洗濯機において、前記扉は、前記蓋部に沿ってスライド開閉可能に設けられることが好ましい。また、前記扉は、前記蓋部の表面側に回動可能に設けられてもよく、前記蓋部の裏面側に回動可能に設けられてもよい。
【0008】
また、前記洗濯機において、前記ヒンジ部は前記蓋部の幅方向に沿って設けられることが好ましい。
【0009】
また、前記洗濯機において、前記蓋部が開放された状態で、前記開口部は前記蓋部の下半部の領域内に設けられることが好ましい。
【0010】
また、前記洗濯機において、前記操作部は、前記筐体の上面に対して、45度よりも急な角度の面に設置されていることが好ましい。
【発明の効果】
(【0011】以降は省略されています)
この特許をJ-PlatPat(特許庁公式サイト)で参照する
関連特許
シャープ株式会社
送風機
1日前
シャープ株式会社
表示装置
1か月前
シャープ株式会社
端末装置
17日前
シャープ株式会社
筐体構造
15日前
シャープ株式会社
端末装置
22日前
シャープ株式会社
加熱機器
15日前
シャープ株式会社
通信装置
3日前
シャープ株式会社
走行装置
22日前
シャープ株式会社
通信端末
24日前
シャープ株式会社
表示装置
1日前
シャープ株式会社
表示装置
1日前
シャープ株式会社
表示装置
16日前
シャープ株式会社
画像形成装置
17日前
シャープ株式会社
画像形成装置
29日前
シャープ株式会社
アンテナ装置
16日前
シャープ株式会社
画像形成装置
10日前
シャープ株式会社
画像形成装置
10日前
シャープ株式会社
イオン発生装置
22日前
シャープ株式会社
緩衝材及び梱包体
17日前
シャープ株式会社
端末装置および通信方法
2日前
シャープ株式会社
端末装置および通信方法
23日前
シャープ株式会社
端末装置および測定方法
12日前
シャープ株式会社
トナー及びその製造方法
29日前
シャープ株式会社
端末および端末の制御方法
29日前
シャープ株式会社
決済システム及び決済方法
18日前
シャープ株式会社
情報処理装置及び設定方法
15日前
シャープ株式会社
給紙装置および画像形成装置
23日前
シャープ株式会社
定着装置および画像形成装置
23日前
シャープ株式会社
動画像符号化装置、復号装置
18日前
シャープ株式会社
動画像符号化装置、復号装置
15日前
シャープ株式会社
画像処理装置及び表示制御方法
1日前
シャープ株式会社
端末装置、および、基地局装置
23日前
シャープ株式会社
端末装置、および、基地局装置
17日前
シャープ株式会社
給油管理装置、及び給油システム
15日前
シャープ株式会社
シート搬送装置および画像形成装置
2日前
シャープ株式会社
端末装置、方法、および、集積回路
17日前
続きを見る
他の特許を見る