TOP
|
特許
|
意匠
|
商標
特許ウォッチ
Twitter
他の特許を見る
10個以上の画像は省略されています。
公開番号
2025160006
公報種別
公開特許公報(A)
公開日
2025-10-22
出願番号
2024062944
出願日
2024-04-09
発明の名称
端末装置
出願人
シャープ株式会社
代理人
弁理士法人 HARAKENZO WORLD PATENT & TRADEMARK
主分類
G06Q
50/26 20240101AFI20251015BHJP(計算;計数)
要約
【課題】個人情報の適正な取り扱いを確保しつつ、効率的な測定作業を行える端末装置等を提供する。
【解決手段】端末装置は、被測定者の生体情報を測定し、測定結果をサーバに送信する測定処理部と、被測定者を認証するための認証用情報をサーバに送信し、サーバより認証結果を取得する認証処理部と、認証結果および測定結果を含む結果画面を表示する表示制御部と、を備える。表示制御部は、測定処理部および認証処理部を用いた測定操作を受け付ける測定画面としての測定待機画面(D1)を表示し、表示制御部は、測定待機画面に、現時点から遡る過去の所定の期間内に行われた測定操作の測定状態を表示形態によって表す状態アイコン(P)を、少なくとも1つ表示する。
【選択図】図2
特許請求の範囲
【請求項1】
撮影された被測定者の撮影画像に基づいて当該被測定者の生体情報を測定し、測定結果をサーバに送信する測定処理部と、
前記被測定者を認証するための認証用情報を前記サーバに送信し、前記サーバより認証結果を取得する認証処理部と、
前記測定処理部および前記認証処理部を用いた測定操作を受け付ける測定画面を表示し、前記測定操作の終了後、前記認証結果および前記測定結果を含む今回の結果画面を表示する表示制御部と、を備え、
前記表示制御部は、前記測定画面に、現時点から遡る過去の所定の期間内に行われた測定操作の測定状態を表示形態によって表す状態アイコンを、少なくとも1つ表示する端末装置。
続きを表示(約 1,400 文字)
【請求項2】
前記過去の所定の期間内に行われた過去の測定操作時の前記認証結果および前記測定結果を一時的に保存させる一時保存処理部を備え、
前記表示制御部は、前記状態アイコンをタッチする操作がなされると、タッチされた前記状態アイコンが測定状態を示している過去の測定操作時の前記認証結果および前記測定結果を含む過去の結果画面を表示する請求項1に記載の端末装置。
【請求項3】
前記状態アイコンが表す前記測定状態が、前記サーバと通信ができなかったことを示す通信エラーである場合に、
前記表示制御部は、前記過去の結果画面に、前記認証用情報および前記測定結果を再送信する指示を受け付ける再送信ボタンを表示する請求項2に記載の端末装置。
【請求項4】
前記過去の所定の期間内に行われた過去の測定操作時の認証結果に含まれる被測定者の識別情報を、測定状態を示す状態情報と共に一時的に保存する一時保存処理部を備え、
前記状態アイコンをタッチする操作がなされると、タッチされた前記状態アイコンが測定状態を示している過去の測定操作時の前記認証結果に含まれていた前記識別情報を前記サーバに送信し、前記サーバより前記識別情報に対応付けられている測定結果と認証結果とを取得する情報取得部を備え、
前記表示制御部は、前記状態アイコンをタッチする操作がなされると、前記情報取得部にて取得された前記測定結果と前記認証結果とを含む過去の結果画面を表示する請求項1に記載の端末装置。
【請求項5】
前記一時保存処理部は、前記サーバと通信ができなかった場合に、前記測定結果を一時的に保存し、
前記表示制御部は、前記過去の結果画面に、前記認証用情報および前記測定結果を再送信する指示を受け付ける再送信ボタンを表示する請求項4に記載の端末装置。
【請求項6】
前記表示制御部は、タッチする操作がなされることで、対応する過去の結果画面を表示する前記状態アイコンを前記過去の結果画面にも表示する請求項2又は4に記載の端末装置。
【請求項7】
前記表示制御部は、前記測定状態に応じて前記状態アイコンの表示色を異ならせる請求項1、2又は4に記載の端末装置。
【請求項8】
前記表示制御部は、前記状態アイコンを、直近の測定操作から過去に遡って、測定順序が分かるように複数表示する請求項1、2又は4に記載の端末装置。
【請求項9】
前記表示制御部は、前記状態アイコンに、
測定順序を示す記号、対応する被測定者を示す識別情報、および性別を示す情報の中の少なくともいずれか1つを含めて表示する請求項1から4のいずれか1項に記載の端末装置。
【請求項10】
前記状態アイコンが表す前記測定状態は、
今回の測定結果と前回の測定結果との間に所定値を超えた変化が無かったことを示す正常終了状態、
今回の測定結果と前回の測定結果との間に所定値を超えた変化が有ったことを示す変化有り状態、
測定操作のやり直しが必要であることを示す再測定状態、
前記サーバと通信ができなかったことを示す通信エラー状態、
および前記認証結果が前記被測定者を認証できなかったことを示す認証エラー状態、の中の少なくとも何れか1つを含む請求項1、2又は4に記載の端末装置。
(【請求項11】以降は省略されています)
発明の詳細な説明
【技術分野】
【0001】
本発明は、非接触で被測定者の生体情報を測定する端末装置に関する。
続きを表示(約 1,800 文字)
【背景技術】
【0002】
従来、計測機器による計測結果を取得して表示する端末装置が従来技術として知られている。このような端末装置では、個人情報保護の観点から、測定結果等の情報は、アクセス制限がなされたサーバにて保存され、端末装置には極力残さないように管理されている。
【0003】
例えば、特許文献1には、過去の測定履歴をサーバから取得して、測定操作を受け付ける測定画面とは別の画面のカレンダー上で確認することができる通信端末が開示されている。カレンダー上には測定履歴のアイコンが表示され、該アイコンの表示形態にて測定状態がわかるようになっている。測定履歴のアイコンを選択操作することで、当該日付のデータを画面表示する。
【先行技術文献】
【特許文献】
【0004】
特開2020-046962号公報
【発明の概要】
【発明が解決しようとする課題】
【0005】
しかしながら、上述の技術では、過去の測定履歴を確認できる画面は、測定画面とは別の、過去の測定履歴をサーバから取得する画面である。そのため、測定操作時に過去の測定履歴を確認するには、測定画面を一旦閉じ、サーバから過去の履歴を取得する別の画面を開いて確認する必要があり、効率的な測定作業を行う上で改善の余地を有している。
【0006】
本発明の一態様は、前記の問題に鑑みてなされたものであり、個人情報の適正な取り扱いを確保しつつ、効率的な測定作業を行える端末装置等を提供することを目的とする。
【課題を解決するための手段】
【0007】
上記の課題を解決するために、本発明の一態様に係る端末装置は、撮影された被測定者の撮影画像に基づいて当該被測定者の生体情報を測定し、測定結果をサーバに送信する測定処理部と、前記被測定者を認証するための認証用情報を前記サーバに送信し、前記サーバより認証結果を取得する認証処理部と、前記測定処理部および前記認証処理部を用いた測定操作を受け付ける測定画面を表示し、前記測定操作の終了後、前記認証結果および前記測定結果を含む今回の結果画面を表示する表示制御部と、を備え、前記表示制御部は、前記測定画面に、現時点から遡る過去の所定の期間内に行われた測定操作の測定状態を表示形態によって表す状態アイコンを、少なくとも1つ表示する。
【発明の効果】
【0008】
本発明の一態様によれば、個人情報の適正な取り扱いを確保しつつ、効率的な測定作業を行える端末装置等を提供することができる。
【図面の簡単な説明】
【0009】
本発明の実施形態1に係る端末装置の概略構成を示すブロック図である。
図1に示す端末装置を用いて行う測定操作の基本動作を、画面画像と共に示す図である。
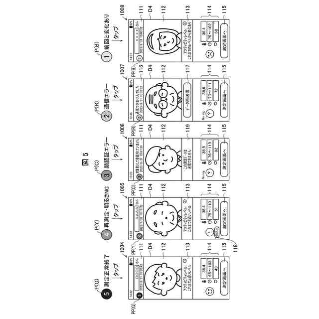
測定待機画面に表示される、過去の測定操作の操作状態を示す状態アイコンの説明図である。
付加情報を有する状態アイコンの例を示す図である。
図3に示す測定待機画面に表示されている状態アイコンをタップすることで表示される過去測定結果画面を示す図である。
通信エラーであった場合の過去測定結果画面において、データ再送信ボタンをタップした場合の画面遷移を示す図である。
図1に示す端末装置を用いて行う測定操作の基本動作のシーケンスを示す図である。
図1に示す端末装置を用いて行う測定操作の通信エラー時の動作のシーケンスを示す図である。
変形例の端末装置を用いて行う測定操作の基本動作のシーケンスを示す図である。
本発明の実施形態2に係る端末装置を用いて行う測定操作の基本動作のシーケンスを示す図である。
本発明の実施形態3に係る端末装置の概略構成を示すブロック図である。
図11に示す端末装置を用いて行う測定操作の基本動作のシーケンスを示す図である。
本発明の実施形態4に係る端末装置において、過去の測定結果画面を表示する動作を示す図である。
図13に示す端末装置において表示される状態アイコンを含む過去測定結果画面を示す図である。
【発明を実施するための形態】
【0010】
〔実施形態1〕
以下、本発明の一実施形態について、詳細に説明する。
(【0011】以降は省略されています)
この特許をJ-PlatPat(特許庁公式サイト)で参照する
関連特許
シャープ株式会社
送風機
27日前
シャープ株式会社
照明装置
6日前
シャープ株式会社
通信装置
29日前
シャープ株式会社
表示装置
27日前
シャープ株式会社
筐体構造
1か月前
シャープ株式会社
表示装置
27日前
シャープ株式会社
空気調和機
14日前
シャープ株式会社
空気調和機
14日前
シャープ株式会社
空気調和機
14日前
シャープ株式会社
加熱調理器
14日前
シャープ株式会社
加熱調理機
6日前
シャープ株式会社
画像形成装置
22日前
シャープ株式会社
画像形成装置
1か月前
シャープ株式会社
画像形成装置
1か月前
シャープ株式会社
画像形成装置
8日前
シャープ株式会社
塵埃回収装置
1日前
シャープ株式会社
緩衝材および梱包体
1日前
シャープ株式会社
端末装置および通信方法
28日前
シャープ株式会社
端末装置および測定方法
1か月前
シャープ株式会社
端末装置および通信方法
14日前
シャープ株式会社
情報処理装置及び設定方法
1か月前
シャープ株式会社
通信端末および水道メータ
8日前
シャープ株式会社
風向変更板、及び空気調和機
15日前
シャープ株式会社
定着装置および画像形成装置
7日前
シャープ株式会社
画像処理装置及び表示制御方法
27日前
シャープ株式会社
端末装置、および、基地局装置
15日前
シャープ株式会社
端末装置、および、基地局装置
15日前
シャープ株式会社
表示制御装置及び表示制御方法
15日前
シャープ株式会社
制御装置、及び、装置制御方法
6日前
シャープ株式会社
画像処理装置および表示制御方法
14日前
シャープ株式会社
塵芥回収装置及び塵芥回収システム
27日前
シャープ株式会社
集塵ステーション及び塵埃回収装置
7日前
シャープ株式会社
シート搬送装置および画像形成装置
28日前
シャープ株式会社
端末装置、基地局装置および通信方法
1か月前
シャープ株式会社
端末装置、基地局装置および通信方法
14日前
シャープ株式会社
UE(User Equipment)
6日前
続きを見る
他の特許を見る