TOP
|
特許
|
意匠
|
商標
特許ウォッチ
Twitter
他の特許を見る
10個以上の画像は省略されています。
公開番号
2025171563
公報種別
公開特許公報(A)
公開日
2025-11-20
出願番号
2024077042
出願日
2024-05-10
発明の名称
端末装置、基地局装置および通信方法
出願人
シャープ株式会社
代理人
個人
主分類
H04W
72/0453 20230101AFI20251113BHJP(電気通信技術)
要約
【課題】効率的な通信を実現する。
【解決手段】端末装置は、Trigger frameを受信する受信部と、前記Trigger frameに含まれる、UL Bandwidthに関する第1の情報およびRU Allocationに関する第2の情報によっ
て示されるRUを用いてPPDUを送信する送信部と、を備える。
【選択図】図2
特許請求の範囲
【請求項1】
Trigger frameを受信する受信部と、
前記Trigger frameに含まれる、UL Bandwidthに関する第1の情報およびRU Allocationに関する第2の情報によって示されるRUを用いてPPDUを送信する送信部と、を備え、
前記Trigger frameに、さらに、前記RU Allocationに対してdistributed RUを適用することを示す第3の情報が含まれ、かつ、端末装置が前記第3の情報に関連する機能を有効にしているとすれば、前記第2の情報は、distributed RUのtoneの数と周波数オフセットを示すために用いられ、
前記送信部は、前記第1の情報によって示されるUL Bandwidthに対して前記distributed RUを構成する複数のtonesをそれぞれ等間隔に配置する
端末装置。
続きを表示(約 1,700 文字)
【請求項2】
前記第3の情報は、前記端末装置が前記第3の情報に関連する機能を有効にしているとすれば、前記Trigger frameのTrigger Type subfieldのcertain valueによって示される
請求項1記載の端末装置。
【請求項3】
前記第3の情報は、前記端末装置が前記第3の情報に関連する機能を有効にしているとすれば、前記Trigger frameのTrigger Dependent User Info subfieldを用いて示される
請求項1記載の端末装置。
【請求項4】
前記端末装置が前記第3の情報に関連する機能を有効にしているとすれば、前記Trigger frameのTrigger Dependent Common Info subfieldを用いて示される
請求項1記載の端末装置。
【請求項5】
Trigger Type subfieldがCertain Trigger frameを示し、かつ、前記端末装置が前記第3の情報に関連する機能を有効にしているとすれば、前記Certain Trigger frameに対し
て、前記第3の情報を示すsubfieldがTrigger Dependent Common Info subfieldに含まれる
請求項1記載の端末装置。
【請求項6】
前記第3の情報は、Trigger Type subfieldがCertain Trigger frameを示し、かつ、前記端末装置が前記第3の情報に関連する機能を有効にしているとすれば、前記Certain Trigger frame に対して、前記第3の情報を示すsubfieldがTrigger Dependent User Info subfieldに含まれる
請求項1記載の端末装置。
【請求項7】
前記第3の情報は、前記端末装置が前記第3の情報に関連する機能を有効にしているとすれば、AID12 subfieldの特定のIDに対応付けて示される
請求項1記載の端末装置。
【請求項8】
前記端末装置が前記第3の情報に関連する機能を有効にしていないとすれば、前記第3の情報を示すsubfieldをignoreする
請求項1記載の端末装置。
【請求項9】
UL Bandwidthに関する第1の情報およびRU Allocationに関する第2の情報を含むTrigger frameを送信する送信部と、
前記Trigger frameに対応するPPDUを受信する受信部と、を備え、
前記送信部は、前記RU Allocationに対してdistributed RUを適用することを示す第3
の情報に関連する機能が有効であると示されるとすれば、前記第1の情報および前記第2
の情報に加え、前記第3の情報を含むTrigger frameを送信する
基地局装置。
【請求項10】
Trigger frameを受信するステップと、
前記Trigger frameに含まれる、UL Bandwidthに関する第1の情報およびRU Allocationに関する第2の情報によって示されるRUを用いてPPDUを送信するステップと、含み、
前記Trigger frameに、さらに、前記RU Allocationに対してdistributed RUを適用することを示す第3の情報が含まれ、かつ、端末装置が前記第3の情報に関連する機能を有効にしているとすれば、前記第2の情報は、distributed RUのtoneの数と周波数オフセットを示すために用いられ、
前記第1の情報によって示されるUL Bandwidthに対して前記distributed RUを構成する複数のtonesをそれぞれ等間隔に配置するステップと、を含む
通信方法。
発明の詳細な説明
【技術分野】
【0001】
本発明は、端末装置、基地局装置および通信方法に関する。
続きを表示(約 2,000 文字)
【背景技術】
【0002】
無線LAN(Local Area Network)通信の高速化および周波数利用効率化がIEEE(The Institute of Electrical and Electronics Engineers Inc.)において検討されている。現在、IEEE802.11beの後継規格として、IEEE802.11bnの標準化が開始されている。
【発明の概要】
【発明が解決しようとする課題】
【0003】
効率的な通信が可能な端末装置、基地局装置および通信方法を提供する。
【課題を解決するための手段】
【0004】
(1)第1の態様は、端末装置であって、Trigger frameを受信する受信部と、前記Trigger frameに含まれる、UL Bandwidthに関する第1の情報およびRU Allocationに関する
第2の情報によって示されるRUを用いてPPDUを送信する送信部と、を備え、前記Trigger frameに、さらに、前記RU Allocationに対してdistributed RUを適用することを示す第3の情報が含まれ、かつ、端末装置が前記第3の情報に関連する機能を有効にしているとすれば、前記第2の情報は、distributed RUのtoneの数と周波数オフセットを示すために用いられ、前記送信部は、前記第1の情報によって示されるUL Bandwidthに対して前記distributed RUを構成する複数のtonesをそれぞれ等間隔に配置する。
【0005】
(2)第2の態様は、基地局装置であって、UL Bandwidthに関する第1の情報およびRU
Allocationに関する第2の情報を含むTrigger frameを送信する送信部と、前記Trigger frameに対応するPPDUを受信する受信部と、を備え、前記送信部は、前記RU Allocationに対してdistributed RUを適用することを示す第3の情報に関連する機能が有効であると示されるとすれば、前記第1の情報および前記第2の情報に加え、前記第3の情報を含むTrigger frameを送信する。
【0006】
(3)第3の態様は、通信方法であって、Trigger frameを受信するステップと、前記Trigger frameに含まれる、UL Bandwidthに関する第1の情報およびRU Allocationに関す
る第2の情報によって示されるRUを用いてPPDUを送信するステップと、含み、前記Trigger frameに、さらに、前記RU Allocationに対してdistributed RUを適用することを示す第3の情報が含まれ、かつ、端末装置が前記第3の情報に関連する機能を有効にしているとすれば、前記第2の情報は、distributed RUのtoneの数と周波数オフセットを示すために用いられ、前記第1の情報によって示されるUL Bandwidthに対して前記distributed RUを構成する複数のtonesをそれぞれ等間隔に配置するステップと、を含む。
【発明の効果】
【0007】
効率的な通信を実現することができる。
【図面の簡単な説明】
【0008】
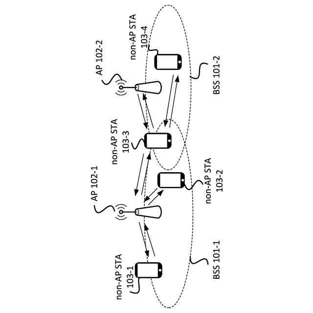
本実施形態の一態様に係る無線LANシステムの一例を示す図である。
本実施形態の一態様に係るSTAの装置構成の一例を示す図である。
本実施形態の一態様に係るAPの装置構成の一例を示す図である。
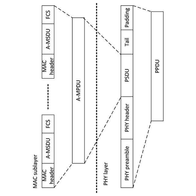
本実施形態の一態様に係る各階層でサポートされているPDUの概略図である。
本実施形態の一態様に係るMAC frameがTrigger frameである場合の構成の一例を示す図である。
本実施形態の一態様に係るUser Info fieldの一例を示す図である。
本実施形態の一態様に係るRU Allocation subfieldによるRUの配置の一例を示す図である。
本実施形態の一態様に係る各チャネルの帯域幅(CBW)に対して配置可能なRUの最大数の一例を示す図である。
本実施形態の一態様に係るRUの構成の一例を示す図である。
本実施形態の一態様に係るSTAのdRUを用いたPPDUの送信に関連するプロシージャの一例を示す図である。
【発明を実施するための形態】
【0009】
以下、本発明の実施形態について説明する。
【0010】
“A、および/または、B”は、“A”、“B”、または“AおよびB”を含む用語であってもよい。
(【0011】以降は省略されています)
この特許をJ-PlatPat(特許庁公式サイト)で参照する
関連特許
他の特許を見る