TOP
|
特許
|
意匠
|
商標
特許ウォッチ
Twitter
他の特許を見る
公開番号
2025173079
公報種別
公開特許公報(A)
公開日
2025-11-27
出願番号
2024078435
出願日
2024-05-14
発明の名称
定着装置および画像形成装置
出願人
シャープ株式会社
代理人
弁理士法人あーく事務所
主分類
G03G
15/20 20060101AFI20251119BHJP(写真;映画;光波以外の波を使用する類似技術;電子写真;ホログラフイ)
要約
【課題】接触する部材の間に断熱空間を設けて、移動する熱量を抑制することができる定着装置を提供する。
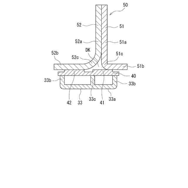
【解決手段】定着装置1は、定着ベルトの内側に設けられ、加圧部材と共にニップ部を形成するパッド部材(基部33および支持板40)と、第1保持部材51と第2保持部材52とを組み合わせて、パッド部材を保持するパッド保持部材50とを備える。第1保持部材51は、第1対向部51aと、第1保持面部51bと、第1対向部51aと第1保持面部51bとの間を繋ぐ第1屈曲部51cとを有し、第2保持部材52は、第2対向部52aと、第2保持面部52bと、第2対向部52aと第2保持面部52bとの間を繋ぐ第2屈曲部52cとを有する。第1屈曲部51cと第2屈曲部52cとは、曲率が異なる。
【選択図】図3
特許請求の範囲
【請求項1】
無端状の定着ベルトと、
前記定着ベルトを加熱する熱源と、
前記定着ベルトの外側から加圧する加圧部材と、
前記定着ベルトの内側に設けられ、前記加圧部材と共にニップ部を形成するパッド部材と、
第1保持部材と第2保持部材とを組み合わせて、前記パッド部材を保持するパッド保持部材とを備える定着装置であって、
前記第1保持部材は、前記第2保持部材に対向する第1対向部と、前記パッド部材に面する第1保持面部と、前記第1対向部と前記第1保持面部との間を繋ぐ第1屈曲部とを有し、
前記第2保持部材は、前記第1保持部材に対向する第2対向部と、前記パッド部材に面する第2保持面部と、前記第2対向部と前記第2保持面部との間を繋ぐ第2屈曲部とを有し、
前記第1保持部材と前記第2保持部材とは、前記第1対向部と前記第2対向部とを対向させて重ね合わされ、前記第1保持面部と前記第2保持面部とが互いに離間する方向に延びており、
前記第1屈曲部と前記第2屈曲部とは、曲率が異なること
を特徴とする定着装置。
続きを表示(約 580 文字)
【請求項2】
請求項1に記載の定着装置であって、
前記第1保持面部と前記第2保持面部とは、前記パッド部材に接する面積が異なること
を特徴とする定着装置。
【請求項3】
請求項1に記載の定着装置であって、
前記第1対向部から前記第1保持面部までの距離と、前記第2対向部から前記第2保持面部までの距離とは、異なること
を特徴とする定着装置。
【請求項4】
請求項1に記載の定着装置であって、
前記第2屈曲部は、前記第1屈曲部より曲率が小さく、
前記第2保持部材は、前記定着ベルトの幅方向における端部に、前記第2屈曲部よりも曲率が小さい端部屈曲部が設けられていること
を特徴とする定着装置。
【請求項5】
請求項1に記載の定着装置であって、
前記第2屈曲部は、前記第1屈曲部より曲率が小さく、
前記パッド部材は、前記加圧部材に対向するニップ形成面部と、前記ニップ形成面部の端部から前記パッド保持部材の側に延びたパッド当接部と、前記定着ベルトの幅方向に延びるリブとを有し、
前記リブは、前記第2屈曲部に対向する位置に設けられること
を特徴とする定着装置。
【請求項6】
請求項1に記載の定着装置を備えた画像形成装置。
発明の詳細な説明
【技術分野】
【0001】
本開示は、用紙に画像を定着させる定着装置および画像形成装置に関する。
続きを表示(約 1,800 文字)
【背景技術】
【0002】
従来、複写機、プリンタ等の電子写真方式の画像形成装置に用いられる定着装置では、未定着のトナー像が形成された用紙を加圧および加熱することで、トナー像の定着が行われる。近年では、無端状の定着ベルトを用いた定着装置が提案されている。このような定着装置では、無端状の定着ベルトの内側にニップ形成部材を配置し、定着ベルトを介して加圧ローラをニップ形成部材に押し付けてニップ部を形成している。定着装置では、定着ベルトを加熱するための熱源が設けられており、熱による部品の破損が懸念されている。そこで、部品構成を複雑化することなく、内部部品の熱変形等を防止する方法が提案されている(例えば、特許文献1参照)。
【先行技術文献】
【特許文献】
【0003】
特開2020-76885号公報
【発明の概要】
【発明が解決しようとする課題】
【0004】
従来の定着装置は、無端状の定着ベルトと、定着ベルトを両端部で保持する定着ベルト保持部材と、定着ベルトの外周面に当接する加圧部材と、定着ベルトの内部に配置され、定着ベルトを介して加圧部材に当接してニップを形成するニップ形成部材と、ニップ形成部材を支持するニップ支持部材と、定着ベルトの内側に配置され、定着ベルトを加熱する熱源と、熱源の輻射熱を反射する反射部材と、定着ベルト保持部材とニップ支持部材を一体に固定する側板と、定着ベルトを介して加圧部材をニップ形成部材に圧接させる加圧機構とを備え、ニップ支持部材は、熱伝導率の異なる少なくとも2種類の部材が一体に形成されている。
【0005】
上述した定着装置におけるニップ支持部材は、ニップ形成部材と当接する高熱伝導性部材と、ニップ形成部材と当接しない高剛性部材とを有しており、高熱伝導性部材は、高剛性部材よりも熱伝導率が高くなっている。それによって、ニップ形成部材と高熱伝導性部材との間で熱が伝わりやすくなり、均熱効果と部材の温度を低下させる効果とを得ている。しかしながら、ニップ形成部材から熱が逃げ、温度が低下しやすくなると、熱源による加熱効率が低下し、加熱時間が長くなったり、消費電力が大きくなったりするという課題がある。
【0006】
本開示は、上記の課題を解決するためになされたものであり、接触する部材の間に断熱空間を設けて、移動する熱量を抑制することができる定着装置および画像形成装置を提供することを目的とする。
【課題を解決するための手段】
【0007】
本開示に係る定着装置は、無端状の定着ベルトと、前記定着ベルトを加熱する熱源と、前記定着ベルトの外側から加圧する加圧部材と、前記定着ベルトの内側に設けられ、前記加圧部材と共にニップ部を形成するパッド部材と、第1保持部材と第2保持部材とを組み合わせて、前記パッド部材を保持するパッド保持部材とを備える定着装置であって、前記第1保持部材は、前記第2保持部材に対向する第1対向部と、前記パッド部材に面する第1保持面部と、前記第1対向部と前記第1保持面部との間を繋ぐ第1屈曲部とを有し、前記第2保持部材は、前記第1保持部材に対向する第2対向部と、前記パッド部材に面する第2保持面部と、前記第2対向部と前記第2保持面部との間を繋ぐ第2屈曲部とを有し、前記第1保持部材と前記第2保持部材とは、前記第1対向部と前記第2対向部とを対向させて重ね合わされ、前記第1保持面部と前記第2保持面部とが互いに離間する方向に延びており、前記第1屈曲部と前記第2屈曲部とは、曲率が異なることを特徴とする。
【0008】
本開示に係る定着装置では、前記第1保持面部と前記第2保持面部とは、前記パッド部材に接する面積が異なる構成としてもよい。
【0009】
本開示に係る定着装置では、前記第1対向部から前記第1保持面部までの距離と、前記第2対向部から前記第2保持面部までの距離とは、異なる構成としてもよい。
【0010】
本開示に係る定着装置では、前記第2屈曲部は、前記第1屈曲部より曲率が小さく、前記第2保持部材は、前記定着ベルトの幅方向における端部に、前記第2屈曲部よりも曲率が小さい端部屈曲部が設けられている構成としてもよい。
(【0011】以降は省略されています)
この特許をJ-PlatPat(特許庁公式サイト)で参照する
関連特許
シャープ株式会社
送風機
20日前
シャープ株式会社
通信装置
22日前
シャープ株式会社
通信端末
1か月前
シャープ株式会社
筐体構造
1か月前
シャープ株式会社
表示装置
20日前
シャープ株式会社
表示装置
20日前
シャープ株式会社
加熱機器
1か月前
シャープ株式会社
表示装置
1か月前
シャープ株式会社
端末装置
1か月前
シャープ株式会社
走行装置
1か月前
シャープ株式会社
端末装置
1か月前
シャープ株式会社
表示装置
1か月前
シャープ株式会社
加熱調理器
7日前
シャープ株式会社
空気調和機
7日前
シャープ株式会社
空気調和機
7日前
シャープ株式会社
空気調和機
7日前
シャープ株式会社
画像形成装置
1か月前
シャープ株式会社
画像形成装置
29日前
シャープ株式会社
画像形成装置
1日前
シャープ株式会社
アンテナ装置
1か月前
シャープ株式会社
画像形成装置
15日前
シャープ株式会社
画像形成装置
29日前
シャープ株式会社
画像形成装置
1か月前
シャープ株式会社
イオン発生装置
1か月前
シャープ株式会社
緩衝材及び梱包体
1か月前
シャープ株式会社
端末装置および測定方法
1か月前
シャープ株式会社
端末装置および通信方法
21日前
シャープ株式会社
トナー及びその製造方法
1か月前
シャープ株式会社
端末装置および通信方法
7日前
シャープ株式会社
通信装置および制御方法
1か月前
シャープ株式会社
端末装置および通信方法
1か月前
シャープ株式会社
情報処理装置及び設定方法
1か月前
シャープ株式会社
決済システム及び決済方法
1か月前
シャープ株式会社
通信端末および水道メータ
1日前
シャープ株式会社
端末および端末の制御方法
1か月前
シャープ株式会社
動画像符号化装置、復号装置
1か月前
続きを見る
他の特許を見る