TOP
|
特許
|
意匠
|
商標
特許ウォッチ
Twitter
他の特許を見る
公開番号
2025168965
公報種別
公開特許公報(A)
公開日
2025-11-12
出願番号
2024073880
出願日
2024-04-30
発明の名称
画像形成装置
出願人
シャープ株式会社
代理人
個人
,
個人
,
個人
,
個人
,
個人
,
個人
主分類
B65H
5/06 20060101AFI20251105BHJP(運搬;包装;貯蔵;薄板状または線条材料の取扱い)
要約
【課題】用紙搬送用のモータの脱調を抑制することができる画像形成装置を提供する。
【解決手段】本開示の画像形成装置は、用紙搬送路に沿って用紙を搬送する第1搬送ローラ対と、第1搬送ローラ対よりも下流側において用紙を搬送する第2搬送ローラ対と、第1搬送ローラ対を駆動する第1モータと、第2搬送ローラ対を駆動する第2モータと、第1及び第2モータを制御する制御部とを備え、前記制御部は、前記用紙が第1搬送ローラ対の間及び第2搬送ローラ対の間に位置する状態で停止した後第1及び第2搬送ローラ対で前記用紙の搬送を再開する際の第1搬送ローラ対が所定の搬送速度に達するまでの加速度を、第2搬送ローラ対が前記所定の搬送速度に達するまでの加速度よりも大きくし、加速カーブの範囲を限定することで周波数遷移の段差を小さくし、第1搬送ローラ対と第2搬送ローラ対の速度差を縮めるように設けられたことを特徴とする。
【選択図】図8
特許請求の範囲
【請求項1】
用紙搬送路に沿って用紙を搬送するように設けられた第1搬送ローラ対と、前記用紙搬送路において第1搬送ローラ対よりも下流側において用紙を搬送するように設けられた第2搬送ローラ対と、第1搬送ローラ対を駆動するように設けられた第1モータと、第2搬送ローラ対を駆動するように設けられた第2モータと、第1及び第2モータを制御するように設けられた制御部とを備え、
前記制御部は、前記用紙が第1搬送ローラ対の間及び第2搬送ローラ対の間に位置する状態で停止した後第1及び第2搬送ローラ対で前記用紙の搬送を再開する際の第1搬送ローラ対が所定の搬送速度に達するまでの加速度を、第2搬送ローラ対が前記所定の搬送速度に達するまでの加速度よりも大きくするように設けられたことを特徴とする画像形成装置。
続きを表示(約 960 文字)
【請求項2】
第1モータの駆動出力は、第2モータの駆動出力よりも小さい請求項1に記載の画像形成装置。
【請求項3】
前記制御部は、所定の条件を満たす場合に、前記用紙が第1搬送ローラ対の間及び第2搬送ローラ対の間に位置する状態で停止した後第1及び第2搬送ローラ対で前記用紙の搬送を再開する際の第1搬送ローラ対が所定の搬送速度に達するまでの加速度を大きくする補正を行うように設けられた請求項1又は2に記載の画像形成装置。
【請求項4】
前記所定の条件は、第1及び第2モータに関連する紙詰まりが複数回発生したこと、通紙枚数が所定の枚数を超えたこと、第1モータの脱調が検出されたこと、及び用紙の引っ張り合いによるローラ跡が用紙に残ったことのうち少なくとも1つを含む請求項3に記載の画像形成装置。
【請求項5】
第1及び第2モータのそれぞれは、ステッピングモータであり、
前記制御部は、第1モータに電力を供給するように設けられた第1駆動回路と、第2モータに電力を供給するように設けられた第2駆動回路とを含む請求項3に記載の画像形成装置。
【請求項6】
前記補正は、第1モータの加速と第2モータの加速とを比較しその結果に基づき第1モータの加速を修正する補正である請求項5に記載の画像形成装置。
【請求項7】
前記制御部は、第1駆動回路に供給する第1パルス信号により第1モータの回転を制御するように設けられ、かつ、第2駆動回路に供給する第2パルス信号により第2モータの回転を制御するように設けられ、
前記補正は、第1パルス信号の周波数が目標周波数に到達するまでの時間を補正前よりも短くするような補正である請求項5に記載の画像形成装置。
【請求項8】
前記制御部は、第1駆動回路に供給する第1パルス信号により第1モータの回転を制御するように設けられ、かつ、第2駆動回路に供給する第2パルス信号により第2モータの回転を制御するように設けられ、
前記補正は、第1パルス信号の目標周波数及び第2パルス信号の加速カーブの範囲を狭くすることで周波数遷移の段差を小さくする補正である請求項5に記載の画像形成装置。
発明の詳細な説明
【技術分野】
【0001】
本開示は、画像形成装置に関する。
続きを表示(約 2,700 文字)
【背景技術】
【0002】
画像形成装置に含まれる用紙搬送装置において、用紙を同時に搬送する2つの用紙搬送ローラ対のうち一方の用紙搬送ローラ対の摩耗が速く進行するとモータが脱調することが知られている(例えば、特許文献1参照)。引用文献1では、前記2つの用紙搬送ローラ対の回転速度を遅くすることによりモータの駆動トルクを増大させ脱調を抑制している。
【先行技術文献】
【特許文献】
【0003】
特開2017-214171号公報
【発明の概要】
【発明が解決しようとする課題】
【0004】
モータサイズによる自起動領域の違いや駆動部のギア比の違い、使用回転数の違いにより、第1搬送ローラ対を駆動する第1モータの加速カーブのステップ幅又は加速度と、用紙を第1搬送ローラ対と同時に搬送する第2搬送ローラ対を駆動する第2モータの加速カーブのステップ幅又は加速度とに差が生じる場合がある。この差により、加速時に用紙の引っ張り合いが起き、モータへの負荷が増すことでモータが脱調する場合がある。
本開示は、このような事情に鑑みてなされたものであり、用紙搬送用のモータの脱調を抑制することができる画像形成装置を提供する。
【課題を解決するための手段】
【0005】
本開示は、用紙搬送路に沿って用紙を搬送するように設けられた第1搬送ローラ対と、前記用紙搬送路において第1搬送ローラ対よりも下流側において用紙を搬送するように設けられた第2搬送ローラ対と、第1搬送ローラ対を駆動するように設けられた第1モータと、第2搬送ローラ対を駆動するように設けられた第2モータと、第1及び第2モータを制御するように設けられた制御部とを備え、前記制御部は、前記用紙が第1搬送ローラ対の間及び第2搬送ローラ対の間に位置する状態で停止した後第1及び第2搬送ローラ対で前記用紙の搬送を再開する際の第1搬送ローラ対が所定の搬送速度に達するまでの加速度を、第2搬送ローラ対が前記所定の搬送速度に達するまでの加速度よりも大きくし、両搬送ローラ対の加速カーブの範囲を狭くすることでお互いの周波数遷移時に発生する差を小さくするように設けられたことを特徴とする画像形成装置を提供する。
【発明の効果】
【0006】
本開示によれば、上流側の第1搬送ローラ対の加速度を大きくし、両搬送ローラ対の加速カーブの範囲を狭くすることでお互いの周波数遷移時に発生する差を小さくする補正を行うことにより、第1搬送ローラ対と第2搬送ローラ対との間に適度な紙のたわみを維持することができモータの脱調を抑制することができる。
【図面の簡単な説明】
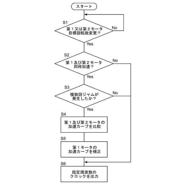
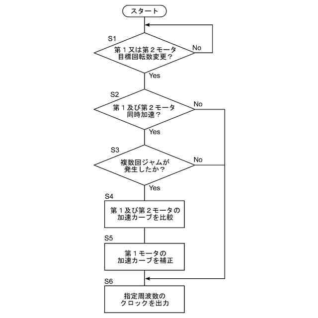
【0007】
本開示の一実施形態の画像形成装置の構成を示す概略図である。
第1及び第2搬送ローラ対を用いた用紙搬送の説明図である。
異なる駆動出力の第1及び第2モータにより駆動される第1及び第2搬送ローラ対の搬送速度の変化を示すグラフである。
第1及び第2モータの軸回転周波数の変化を示すグラフである。
(a)は図4のモータの軸回転周波数の変化の拡大図であり、(b)は図7のモータの軸回転周波数の変化の拡大図である。
補正後の第1搬送ローラ対の搬送速度の変化と、第2搬送ローラ対の搬送速度変化とを示すグラフである。
補正後の第1モータの軸回転周波数の変化と、第2モータの軸回転周波数の変化とを示すグラフである。
第1及び第2モータの制御方法のフローチャートである。
【発明を実施するための形態】
【0008】
本開示の画像形成装置は、用紙搬送路に沿って用紙を搬送するように設けられた第1搬送ローラ対と、前記用紙搬送路において第1搬送ローラ対よりも下流側において用紙を搬送するように設けられた第2搬送ローラ対と、第1搬送ローラ対を駆動するように設けられた第1モータと、第2搬送ローラ対を駆動するように設けられた第2モータと、第1及び第2モータを制御するように設けられた制御部とを備え、前記制御部は、前記用紙が第1搬送ローラ対の間及び第2搬送ローラ対の間に位置する状態で停止した後第1及び第2搬送ローラ対で前記用紙の搬送を再開する際の第1搬送ローラ対が所定の搬送速度に達するまでの加速度を、第2搬送ローラ対が前記所定の搬送速度に達するまでの加速度よりも大きくし、両搬送ローラ対の加速カーブの範囲を狭くすることでお互いの周波数遷移時に発生する差を小さくするように設けられたことを特徴とする。
【0009】
第1モータの駆動出力は、第2モータの駆動出力よりも小さくてもよい。
前記制御部は、所定の条件を満たす場合に、前記用紙が第1搬送ローラ対の間及び第2搬送ローラ対の間に位置する状態で停止した後第1及び第2搬送ローラ対で前記用紙の搬送を再開する際の第1搬送ローラ対が所定の搬送速度に達するまでの加速度を大きくする補正を行うように設けられることが好ましい。
前記所定の条件は、第1及び第2モータに関連する紙詰まりが複数回発生したこと、通紙枚数が所定の枚数を超えたこと、第1モータの脱調が検出されたこと、及び用紙の引っ張り合いによるローラ跡が用紙に残ったことのうち少なくとも1つを含むことが好ましい。
【0010】
第1及び第2モータのそれぞれは、ステッピングモータであってもよい。また、前記制御部は、第1モータに電力を供給するように設けられた第1駆動回路と、第2モータに電力を供給するように設けられた第2駆動回路とを含んでもよい。
前記補正は、第1モータの加速と第2モータの加速とを比較しその結果に基づき第1モータの加速を修正する補正であることが好ましい。
前記制御部は、第1駆動回路に供給する第1パルス信号により第1モータの回転を制御するように設けられ、かつ、第2駆動回路に供給する第2パルス信号により第2モータの回転を制御するように設けられてもよい。また、前記補正は、第1パルス信号の周波数が目標周波数に到達するまでの時間を補正前よりも短くするような補正であることが好ましい。
前記補正は、第1及び第2パルス信号に使用する周波数テーブルの範囲を狭くして周波数遷移の段差を小さくする補正であることが好ましい。
(【0011】以降は省略されています)
この特許をJ-PlatPat(特許庁公式サイト)で参照する
関連特許
シャープ株式会社
送風機
6日前
シャープ株式会社
端末装置
27日前
シャープ株式会社
筐体構造
20日前
シャープ株式会社
走行装置
27日前
シャープ株式会社
表示装置
1か月前
シャープ株式会社
通信装置
8日前
シャープ株式会社
加熱機器
20日前
シャープ株式会社
表示装置
21日前
シャープ株式会社
通信端末
29日前
シャープ株式会社
表示装置
6日前
シャープ株式会社
表示装置
6日前
シャープ株式会社
端末装置
22日前
シャープ株式会社
画像形成装置
15日前
シャープ株式会社
画像形成装置
1日前
シャープ株式会社
画像形成装置
22日前
シャープ株式会社
画像形成装置
15日前
シャープ株式会社
画像形成装置
1か月前
シャープ株式会社
アンテナ装置
21日前
シャープ株式会社
イオン発生装置
27日前
シャープ株式会社
緩衝材及び梱包体
22日前
シャープ株式会社
回収装置及び清掃具
1か月前
シャープ株式会社
回収装置及び清掃具
1か月前
シャープ株式会社
回収装置及び清掃具
1か月前
シャープ株式会社
端末装置および測定方法
17日前
シャープ株式会社
トナー及びその製造方法
1か月前
シャープ株式会社
通信装置および制御方法
1か月前
シャープ株式会社
端末装置および通信方法
7日前
シャープ株式会社
端末装置および通信方法
28日前
シャープ株式会社
決済システム及び決済方法
23日前
シャープ株式会社
情報処理装置及び設定方法
20日前
シャープ株式会社
端末および端末の制御方法
1か月前
シャープ株式会社
補助電源回路および電源装置
1か月前
シャープ株式会社
動画像符号化装置、復号装置
20日前
シャープ株式会社
給紙装置および画像形成装置
28日前
シャープ株式会社
定着装置および画像形成装置
28日前
シャープ株式会社
動画像符号化装置、復号装置
23日前
続きを見る
他の特許を見る