TOP
|
特許
|
意匠
|
商標
特許ウォッチ
Twitter
他の特許を見る
10個以上の画像は省略されています。
公開番号
2025170596
公報種別
公開特許公報(A)
公開日
2025-11-19
出願番号
2024075311
出願日
2024-05-07
発明の名称
風向変更板、及び空気調和機
出願人
シャープ株式会社
代理人
個人
,
個人
,
個人
主分類
F24F
13/20 20060101AFI20251112BHJP(加熱;レンジ;換気)
要約
【課題】風向変更板の取付時の操作性を向上させ得る風向変更板を提供する。
【解決手段】風向変更板は、パネル部材、可動軸部材及び移動機構を備える。パネル部材は第1枢支部を有し、可動軸部材が取り付けられる。移動機構は、可動軸部材の配置を第1配置状態及び第2配置状態の一方に切り替える。可動軸部材は、第2枢支部と第3枢支部とを含む。可動軸部材において、第2枢支部は第1枢支部側の端部に設けられ、第3枢支部は第2枢支部と反対側の端部に設けられる。第3枢支部は、第1配置状態において第1枢支部と反対側の他方端より内側に配置され、第2配置状態において他方端より外側に突出する。第1配置状態において、第1枢支部が空気調和機の第1取付部と当接し、第2枢支部が空気調和機の第2取付部と当接したとき、第1枢支部、第2枢支部、及び第3枢支部の枢支軸は空気調和機における回動軸上に配置される。
【選択図】図6B
特許請求の範囲
【請求項1】
共通の回動軸を有する第1取付部、第2取付部、及び第3取付部を備える空気調和機に回動可能に取り付けられる風向変更板であって、
前記回動軸の軸方向と平行な延伸方向に延伸し、前記延伸方向の一方端に前記第1取付部において枢支される第1枢支部を有するパネル部材と、
前記パネル部材に取り付けられ、前記延伸方向に移動可能な可動軸部材と、
前記延伸方向に前記可動軸部材を移動させ、前記可動軸部材の配置を第1配置状態及び第2配置状態の一方に切り替える移動機構と
を備え、
前記可動軸部材は、
前記可動軸部材において前記第1枢支部側の端部に設けられ、前記第2取付部において枢支される第2枢支部と、
前記可動軸部材において前記第2枢支部と反対側の端部に設けられ、前記第3取付部において枢支される第3枢支部とを含み、
前記第1枢支部、前記第2枢支部、及び前記第3枢支部の枢支軸は同軸上にあり、
前記第1配置状態において、前記パネル部材における前記第1枢支部と反対側の他方端より内側に前記第3枢支部が配置され、前記第2配置状態において、前記パネル部材の前記他方端より外側に前記第3枢支部が突出し、
前記第1配置状態において、前記第1枢支部が前記第1取付部と当接され、前記第2枢支部が前記第2取付部と当接されたとき、前記枢支軸が前記空気調和機における前記回動軸上に配置される、風向変更板。
続きを表示(約 990 文字)
【請求項2】
前記第2枢支部は、前記第2取付部に設けられた前記延伸方向に伸びる突起が嵌合される嵌合部を含み、
前記第1配置状態において、前記第1枢支部が前記第1取付部と当接され、前記第2枢支部が前記第2取付部の前記突起と前記当接された状態で、前記移動機構により前記第2配置状態に切り替えられたとき、前記嵌合部に前記突起が嵌合され、前記第3枢支部が前記第3取付部に枢支される、請求項1に記載の風向変更板。
【請求項3】
前記パネル部材は、前記第2取付部に対応する位置にパネル側開口を有するカバー部を有し、
前記嵌合部は、前記延伸方向と平行な溝部と、前記溝部と連通する穴を有する筒状部とを含み、
前記第1配置状態において、前記パネル側開口から前記溝部が露出し、前記筒状部は前記カバー部に覆われる、請求項2に記載の風向変更板。
【請求項4】
前記第3取付部は、前記第3枢支部が差し込まれる軸受け部を有し、
前記溝部が前記パネル側開口から露出し、前記溝部に前記突起を当接させた状態において、前記突起が前記筒状部に嵌合するまでの距離と、前記第3枢支部が前記軸受け部に嵌合するまでの距離とは異なる、請求項3に記載の風向変更板。
【請求項5】
前記パネル部材は、前記第1配置状態において前記可動軸部材を前記第1枢支部と反対の方向へ付勢する付勢部をさらに含む、請求項1に記載の風向変更板。
【請求項6】
前記移動機構は、前記第2枢支部よりも前記第3枢支部側に配置されている、請求項1に記載の風向変更板。
【請求項7】
前記可動軸部材は、第1可動軸部材と、前記第1可動軸部材と連結された第2可動軸部材とを含み、
前記第1可動軸部材は、前記移動機構と連結され、前記第2可動軸部材と反対側の端部に前記第3枢支部を有し、
前記第2可動軸部材は、前記第1可動軸部材と反対側の端部に前記第2枢支部を有する、請求項1に記載の風向変更板。
【請求項8】
前記第1可動軸部材と前記第2可動軸部材とは互いに異なる材料で構成されている、請求項7に記載の風向変更板。
【請求項9】
請求項1から8のいずれか一項に記載の風向変更板を備える、空調調和機。
発明の詳細な説明
【技術分野】
【0001】
本発明は、風向変更板、及び空気調和機に関する。
続きを表示(約 2,000 文字)
【背景技術】
【0002】
風向変更板を空気調和機の室内機本体に着脱する構造が特許文献1に開示されている。特許文献1に記載の空気調和機は、空気の吹き出し方向を上下方向に変更するための上下風向変更羽根として上羽根を備える。上羽根は、空気調和機の室内機本体に取り付けるための3つの軸受部材を備える。3つの軸受部材はそれぞれ、上羽根において左、右、及び中央に配置され、軸受孔を有する。右の軸受部材は、上羽根において左右にスライド可能に支持されている。室内機本体は、軸受部材に対応する位置に3つの軸を備え、各軸は、軸受部材の軸受孔に貫通される。
【0003】
上羽根を空気調和機の室内機本体に取り付ける場合、まず、上羽根における中央の軸受部材の軸受孔に室内機本体側の中央の軸を貫通させ、その後、上羽根における左の軸受部材の軸受孔に室内機本体側の左の軸を貫通させる。最後に、上羽根における右の軸受部材を右側にスライドさせ、室内機本体側の右の軸に嵌合させる。
【先行技術文献】
【特許文献】
【0004】
特開2016-75458号公報
【発明の概要】
【発明が解決しようとする課題】
【0005】
特許文献1に記載の空気調和機の場合、風向変更板を室内機本体に取り付けるために、風向変更板側の3つの軸受部材を1つずつ、室内機本体側の3つの軸に嵌合させなければならない。風向変更板の取付作業は上を向いて行う作業のため、できるだけ少ない操作で風向変更板を素早く取り付けられることが望ましい。
【0006】
本開示は、風向変更板の取付時の操作性を向上させ得る風向変更板及び空気調和機を提供することを目的とする。
【課題を解決するための手段】
【0007】
本開示に係る風向変更板は、共通の回動軸を有する第1取付部、第2取付部、及び第3取付部を備える空気調和機に回動可能に取り付けられる。風向変更板は、パネル部材、可動軸部材、及び移動機構を備える。パネル部材は、回動軸の軸方向と平行な延伸方向に延伸し、延伸方向の一方端に第1取付部において枢支される第1枢支部を有する。可動軸部材は、パネル部材に取り付けられ、延伸方向に移動可能である。移動機構は、延伸方向に可動軸部材を移動させ、可動軸部材の配置を第1配置状態及び第2配置状態の一方に切り替える。可動軸部材は、第2枢支部と第3枢支部とを含む。第2枢支部は、可動軸部材において第1枢支部側の端部に設けられ、第2取付部において枢支される。第3枢支部は、可動軸部材において第2枢支部と反対側の端部に設けられ、第3取付部において枢支される。第1枢支部、第2枢支部、及び第3枢支部の枢支軸は同軸上にある。第1配置状態において、パネル部材における第1枢支部と反対側の他方端より内側に第3枢支部が配置される。第2配置状態において、パネル部材の他方端より外側に第3枢支部が突出する。第1配置状態において、第1枢支部が第1取付部と当接され、第2枢支部が第2取付部と当接されたとき、枢支軸が空気調和機における回動軸上に配置される。
【0008】
本開示に係る空気調和機は、上記風向変更板を備える。
【発明の効果】
【0009】
上記風向変更板、及び空気調和機によれば、風向変更板の取付時の操作性を向上させ得る。
【図面の簡単な説明】
【0010】
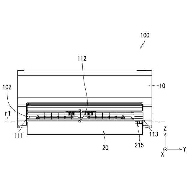
図1は、実施形態における空気調和機の吹き出し口を閉じた状態の外観を示す図である。
図2Aは、空気調和機の吹き出し口を開いた状態の外観を示す図である。
図2Bは、図2Aに示す空気調和機の正面図である。
図3Aは、室内機から取り外した風向変更板の外観を示す正面図である。
図3Bは、図3Aに示す風向変更板の内部を風向変更板の背面側から見た図である。
図3Cは、本実施形態における可動軸部材230の外観を示す図である。
図4Aは、第2配置状態における枢支部の状態を示す図である。
図4Bは、第1配置状態における枢支部の状態を示す図である。
図5Aは、第2配置状態である場合の風向変更板の概略断面図である。
図5Bは、第1配置状態である場合の風向変更板の概略断面図である。
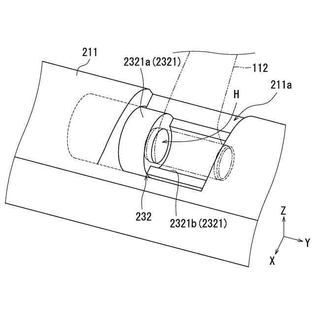
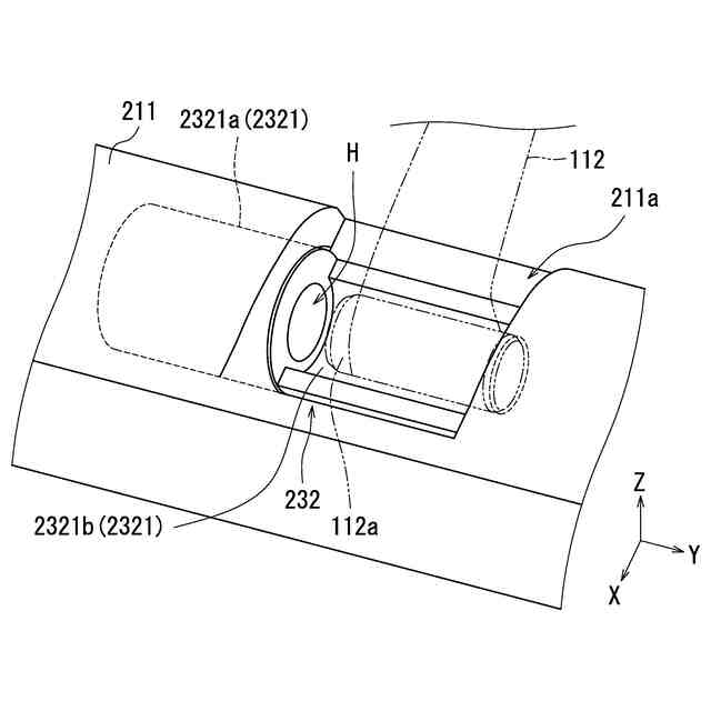
図6Aは、室内機への風向変更板の取り付け方を示す模式図である。
図6Bは、室内機への風向変更板の取り付け方を示す模式図である。
図6Cは、室内機への風向変更板の取り付け方を示す模式図である。
図7Aは、変形例(1)における室内機と第1配置状態の風向変更板とを示す模式図である。
図7Bは、変形例(1)における室内機と第2配置状態の風向変更板とを示す模式図である。
【発明を実施するための形態】
(【0011】以降は省略されています)
この特許をJ-PlatPat(特許庁公式サイト)で参照する
関連特許
シャープ株式会社
送風機
14日前
シャープ株式会社
表示装置
14日前
シャープ株式会社
通信装置
16日前
シャープ株式会社
表示装置
14日前
シャープ株式会社
空気調和機
1日前
シャープ株式会社
空気調和機
1日前
シャープ株式会社
空気調和機
1日前
シャープ株式会社
加熱調理器
1日前
シャープ株式会社
画像形成装置
9日前
シャープ株式会社
端末装置および通信方法
1日前
シャープ株式会社
端末装置および通信方法
15日前
シャープ株式会社
風向変更板、及び空気調和機
2日前
シャープ株式会社
画像処理装置及び表示制御方法
14日前
シャープ株式会社
表示制御装置及び表示制御方法
2日前
シャープ株式会社
端末装置、および、基地局装置
2日前
シャープ株式会社
端末装置、および、基地局装置
2日前
シャープ株式会社
画像処理装置および表示制御方法
1日前
シャープ株式会社
シート搬送装置および画像形成装置
15日前
シャープ株式会社
塵芥回収装置及び塵芥回収システム
14日前
シャープ株式会社
端末装置、基地局装置および通信方法
1日前
シャープ株式会社
システム、制御方法、およびプログラム
2日前
シャープ株式会社
後処理装置及びそれを備えた画像形成装置
16日前
シャープ株式会社
後処理装置及びそれを備えた画像形成装置
17日前
シャープ株式会社
画像処理装置及び画像処理装置の制御方法
14日前
シャープ株式会社
端末装置、基地局装置、および、通信方法
2日前
シャープ株式会社
画像形成装置、その制御方法、及び印刷システム
1日前
シャープ株式会社
情報処理装置、テレビジョン受像機及び情報処理方法
2日前
シャープ株式会社
表示システム、表示装置、携帯端末装置及び制御方法
1日前
シャープ株式会社
通信端末、プログラム、遠隔会議方法、遠隔会議システム、及びサーバ
14日前
シャープ株式会社
電子機器設定システム、電子機器設定方法、及び電子機器設定プログラム
16日前
シャープ株式会社
コンテンツ再生装置、コンテンツ再生方法、およびコンテンツ再生プログラム
15日前
シャープ株式会社
情報処理装置および情報処理方法
1日前
シャープ株式会社
フロー型電池セル、フロー型金属空気電池セル、フロー型電池、フロー型金属空気電池
1日前
シャープ株式会社
画像処理装置及び設定履歴の削除制御方法
9日前
シャープディスプレイテクノロジー株式会社
アクティブマトリクス基板、アクティブマトリクス基板の製造方法、および液晶表示装置
14日前
個人
集熱器具
14日前
続きを見る
他の特許を見る