TOP
|
特許
|
意匠
|
商標
特許ウォッチ
Twitter
他の特許を見る
10個以上の画像は省略されています。
公開番号
2025175797
公報種別
公開特許公報(A)
公開日
2025-12-03
出願番号
2024082062
出願日
2024-05-20
発明の名称
緩衝材および梱包体
出願人
シャープ株式会社
代理人
個人
,
個人
,
個人
主分類
B65D
81/113 20060101AFI20251126BHJP(運搬;包装;貯蔵;薄板状または線条材料の取扱い)
要約
【課題】本体11とパネル18とをコンパクトに収容する緩衝材を提供する。
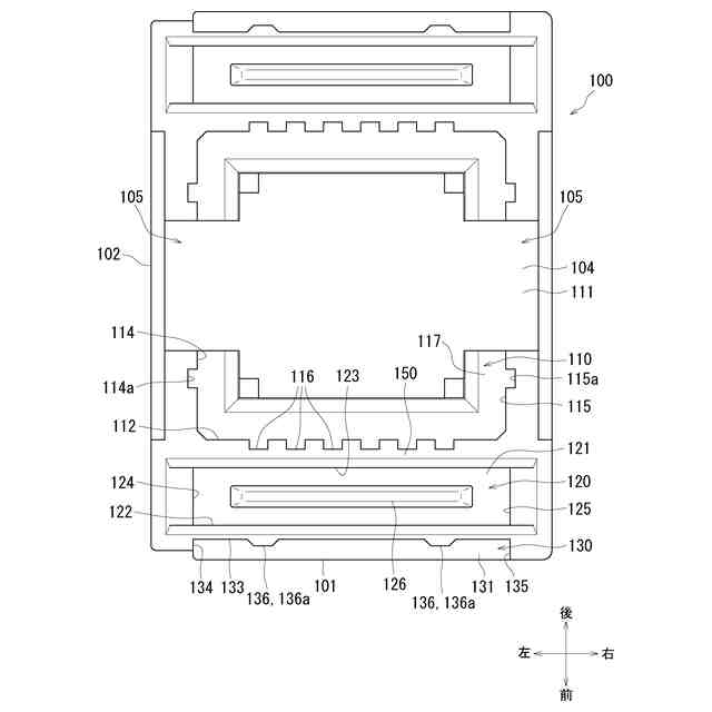
【解決手段】緩衝材は、底面103と、第1本体側面101と、第2本体側面102と、収容面104とを備える。第1本体側面101は、底面103に直交する。第2本体側面102は、底面103および第1本体側面101に直交する。収容面104は、底面103に直交する底面直交方向において底面103と反対側に位置し、第1凹部110と第2凹部120とが形成される。第1凹部110は、本体11を収容する凹みである。第2凹部120は、本体11に付属するパネル18を収容する凹みである。
【選択図】図4
特許請求の範囲
【請求項1】
底面と、
前記底面に直交する第1本体側面と、
前記底面および前記第1本体側面に直交する第2本体側面と、
前記底面に直交する底面直交方向において前記底面と反対側に位置し、機器本体を収容する凹みである第1凹部と前記機器本体に付属する付属物を収容する凹みである第2凹部とが形成された収容面と
を備える、緩衝材。
続きを表示(約 1,000 文字)
【請求項2】
前記第2凹部は、前記第1凹部と前記第1本体側面に直交する第1方向に並び、前記第1凹部と前記第1本体側面との間に配置される、請求項1に記載の緩衝材。
【請求項3】
前記第1凹部は、
前記底面直交方向における前記底面側に位置する第1底面と、
前記第1本体側面に直交する第1方向における前記第1本体側面側に位置する第1側面と、
前記第2本体側面に直交する第2方向における前記第2本体側面側に位置する第2側面と
を有し、
前記第2凹部は、
前記底面直交方向における前記底面側に位置する第2底面と、
前記第1方向の前記第1本体側面側に位置する第3側面と、
前記第1方向の前記第1本体側面側とは反対側に位置する第4側面と、
前記第2方向の前記第2本体側面側に位置する第5側面と
を有する、請求項1に記載の緩衝材。
【請求項4】
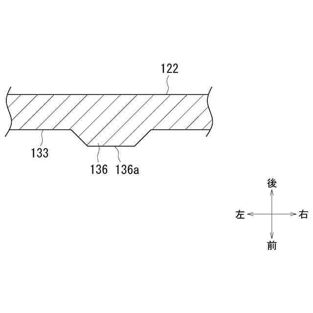
前記第1側面には前記底面直交方向に延びる溝部が設けられる、請求項3に記載の緩衝材。
【請求項5】
前記第1側面には複数の前記溝部が設けられ、
前記複数の前記溝部は、前記第2方向に並ぶ、請求項4に記載の緩衝材。
【請求項6】
前記第1本体側面に、前記第1凹部および前記第2凹部と前記第1本体側面に直交する第1方向に並ぶ凹みである第3凹部がさらに形成された、請求項1から請求項4の何れか1項に記載の緩衝材。
【請求項7】
前記第3凹部は、
前記第1本体側面に直交する第1方向の前記第1本体側面側とは反対側に位置する第6側面と、
前記第2本体側面に直交する第2方向における前記第2本体側面側に位置し、前記第1本体側面に接続する第7側面と
を有する、請求項6に記載の緩衝材。
【請求項8】
前記第6側面から突出する凸部をさらに有する、請求項7に記載の緩衝材。
【請求項9】
前記凸部の前記第1方向における前記第1本体側面側の端部は、前記第1本体側面よりも前記第6側面側に位置する、請求項8に記載の緩衝材。
【請求項10】
前記凸部を前記第1方向と直交する面で切断したときの切断面の面積は、前記第6側面に向かうに従って大きくなる、請求項8に記載の緩衝材。
(【請求項11】以降は省略されています)
発明の詳細な説明
【技術分野】
【0001】
本開示は、緩衝材および梱包体に関する。
続きを表示(約 1,500 文字)
【背景技術】
【0002】
例えば、特許文献1には、梱包対象である冷蔵庫と、冷蔵庫の上部を収容する上側の緩衝材と、冷蔵庫の下部を収容する下側の緩衝材とを有する梱包体の一例が開示されている。
【先行技術文献】
【特許文献】
【0003】
特開平6-329174号公報
【発明の概要】
【発明が解決しようとする課題】
【0004】
機器は、機器本体と、機器本体に付属する付属物とを備えることがある。このような場合、付属物が機器本体の一側側面の表面と同程度の大きさの表面を有していても、機器本体と付属物とは単一の梱包体として梱包される。従って、機器本体と付属物とを共通の緩衝材に収容する際、収容形態によっては、梱包体の外形が大型化する虞がある。
【0005】
本開示は上記課題に鑑みてなされたものであり、その目的は、機器本体と付属物とをコンパクトに収容する緩衝材および機器本体と付属物とがコンパクトに収容された梱包体を提供することを目的としている。
【課題を解決するための手段】
【0006】
本開示の第1の局面によれば、緩衝材は、底面と、第1本体側面と、第2本体側面と、収容面とを備える。前記第1本体側面は、前記底面に直交する。前記第2本体側面は、前記底面および前記第1本体側面に直交する。前記収容面は、前記底面に直交する底面直交方向において前記底面と反対側に位置し、第1凹部と第2凹部とが形成される。前記第1凹部は、機器本体を収容する凹みである。前記第2凹部は、前記機器本体に付属する付属物を収容する凹みである。
【0007】
本開示の第2の局面によれば、梱包体は、機器本体と、付属物と、少なくとも2つの緩衝材とを備える。前記付属物は、前記機器本体に付属する。前記緩衝材は、前記第1の局面に記載される。前記少なくとも2つの緩衝材のうち1つの緩衝材は、前記機器本体の一方側端部を前記1つの緩衝材の第1凹部に収容し、前記付属物の一方側端部を前記1つの緩衝材の第2凹部に収容する。前記少なくとも2つの緩衝材のうち前記1つの緩衝材とは異なる緩衝材は、前記機器本体の他方側端部を前記異なる緩衝材の第1凹部に収容し、前記付属物の他方側端部を前記異なる緩衝材の第2凹部に収容する。
【発明の効果】
【0008】
本開示によれば、機器本体と付属物とをコンパクトに収容する緩衝材および機器本体と付属物とがコンパクトに収容された梱包体を得ることができる。
【図面の簡単な説明】
【0009】
本開示の一実施形態における梱包体の全体構成を示す斜視図である。
本開示の一実施形態における梱包体の分解斜視図である。
送風装置の斜視図である。
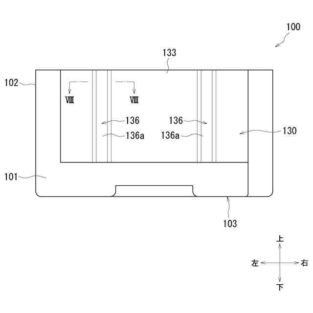
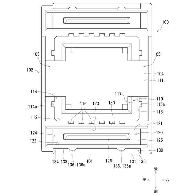
下側緩衝材の平面図である。
下側緩衝材の底面図である。
下側緩衝材の正面図である。
下側緩衝材の側面図である。
図6のVIII-VIII線断面図である。
上側前緩衝材の平面図である。
上側前緩衝材の底面図である。
上側前緩衝材の正面図である。
上側前緩衝材の側面図である。
上側前緩衝材の斜視図である。
【発明を実施するための形態】
【0010】
本開示の一実施形態について、図面を参照しながら説明する。なお、以下の説明において、同一又は相当する部分については同一の参照符号を附して説明を共通に参酌する。
(【0011】以降は省略されています)
この特許をJ-PlatPat(特許庁公式サイト)で参照する
関連特許
シャープ株式会社
送風機
27日前
シャープ株式会社
表示装置
27日前
シャープ株式会社
表示装置
1か月前
シャープ株式会社
表示装置
27日前
シャープ株式会社
通信装置
29日前
シャープ株式会社
通信端末
1か月前
シャープ株式会社
筐体構造
1か月前
シャープ株式会社
加熱機器
1か月前
シャープ株式会社
端末装置
1か月前
シャープ株式会社
走行装置
1か月前
シャープ株式会社
照明装置
6日前
シャープ株式会社
端末装置
1か月前
シャープ株式会社
加熱調理器
14日前
シャープ株式会社
加熱調理機
6日前
シャープ株式会社
空気調和機
14日前
シャープ株式会社
空気調和機
14日前
シャープ株式会社
空気調和機
14日前
シャープ株式会社
アンテナ装置
1か月前
シャープ株式会社
画像形成装置
1か月前
シャープ株式会社
画像形成装置
1か月前
シャープ株式会社
画像形成装置
1か月前
シャープ株式会社
画像形成装置
1か月前
シャープ株式会社
塵埃回収装置
1日前
シャープ株式会社
画像形成装置
8日前
シャープ株式会社
画像形成装置
22日前
シャープ株式会社
イオン発生装置
1か月前
シャープ株式会社
緩衝材及び梱包体
1か月前
シャープ株式会社
緩衝材および梱包体
1日前
シャープ株式会社
端末装置および通信方法
28日前
シャープ株式会社
端末装置および測定方法
1か月前
シャープ株式会社
端末装置および通信方法
1か月前
シャープ株式会社
端末装置および通信方法
14日前
シャープ株式会社
情報処理装置及び設定方法
1か月前
シャープ株式会社
通信端末および水道メータ
8日前
シャープ株式会社
決済システム及び決済方法
1か月前
シャープ株式会社
動画像符号化装置、復号装置
1か月前
続きを見る
他の特許を見る