TOP
|
特許
|
意匠
|
商標
特許ウォッチ
Twitter
他の特許を見る
10個以上の画像は省略されています。
公開番号
2025175824
公報種別
公開特許公報(A)
公開日
2025-12-03
出願番号
2024082103
出願日
2024-05-20
発明の名称
塵埃回収装置
出願人
シャープ株式会社
代理人
弁理士法人WisePlus
主分類
A47L
9/00 20060101AFI20251126BHJP(家具;家庭用品または家庭用設備;コーヒーひき;香辛料ひき;真空掃除機一般)
要約
【課題】掃除機の状態に適した塵埃回収制御を行うことができる塵埃回収装置を提供する。
【解決手段】塵埃回収装置は、掃除機と集塵ステーションとを備え、上記掃除機は、吸込口と、第一電動吸引機と、第一集塵部と、排塵口と、掃除機の複数の動作情報を格納する第一記憶部と、第一通信部とを有し、上記集塵ステーションは、上記掃除機の上記排塵口と着脱可能な回収口と、第二電動吸引機と、第二集塵部と、上記第二電動吸引機の吸引力及び上記第二電動吸引機の運転継続時間を制御する第二制御部と、第二通信部とを有し、上記第一通信部は、上記第一記憶部に格納された上記複数の動作情報のうちの少なくとも1つの動作情報を上記第二通信部に送信し、上記第二制御部は、上記第二通信部が受信した上記少なくとも1つの動作情報に基づいて、上記第二電動吸引機の吸引力及び上記第二電動吸引機の運転継続時間の少なくとも一方を決定する。
【選択図】図1
特許請求の範囲
【請求項1】
掃除機と、前記掃除機と接続可能な集塵ステーションとを備え、
前記掃除機は、吸込口と、第一電動吸引機と、前記第一電動吸引機により吸引された塵埃を貯留する第一集塵部と、前記第一集塵部内の塵埃を排出するための排塵口と、掃除機の複数の動作情報を格納する第一記憶部と、第一通信部とを有し、
前記集塵ステーションは、前記掃除機の前記排塵口と着脱可能な回収口と、前記回収口から塵埃を吸引する吸引力を発生させる第二電動吸引機と、前記第二電動吸引機により吸引された塵埃を貯留する第二集塵部と、前記第二電動吸引機の吸引力及び前記第二電動吸引機の運転継続時間を制御する第二制御部と、前記第一通信部と通信する第二通信部とを有し、
前記第一通信部は、前記第一記憶部に格納された前記複数の動作情報のうちの少なくとも1つの動作情報を前記第二通信部に送信し、
前記第二制御部は、前記第二通信部が受信した前記少なくとも1つの動作情報に基づいて、前記第二電動吸引機の吸引力及び前記第二電動吸引機の運転継続時間の少なくとも一方を制御する、塵埃回収装置。
続きを表示(約 1,300 文字)
【請求項2】
前記第一通信部は、前記第一記憶部に格納された前記複数の動作情報のうちの2以上の動作情報を前記第二通信部に送信し、
前記第二制御部は、前記2以上の動作情報のそれぞれに基づいて、前記第二電動吸引機の吸引力及び前記第二電動吸引機の運転継続時間の少なくとも一方を決定する、請求項1に記載の塵埃回収装置。
【請求項3】
前記第二制御部は、前記第二通信部が受信した前記2以上の動作情報のそれぞれに基づいて前記第二電動吸引機の吸引力及び/又は前記第二電動吸引機の運転継続時間を推定し、推定された前記第二電動吸引機の吸引力が高いか又は前記第二電動吸引機の運転継続時間が長い動作情報から順に判定し、前記第二電動吸引機の吸引力及び前記第二電動吸引機の運転継続時間の少なくとも一方を決定する、請求項2に記載の塵埃回収装置。
【請求項4】
前記第一記憶部は、前記第一電動吸引機に含まれる第一モータの回転数を格納する、請求項1~3のいずれかに記載の塵埃回収装置。
【請求項5】
前記掃除機は、更に、少なくとも前記第一電動吸引機の温度を測定する温度センサを有し、
前記第一記憶部は、前記温度センサを用いて測定した前記第一電動吸引機の運転時のピーク温度を格納する、請求項1~3のいずれかに記載の塵埃回収装置。
【請求項6】
前記掃除機は、更に、光学センサ、測距センサ及び圧力センサからなる群より選ばれる少なくとも1つを含む塵埃センサを有し、
前記第一記憶部は、前記塵埃センサを用いて計測した前記第一集塵部内の塵埃の蓄積量を格納する、請求項1~3のいずれかに記載の塵埃回収装置。
【請求項7】
前記掃除機は、更に、前記吸込口から前記第一集塵部までの間の塵埃を検知すると信号を発する塵埃カウンターを有し、
前記第一記憶部は、前記塵埃カウンターが検知した塵埃検知回数を格納する、請求項1~3のいずれかに記載の塵埃回収装置。
【請求項8】
前記第一電動吸引機は、第一モータを含み、
前記第一記憶部は、前記第一モータのPWM比と、前記PWM比での前記第一モータの運転時間を格納する、請求項1~3のいずれかに記載の塵埃回収装置。
【請求項9】
前記掃除機は、エラーを判定するエラー判定部を有し、
前記エラー判定部は、前記第一電動吸引機に含まれる第一モータの回転数が所定値以上になるか、又は、温度センサが測定した前記第一電動吸引機の温度が所定値以上となると、エラーであると判定し、
前記第一記憶部は、前記エラー情報を格納する、請求項1~3のいずれかに記載の塵埃回収装置。
【請求項10】
前記第一記憶部は、前記第一電動吸引機を作動させると起動有りとする起動履歴、及び、
前記掃除機が前記集塵ステーションから取り外された後、前記集塵ステーションに接続されるまでの間に前記第一電動吸引機が作動していないか、又は、前記掃除機が前記集塵ステーションに接続され、前記第一通信部と前記第二通信部とが通信した後に起動履歴なしとする起動履歴、を格納する、請求項1~3のいずれかに記載の塵埃回収装置。
発明の詳細な説明
【技術分野】
【0001】
以下の開示は、塵埃回収装置に関する。
続きを表示(約 2,700 文字)
【背景技術】
【0002】
近年、掃除機と、上記掃除機を設置する集塵ステーションを備えた塵埃回収装置が開発されている。集塵ステーションは、接続された掃除機に溜まった塵埃を集塵ステーション側へ移動させることで、掃除機側のごみ捨ての手間を省き、ユーザの利便性を向上させている。
【0003】
例えば特許文献1には、第1装置(掃除機)が有する第1電動送風機の動作モードが、第1電動送風機の駆動力が相対的に小さいモードである場合、第2装置(ダストステーション)が有する第2電動送風機の駆動力を相対的に小さく設定する掃除装置が開示されている。
【先行技術文献】
【特許文献】
【0004】
特開2019-166276号公報
【発明の概要】
【発明が解決しようとする課題】
【0005】
特許文献1に記載のように、ダストステーションに掃除機が接続される直前の動作モードの情報だけでは、ダストステーション側の電動送風機の駆動力の制御を適切に行うことができないことがあった。例えば、ダストステーションに接続される直前の掃除機の動作モードが駆動力の小さいモードであっても、掃除機側の塵埃の蓄積量が多い場合に、ダストステーション側の電動送風機の駆動力を小さくすると、掃除機側の塵埃を充分にダストステーション側移動させることができないことがあった。
【0006】
本開示は、掃除機の状態に適した塵埃回収制御を行うことができる塵埃回収装置を提供することを目的とする。
【課題を解決するための手段】
【0007】
本発明の一態様の塵埃回収装置は、掃除機と、上記掃除機と接続可能な集塵ステーションとを備え、上記掃除機は、吸込口と、第一電動吸引機と、上記第一電動吸引機により吸引された塵埃を貯留する第一集塵部と、上記第一集塵部内の塵埃を排出するための排塵口と、掃除機の複数の動作情報を格納する第一記憶部と、第一通信部とを有し、上記集塵ステーションは、上記掃除機の上記排塵口と着脱可能な回収口と、上記回収口から塵埃を吸引する吸引力を発生させる第二電動吸引機と、上記第二電動吸引機により吸引された塵埃を貯留する第二集塵部と、上記第二電動吸引機の吸引力及び上記第二電動吸引機の運転継続時間を制御する第二制御部と、上記第一通信部と通信する第二通信部とを有し、上記第一通信部は、上記第一記憶部に格納された上記複数の動作情報のうちの少なくとも1つの動作情報を上記第二通信部に送信し、上記第二制御部は、上記第二通信部が受信した上記少なくとも1つの動作情報に基づいて、上記第二電動吸引機の吸引力及び上記第二電動吸引機の運転継続時間の少なくとも一方を決定する。
【発明の効果】
【0008】
本開示により、掃除機の状態に適した塵埃回収制御を行うことができる塵埃回収装置を提供することができる。
【図面の簡単な説明】
【0009】
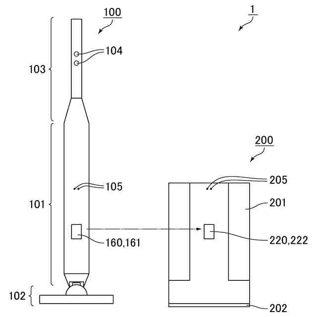
塵埃回収装置1を構成する掃除機100及び集塵ステーション200の外観を略示した正面図である。
掃除機100の外観及び内部構造を略示した図である。
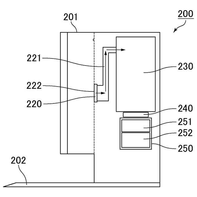
集塵ステーション200の外観及び内部構造を略示した右側面図である。
実施形態に係る塵埃回収装置1のブロック図の一例である。
実施例1におけるエラー情報の判定方法の一例を説明したフローチャートである。
実施例2における目詰まり閾値回転数と第一モータ152の回転数との差の判定方法の一例を説明したフローチャートである。
実施例3における各動作モードでのピーク温度の判定方法の一例を説明したフローチャートである。
実施例4における塵埃センサ72の計測値に基づく第一集塵部130内の塵埃の蓄積量の判定方法の一例を説明したフローチャートである。
実施例5における塵埃カウンター73の検知回数に基づく第一集塵部130内の塵埃の蓄積量の判定方法の一例を説明したフローチャートである。
実施例6における第一モータ152のPWM比と運転時間の判定方法の一例を説明した第一のフローチャートである。
実施例6における第一モータ152のPWM比と運転時間の判定方法の一例を説明した第二のフローチャートである。
実施例6における第一モータ152のPWM比と運転時間の判定方法の一例を説明した第三のフローチャートである。
実施例7におけるエラー情報の判定方法の一例を説明したフローチャートである。
実施例7における目詰まり閾値回転数と第一モータ152の回転数との差の判定方法の一例を説明したフローチャートである。
実施例7における各動作モードでのピーク温度の判定方法の一例を説明したフローチャートである。
実施例7における塵埃センサ72の計測値に基づく第一集塵部130内の塵埃の蓄積量の判定方法の一例を説明したフローチャートである。
実施例7における塵埃カウンター73の検知回数に基づく第一集塵部130内の塵埃の蓄積量の判定方法の一例を説明したフローチャートである。
実施例7における第一モータ152のPWM比と運転時間の判定方法の一例を説明した第一のフローチャートである。
実施例7における第一モータ152のPWM比と運転時間の判定方法の一例を説明した第二のフローチャートである。
実施例7における第一モータ152のPWM比と運転時間の判定方法の一例を説明した第三のフローチャートである。
掃除機100の起動履歴を記録する方法の一例を示したフローチャートである。
集塵ステーション200が掃除機100の起動履歴の有無を確認する方法の一例を示したフローチャートである。
【発明を実施するための形態】
【0010】
以下、本開示に係る塵埃回収装置の実施形態について、図面を参照しながら説明する。本開示は、以下の実施形態に記載された内容に限定されるものではなく、本開示の構成を充足する範囲内で適宜設計変更を行うことが可能である。図中、同一又は同等の要素には同一の符号を付し、重複する説明は省略する。図面では主要な部分のみ示している。以下では、主要な部分及び本開示に関する部分を中心に説明する。
(【0011】以降は省略されています)
この特許をJ-PlatPat(特許庁公式サイト)で参照する
関連特許
シャープ株式会社
送風機
27日前
シャープ株式会社
表示装置
27日前
シャープ株式会社
通信端末
1か月前
シャープ株式会社
表示装置
27日前
シャープ株式会社
端末装置
1か月前
シャープ株式会社
端末装置
1か月前
シャープ株式会社
通信装置
29日前
シャープ株式会社
走行装置
1か月前
シャープ株式会社
加熱機器
1か月前
シャープ株式会社
表示装置
1か月前
シャープ株式会社
照明装置
6日前
シャープ株式会社
筐体構造
1か月前
シャープ株式会社
表示装置
1か月前
シャープ株式会社
加熱調理器
14日前
シャープ株式会社
空気調和機
14日前
シャープ株式会社
加熱調理機
6日前
シャープ株式会社
空気調和機
14日前
シャープ株式会社
空気調和機
14日前
シャープ株式会社
塵埃回収装置
1日前
シャープ株式会社
画像形成装置
22日前
シャープ株式会社
画像形成装置
1か月前
シャープ株式会社
アンテナ装置
1か月前
シャープ株式会社
画像形成装置
8日前
シャープ株式会社
画像形成装置
1か月前
シャープ株式会社
画像形成装置
1か月前
シャープ株式会社
画像形成装置
1か月前
シャープ株式会社
イオン発生装置
1か月前
シャープ株式会社
緩衝材及び梱包体
1か月前
シャープ株式会社
緩衝材および梱包体
1日前
シャープ株式会社
端末装置および通信方法
14日前
シャープ株式会社
端末装置および測定方法
1か月前
シャープ株式会社
端末装置および通信方法
1か月前
シャープ株式会社
端末装置および通信方法
28日前
シャープ株式会社
トナー及びその製造方法
1か月前
シャープ株式会社
通信端末および水道メータ
8日前
シャープ株式会社
情報処理装置及び設定方法
1か月前
続きを見る
他の特許を見る