TOP
|
特許
|
意匠
|
商標
特許ウォッチ
Twitter
他の特許を見る
公開番号
2025172498
公報種別
公開特許公報(A)
公開日
2025-11-26
出願番号
2024078041
出願日
2024-05-13
発明の名称
画像形成装置
出願人
シャープ株式会社
代理人
弁理士法人あーく事務所
主分類
G03G
21/00 20060101AFI20251118BHJP(写真;映画;光波以外の波を使用する類似技術;電子写真;ホログラフイ)
要約
【課題】新たな部品を増やすことなく低コストで画像形成不良を防止できる画像形成装置を提供する。
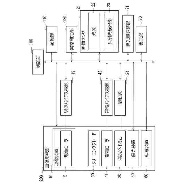
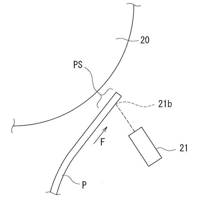
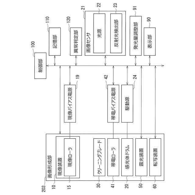
【解決手段】画像形成装置1は、駆動源24によって回転方向R1に回転可能な感光体ドラム20と、感光体ドラム20に付着した付着物を除去するクリーニングブレード30と、クリーニングブレード30よりも感光体ドラム20の回転方向R1下流側において、感光体ドラム20に当接し感光体ドラム20を帯電させる帯電ローラ41と、帯電された感光体ドラム20を露光して静電潜像を形成する露光装置50と、静電潜像をトナーで顕像化する現像装置10と、用紙Pを搬送する用紙搬送路204を挟んで感光体ドラム20と対向する位置に配置され、感光体ドラム20及び用紙Pからの反射光量を検出する画像センサ21と、画像センサ21により検出された第1検出値と第2検出値と、に基づいて画像形成動作の継続の可否を判定する異常判定部120と、を備える。
【選択図】図4
特許請求の範囲
【請求項1】
駆動源によって所定の方向に回転可能な像担持体と、
前記像担持体に当接し、前記像担持体に付着した付着物を除去するクリーニングブレードと、
前記クリーニングブレードよりも前記像担持体の回転方向下流側において、前記像担持体に当接し前記像担持体を所定電位に帯電させる帯電ローラと、
前記帯電ローラによって帯電された前記像担持体を露光して静電潜像を形成する露光装置と、
前記静電潜像をトナーで顕像化して、前記像担持体にトナー像を形成する現像装置と、
前記像担持体に形成された前記トナー像を用紙に転写する位置に、前記用紙を搬送する用紙搬送路と、
前記用紙搬送路を挟んで前記像担持体と対向する位置に配置され、前記像担持体に向かって光を照射する光源を有し、前記像担持体及び前記用紙からの反射光量を検出する画像センサと、
前記画像センサにより検出された前記像担持体からの反射光量の値である第1検出値と、前記画像センサにより検出された前記用紙からの反射光量の値である第2検出値と、に基づいて画像形成動作の継続の可否を判定する異常判定部と、を備える、ことを特徴とする画像形成装置。
続きを表示(約 1,200 文字)
【請求項2】
請求項1に記載の画像形成装置において、
前記第2検出値は、前記用紙の搬送方向における先端又は後端の余白部分からの反射光量の値である、ことを特徴とする画像形成装置。
【請求項3】
請求項1に記載の画像形成装置において、
前記帯電ローラは、前記クリーニングブレードよりも前記像担持体の回転方向の下流側に、前記クリーニングブレードと隣り合うように配置され、
前記クリーニングブレードは、一端部が前記像担持体と接触し、他端部から一端部側に向かって所定の長さに渡って保持部材に保持され、
前記保持部材における前記一端部側の端部から、前記クリーニングブレードの前記一端部までの長さである第1長さL1が、前記保持部材の前記端部から前記帯電ローラの前記像担持体との接触位置までの長さである第2長さL2より長い、ことを特徴とする画像形成装置。
【請求項4】
請求項3に記載の画像形成装置において、
前記帯電ローラに、直流に交流が重畳された電圧又は電流を供給する帯電電源をさらに備える、ことを特徴とする画像形成装置。
【請求項5】
請求項1に記載の画像形成装置において、
反射光閾値が予め記憶された記憶部をさらに備え、
前記異常判定部は、前記第1検出値及び前記第2検出値の少なくともいずれかを前記反射光閾値と比較することで、画像形成動作の継続の可否を判定する、ことを特徴とする画像形成装置。
【請求項6】
請求項5に記載の画像形成装置において、
表示部をさらに備え、
前記異常判定部は、
前記第1検出値が前記反射光閾値以上である場合は異常なしと判定して、画像形成動作が継続され、
前記第1検出値が前記反射光閾値よりも小さい場合であって、かつ、前記第2検出値が前記第1検出値より小さい場合は、前記画像センサに異常が生じていると判定して、前記表示部が前記画像センサに汚れが発生していることを知らせる表示を行い、画像形成動作が継続され、
前記第1検出値が前記反射光閾値よりも小さい場合であって、かつ、前記第2検出値が第1検出値以上である場合は異常であると判定して、画像形成動作が中止される、ことを特徴とする画像形成装置。
【請求項7】
請求項1に記載の画像形成装置において、
前記光源の発光量を調整する発光量調整部と、
校正値が予め記憶された記憶部と、をさらに備え、
前記発光量調整部は、所定回数の画像形成が行われる毎に、前記露光装置による露光を実施していない前記像担持体の領域の反射光量が前記校正値となるように前記発光量調整部による前記光源の発光量の調整を行う、ことを特徴とする画像形成装置。
発明の詳細な説明
【技術分野】
【0001】
本開示は、トナーにより用紙に画像を形成する画像形成装置に関する。
続きを表示(約 1,900 文字)
【背景技術】
【0002】
電子写真方式の画像形成装置では、帯電装置の帯電ローラ等によって感光体ドラム(像担持体)の表面を帯電させた後、露光装置によって感光体ドラムの表面に静電潜像を形成し、現像装置によってトナーを供給して静電潜像をトナー像に顕像化して、感光体ドラムから用紙にトナー像を転写する。トナー像の転写後に感光体ドラムの表面に付着しているトナーは、次の転写時における画像形成不良の原因となるため、例えばクリーニングブレードを感光体ドラムに当接させてかき落とされている。
【0003】
しかし、クリーニングブレードの不具合等の理由により、感光体ドラムの表面のトナーの除去が不十分となり、画像形成不良が生じる等の不具合が生じることがある。このような場合は、画像形成装置の動作を停止させてメンテナンスを行う必要がある。この場合は、感光体ドラムの表面の状況をセンサにより検出することにより画像形成不良の発生を抑制することができる。
【0004】
しかし、画像形成不良が生じる原因としては、感光体ドラムの表面のトナーの除去が不十分である場合以外も考えられる。例えば、感光体ドラムと帯電ローラとの接触状態の不具合が生じている場合も画像形成不良が生じる。
【0005】
このような画像形成不良が生じる原因の発生を検出することにより、画像形成不良を抑制することができる。例えば、特許文献1には、感光ドラムと、感光ドラムを帯電可能な帯電ローラと、感光ドラムと帯電ローラとを相対変位させた状態で感光ドラムと帯電ローラとの間に流れる電流の状態を検出し、感光ドラムと帯電ローラとの接触状態を判定するコントローラと、を有する接触状態判定装置を備えた画像形成装置が開示されている。この画像形成装置によれば、接触状態判定装置の判定結果に基づいて画像形成の条件を設定することにより、画像形成不良を抑制することができる。
【先行技術文献】
【特許文献】
【0006】
特開2018-84736号公報
【発明の概要】
【発明が解決しようとする課題】
【0007】
しかし、上記特許文献1に開示された画像形成装置は、感光ドラムと帯電ローラとの間に流れる電流の状態を検出する必要があることから電流検出部が必要となる。そのため、コストが増加するとの問題を有する。また、上述したように、感光体ドラムの表面の状況を検出するセンサを設置した場合はこのセンサに不具合が生じて、正しく画像形成不良の原因を検出できない場合もある。
【0008】
本開示は、上述の事情に鑑みて為されたものであり、その目的は、新たな部品を増やすことなく低コストで画像形成不良を防止できる画像形成装置を提供することである。
【課題を解決するための手段】
【0009】
本開示の一態様に係る画像形成装置は、駆動源によって所定の方向に回転可能な像担持体と、前記像担持体に当接し、前記像担持体に付着した付着物を除去するクリーニングブレードと、前記クリーニングブレードよりも前記像担持体の回転方向下流側において、前記像担持体に当接し前記像担持体を所定電位に帯電させる帯電ローラと、前記帯電ローラによって帯電された前記像担持体を露光して静電潜像を形成する露光装置と、前記静電潜像をトナーで顕像化して、前記像担持体にトナー像を形成する現像装置と、前記像担持体に形成された前記トナー像を用紙に転写する位置に、前記用紙を搬送する用紙搬送路と、前記用紙搬送路を挟んで前記像担持体と対向する位置に配置され、前記像担持体に向かって光を照射する光源を有し、前記像担持体及び前記用紙からの反射光量を検出する画像センサと、前記画像センサにより検出された前記像担持体からの反射光量の値である第1検出値と、前記画像センサにより検出された前記用紙からの反射光量の値である第2検出値と、に基づいて画像形成動作の継続の可否を判定する異常判定部と、を備える、ことを特徴とする。
【0010】
これにより、像担持体がトナー等で汚れている不具合なのか、像担持体は汚れておらず画像センサがトナー等で汚れている不具合なのかを、確実に判定することができ、画像形成動作を継続してよいか、停止すべきかについて、適切に選択することができる。また、新たな部品を増やすことなく低コストで画像形成不良の防止できる。
(【0011】以降は省略されています)
この特許をJ-PlatPat(特許庁公式サイト)で参照する
関連特許
シャープ株式会社
送風機
20日前
シャープ株式会社
表示装置
20日前
シャープ株式会社
表示装置
20日前
シャープ株式会社
表示装置
1か月前
シャープ株式会社
通信装置
22日前
シャープ株式会社
筐体構造
1か月前
シャープ株式会社
通信端末
1か月前
シャープ株式会社
加熱機器
1か月前
シャープ株式会社
走行装置
1か月前
シャープ株式会社
端末装置
1か月前
シャープ株式会社
表示装置
1か月前
シャープ株式会社
端末装置
1か月前
シャープ株式会社
空気調和機
7日前
シャープ株式会社
空気調和機
7日前
シャープ株式会社
空気調和機
7日前
シャープ株式会社
加熱調理器
7日前
シャープ株式会社
画像形成装置
1か月前
シャープ株式会社
アンテナ装置
1か月前
シャープ株式会社
画像形成装置
1か月前
シャープ株式会社
画像形成装置
29日前
シャープ株式会社
画像形成装置
1日前
シャープ株式会社
画像形成装置
15日前
シャープ株式会社
画像形成装置
29日前
シャープ株式会社
イオン発生装置
1か月前
シャープ株式会社
緩衝材及び梱包体
1か月前
シャープ株式会社
端末装置および通信方法
1か月前
シャープ株式会社
端末装置および測定方法
1か月前
シャープ株式会社
端末装置および通信方法
21日前
シャープ株式会社
トナー及びその製造方法
1か月前
シャープ株式会社
通信装置および制御方法
1か月前
シャープ株式会社
端末装置および通信方法
7日前
シャープ株式会社
情報処理装置及び設定方法
1か月前
シャープ株式会社
端末および端末の制御方法
1か月前
シャープ株式会社
通信端末および水道メータ
1日前
シャープ株式会社
決済システム及び決済方法
1か月前
シャープ株式会社
定着装置および画像形成装置
今日
続きを見る
他の特許を見る