TOP
|
特許
|
意匠
|
商標
特許ウォッチ
Twitter
他の特許を見る
公開番号
2025170462
公報種別
公開特許公報(A)
公開日
2025-11-19
出願番号
2024075030
出願日
2024-05-07
発明の名称
表示制御装置及び表示制御方法
出願人
シャープ株式会社
代理人
個人
,
個人
主分類
H04N
5/783 20060101AFI20251112BHJP(電気通信技術)
要約
【課題】早見再生が行われる場合でもフレームの挿入を適切に行うことができる表示制御装置及び表示制御方法を提供する。
【解決手段】表示制御装置は、映像の早見再生が行われているか否かを解析する解析部と、前記早見再生が行われていないと前記解析部により解析された場合は、前記映像を表す映像データに対して前記映像に含まれる互いに隣接する第1のフレーム及び第2のフレームの間に補間フレームを挿入する処理を行い、前記早見再生が行われていると前記解析部により解析された場合は、前記映像データに対して前記第1のフレーム及び前記第2のフレームの間に前記第1のフレームと同一の同一フレームを挿入する処理を行う処理部と、を備える。
【選択図】図1
特許請求の範囲
【請求項1】
映像の早見再生が行われているか否かを解析する解析部と、
前記早見再生が行われていないと前記解析部により解析された場合は、前記映像を表す映像データに対して前記映像に含まれる互いに隣接する第1のフレーム及び第2のフレームの間に補間フレームを挿入する処理を行い、前記早見再生が行われていると前記解析部により解析された場合は、前記映像データに対して前記第1のフレーム及び前記第2のフレームの間に前記第1のフレームと同一の同一フレームを挿入する処理を行う処理部と、
を備える表示制御装置。
続きを表示(約 1,100 文字)
【請求項2】
前記処理部は、前記早見再生が行われていないと前記解析部により解析された場合は、前記映像データに対して第1のシャープネス強度のシャープネス処理を行い、前記早見再生が行われていると前記解析部により解析された場合は、前記映像データに対して前記第1のシャープネス強度より低い第2のシャープネス強度のシャープネス処理を行う
請求項1に記載の表示制御装置。
【請求項3】
前記処理部は、前記早見再生が行われていないと前記解析部により解析された場合は、ケーデンス情報を判定し、前記映像データに対して前記ケーデンス情報に応じた処理を行い、前記ケーデンス情報を記憶して記憶済ケーデンス情報を得、前記早見再生が行われていると前記解析部により解析された場合は、前記映像データに対して前記記憶済ケーデンス情報に応じた処理を行う
請求項1又は2に記載の表示制御装置。
【請求項4】
前記解析部は、前記映像データを出力する機器により出力されるコンシュマーエレクトロニクスコントロール信号に基づいて前記早見再生が行われているか否かを解析する
請求項1又は2に記載の表示制御装置。
【請求項5】
前記映像データを出力する機器をリモートコントロールするリモートコントロール信号を受信して前記リモートコントロール信号に応じた信号を出力する受信部を備え、
前記解析部は、前記信号に基づいて前記早見再生が行われているか否かを解析する
請求項1又は2に記載の表示制御装置。
【請求項6】
前記映像は、前記表示制御装置に接続された記憶装置により出力された映像データ又はネットワークを経由して受信した映像データにより表され、
操作部を備え、
前記処理部は、前記早見再生を指示する操作が前記操作部に行われた場合に、前記早見再生が行われていると判定し、前記操作が前記操作部に行われていない場合に、前記早見再生が行われていないと判定する
請求項1又は2に記載の表示制御装置。
【請求項7】
映像の早見再生が行われているか否かを解析することと、
前記早見再生が行われていないと解析された場合は、前記映像を表す映像データに対して前記映像に含まれる互いに隣接する第1のフレーム及び第2のフレームの間に補間フレームを挿入する処理を行うことと、
前記早見再生が行われていると解析された場合は、前記映像データに対して前記第1のフレーム及び前記第2のフレームの間に前記第1のフレームと同一の同一フレームを挿入する処理を行うことと、
を備える表示制御方法。
発明の詳細な説明
【技術分野】
【0001】
本開示は、表示制御装置及び表示制御方法に関する。
続きを表示(約 1,700 文字)
【背景技術】
【0002】
特許文献1は、表示制御装置を開示する。当該表示制御装置においては、外部からの画像信号から表示すべき画像データが生成される。また、120Hz間隔で画像データの更新の有無が判断される。また、通常の表示更新のタイミングが、倍速駆動の120Hzとされる。また、画像データの更新が無い場合の表示更新のタイミングが、通常駆動の60Hzとされる(段落0019,0023及び0024)。
【先行技術文献】
【特許文献】
【0003】
国際公開第2016/093125号
【発明の概要】
【発明が解決しようとする課題】
【0004】
特許文献1に開示された表示制御装置においては、表示すべき画像データが生成される際に、互いに隣接するフレームの間に補間フレームを挿入する処理が行われることがある。しかし、当該表示制御装置においては、早見再生が行われ、互いに隣接するフレームの間の相関が低くなり、ケーデンスを正しく判定することができない場合に、補間フレームの挿入を適切に行うことができないという問題が生じる可能性がある。例えば、補間フレームに含まれるノイズが大きくなる、補間フレームが破綻する、輪郭を強調するエンハンス処理によりフリッカが大きくなる等の問題が生じる可能性がある。
【0005】
本開示の一態様は、この問題に鑑みてなされた。本開示の一態様は、例えば、早見再生が行われる場合でもフレームの挿入を適切に行うことができる表示制御装置及び表示制御方法を提供することを目的とする。
【課題を解決するための手段】
【0006】
本開示の一態様の表示制御装置は、映像の早見再生が行われているか否かを解析する解析部と、前記早見再生が行われていないと前記解析部により解析された場合は、前記映像を表す映像データに対して前記映像に含まれる互いに隣接する第1のフレーム及び第2のフレームの間に補間フレームを挿入する処理を行い、前記早見再生が行われていると前記解析部により解析された場合は、前記映像データに対して前記第1のフレーム及び前記第2のフレームの間に前記第1のフレームと同一の同一フレームを挿入する処理を行う処理部と、を備える。
【0007】
本開示の他の一態様の表示制御方法は、映像の早見再生が行われているか否かを解析することと、前記早見再生が行われていないと解析された場合は、前記映像を表す映像データに対して前記映像に含まれる互いに隣接する第1のフレーム及び第2のフレームの間に補間フレームを挿入する処理を行うことと、前記早見再生が行われていると解析された場合は、前記映像データに対して前記第1のフレーム及び前記第2のフレームの間に前記第1のフレームと同一の同一フレームを挿入する処理を行うことと、を備える。
【図面の簡単な説明】
【0008】
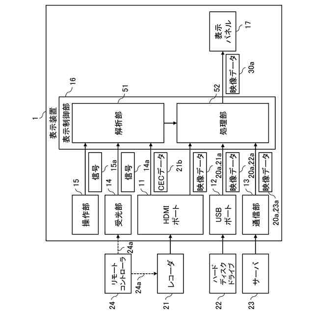
第1実施形態の表示装置のブロック図である。
第1実施形態の表示装置に備えられる解析部のブロック図である。
第1実施形態の表示装置に備えられる処理部のブロック図である。
第1実施形態の表示装置により行われる処理の流れを示すフローチャートである。
第2実施形態の表示装置に備えられる処理部のブロック図である。
第2実施形態の表示装置により行われる処理の流れを示すフローチャートである。
第3実施形態の表示装置に備えられる処理部のブロック図である。
第3実施形態の表示装置により行われる処理の流れを示すフローチャートである。
【発明を実施するための形態】
【0009】
以下、本開示の実施形態について、図面を参照しつつ説明する。なお、図面については、同一又は同等の要素には同一の符号を付し、重複する説明は省略する。
【0010】
1 第1実施形態
1.1 表示装置
図1は、第1実施形態の表示装置のブロック図である。
(【0011】以降は省略されています)
この特許をJ-PlatPat(特許庁公式サイト)で参照する
関連特許
シャープ株式会社
送風機
13日前
シャープ株式会社
筐体構造
27日前
シャープ株式会社
加熱機器
27日前
シャープ株式会社
表示装置
13日前
シャープ株式会社
端末装置
1か月前
シャープ株式会社
通信装置
15日前
シャープ株式会社
走行装置
1か月前
シャープ株式会社
端末装置
29日前
シャープ株式会社
表示装置
13日前
シャープ株式会社
表示装置
1か月前
シャープ株式会社
通信端末
1か月前
シャープ株式会社
表示装置
28日前
シャープ株式会社
空気調和機
今日
シャープ株式会社
空気調和機
今日
シャープ株式会社
空気調和機
今日
シャープ株式会社
加熱調理器
今日
シャープ株式会社
画像形成装置
1か月前
シャープ株式会社
画像形成装置
8日前
シャープ株式会社
画像形成装置
29日前
シャープ株式会社
画像形成装置
22日前
シャープ株式会社
画像形成装置
22日前
シャープ株式会社
アンテナ装置
28日前
シャープ株式会社
イオン発生装置
1か月前
シャープ株式会社
緩衝材及び梱包体
29日前
シャープ株式会社
通信装置および制御方法
1か月前
シャープ株式会社
端末装置および通信方法
14日前
シャープ株式会社
端末装置および通信方法
今日
シャープ株式会社
端末装置および測定方法
24日前
シャープ株式会社
トナー及びその製造方法
1か月前
シャープ株式会社
端末装置および通信方法
1か月前
シャープ株式会社
端末および端末の制御方法
1か月前
シャープ株式会社
決済システム及び決済方法
1か月前
シャープ株式会社
情報処理装置及び設定方法
27日前
シャープ株式会社
風向変更板、及び空気調和機
1日前
シャープ株式会社
定着装置および画像形成装置
1か月前
シャープ株式会社
給紙装置および画像形成装置
1か月前
続きを見る
他の特許を見る