TOP
|
特許
|
意匠
|
商標
特許ウォッチ
Twitter
他の特許を見る
10個以上の画像は省略されています。
公開番号
2025122450
公報種別
公開特許公報(A)
公開日
2025-08-21
出願番号
2024017944
出願日
2024-02-08
発明の名称
衣類乾燥機
出願人
大阪瓦斯株式会社
代理人
弁理士法人R&C
主分類
D06F
58/02 20060101AFI20250814BHJP(繊維または類似のものの処理;洗濯;他に分類されない可とう性材料)
要約
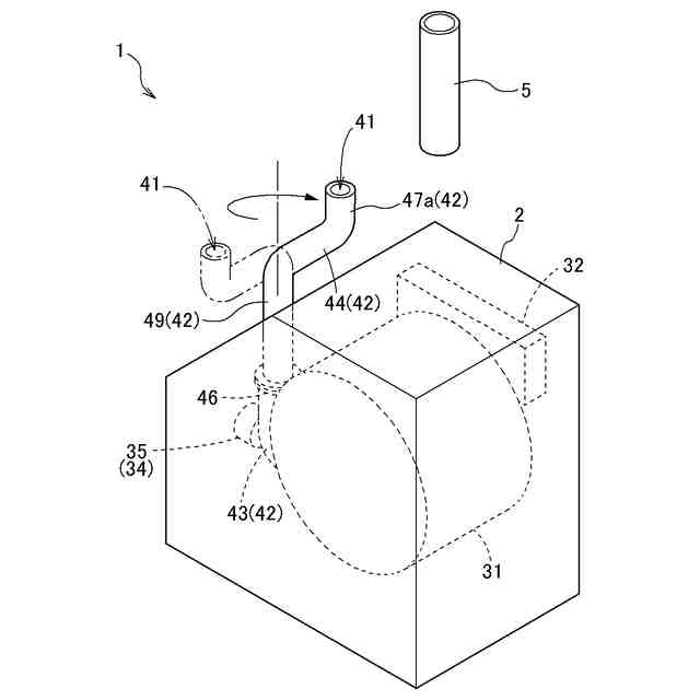
【課題】余分な配管を機器外部に設けることなく取り付けが可能である美観に優れた衣類乾燥機を提供すること。
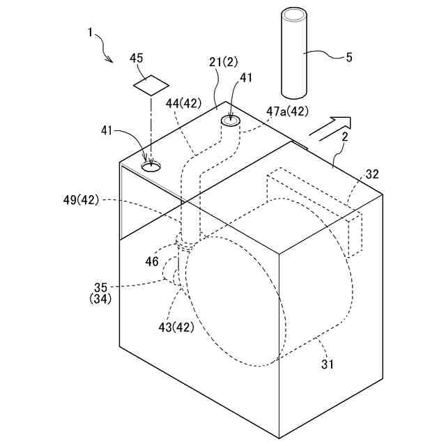
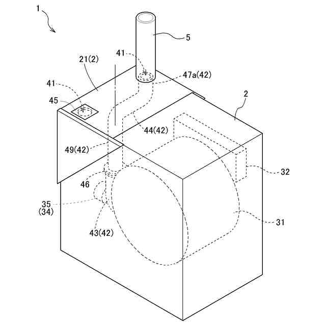
【解決手段】上面に排湿口41を有する外装部2と、回転ドラム31と、回転ドラム31内で発生する湿気を含む加熱空気が通流する排湿経路42と、加熱空気を、回転ドラム31及び排湿経路42を介して外装部2の外部に排気する排湿ファン34と、を備える衣類乾燥機であって、回転ドラム31、排湿経路42及び排湿ファン34は、外装部2の内部に配置され、排湿経路42は、一端が回転ドラム31に連通接続され上下方向に延びる第1排湿経路43と、第1排湿経路43の他端と連通接続され横方向に延びる第2排湿経路44と、外装部2の外部側から排湿管5が接続される排湿口41と第2排湿経路44との接続位置を画定する排湿口位置画定部材47aと、を備える衣類乾燥機。
【選択図】図1
特許請求の範囲
【請求項1】
上面に排湿口を有する外装部と、
衣類を収容して乾燥させる回転ドラムと、
前記回転ドラム内で発生する湿気を含む加熱空気が通流する排湿経路と、
前記加熱空気を、前記回転ドラム及び前記排湿経路を介して前記外装部の外部に排気する排湿ファンと、を備える衣類乾燥機であって、
前記回転ドラム、前記排湿経路及び前記排湿ファンは、前記外装部の内部に配置され、
前記排湿経路は、一端が前記回転ドラムに連通接続され上下方向に延びる第1排湿経路と、前記第1排湿経路の他端と連通接続され横方向に延びる第2排湿経路と、
前記外装部の外部側から排湿管が接続される前記排湿口と前記第2排湿経路との接続位置を画定する排湿口位置画定部材と、を備える衣類乾燥機。
続きを表示(約 830 文字)
【請求項2】
前記排湿口が複数形成され、
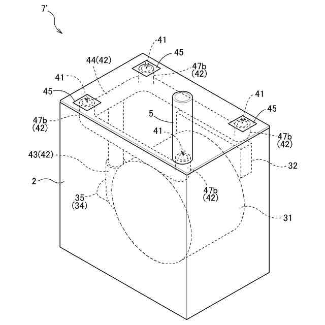
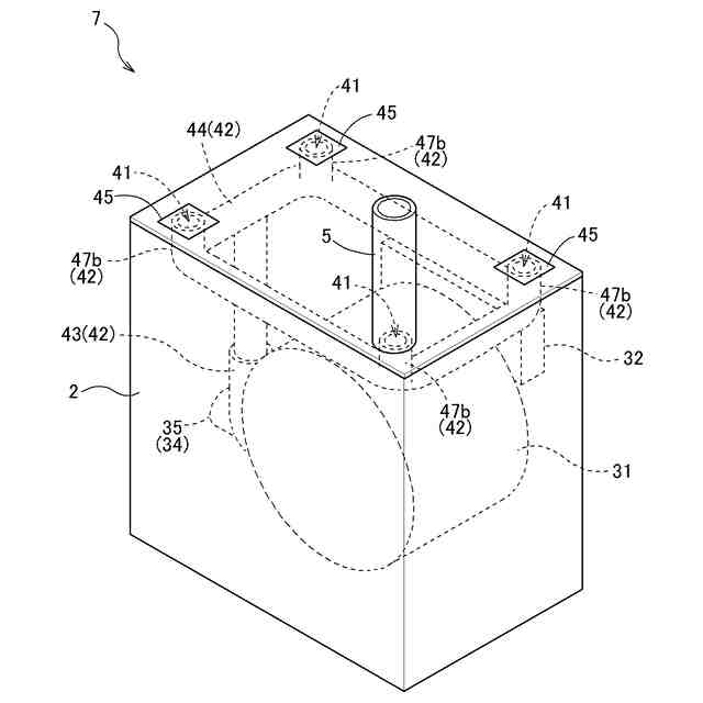
前記第2排湿経路は、管部材であり、平面視で環状、四角形状、角張ったC字形状に形成される横方向経路を備え、
前記排湿口位置画定部材として、前記横方向経路から上下方向に延びる複数の上下方向経路を、複数の前記排湿口のそれぞれに対応する位置に備え、
複数の前記排湿口のうち、前記排湿管が接続される前記排湿口は当該排湿管と複数の前記上下方向経路のうちの一つとが通流可能状態となっており、前記排湿管が接続される排湿口以外の前記排湿口には当該排湿口を閉塞する蓋部が設けられ、通流不可状態となっている、請求項1に記載の衣類乾燥機。
【請求項3】
前記第2排湿経路は、上下方向よりも横方向の方が長い扁平な空間を備える中空部材により形成される横方向経路を備え、
前記排湿口位置画定部材として、前記横方向経路の上面を形成する板状部材を備え、
前記排湿管が接続される前記排湿口は当該排湿管と前記板状部材に形成された開口部とが通流可能状態となっている、請求項1に記載の衣類乾燥機。
【請求項4】
前記排湿口が複数形成され、
前記第2排湿経路は、横方向に延びる直管部材により形成され、
前記直管部材の一端は前記第1排湿経路の他端と連通接続され上下方向に延びる一端側鉛直部分を備え、前記一端側鉛直部分は前記第1排湿経路の他端に対して上下方向の軸心に沿って回転自在に接続されており、
前記排湿口位置画定部材として、前記直管部材の他端に上下方向に延びる他端側鉛直部分を備え、
複数の前記排湿口のうち、前記排湿管が接続される前記排湿口は当該排湿管と前記他端側鉛直部分とが通流可能状態となっており、前記排湿管が接続される排湿口以外の前記排湿口には当該排湿口を閉塞する蓋部が設けられ、通流不可状態となっている、請求項1に記載の衣類乾燥機。
発明の詳細な説明
【技術分野】
【0001】
本発明は、衣類乾燥機の湿気を含む加熱空気の排気・排湿経路に関する。
続きを表示(約 2,100 文字)
【背景技術】
【0002】
衣類乾燥機は衣類を収納する回転ドラムを有し、回転ドラムを回転させて衣類を動かしながら、加熱した空気を当てることにより衣類に含まれる水蒸気を分離させている。衣類乾燥機には、電気式とガス式の2つの乾燥方式がある。電気式は、電気を使用し、内部に備えたヒーターで衣類を乾燥するヒーター式と、空気を熱交換器により温風に変えて衣類を乾燥するヒートポンプ式がある。ガス式は、ガスを使用して約80~100℃の加熱空気により衣類を乾燥する。また、衣類乾燥機で発生する水蒸気を含む空気は、本体から外部に放出する必要がある。電気式の衣類乾燥機で発生する水蒸気を含む空気は、外気若しくは水で除湿したうえで室内に排気している。ガス式の衣類乾燥機を室内で利用する場合、衣類乾燥機本体に排湿口を設け、排湿口に排湿管を接続し、排湿管を屋外まで設置して、湿気を含んだ加熱空気を屋外に排出している。
従来、特許文献1に示すように、衣類乾燥機の排湿口は、美観のために機器本体の上方後部に設けられることが多い。また、衣類乾燥機は洗濯機の上方に取り付けられることが多い。
【先行技術文献】
【特許文献】
【0003】
特開2013-99459号公報
特開平10-179993号公報
【発明の概要】
【発明が解決しようとする課題】
【0004】
洗濯機の蓋を開けられるようにするため、洗濯機と衣類乾燥機との間のスペースを確保する必要がある。そのため、衣類乾燥機の上面と天井との間のスペースが小さくなり、衣類乾燥機の上面に設けた排湿口と排湿筒を接続する作業等の作業を行うためのスペースが小さくなる。その結果、機器本体を取り付ける際の作業性が悪くなり、また、機器の故障時や取替時においても、機器本体を取り外す際の作業性が悪くなる。しかし、作業性をよくするために機器上方にメンテナンスのためのスペースを設けると、設置条件が厳しくなる。
【0005】
また、衣類乾燥機を設置する場所や向きによっては、排湿口と離れた位置に機器本体の前方や側方の壁に穴をあけ、排湿管を取り付けなければならない場合がある。このような場合において、従来の衣類乾燥機を取り付ける際は、排湿管を排湿口に接続するために必要な経路が長くなり、排湿のためのスペースを余分に取ることになり、美観上好ましくない。
【0006】
特許文献2には、多くの空間を必要とせずかつ美観に優れた排湿方向変更装置および衣類乾燥機に関する技術であり、排出口の位置を任意に変更することによりガスの流れの方向を任意に変更することができる排湿室を備えることで、排湿室の厚さが薄くてもガスの流れ方向を変更することができ、衣類乾燥機の上方に空間の余裕がなくとも容易に設置することができることが開示されている。しかし、特許文献2の場合でも、排湿口が前面に設けられ、排湿管が前面に設けられるため、圧迫感があり美観上好ましくない。
【0007】
また、排湿口を機器本体の前面に設ける構成とすると、配管が前面にあることで圧迫感があり美観が損なわれる。また、使用者が排湿管に触れやすくなることで、排湿管が外れて湿気を含んだ燃焼排ガスが屋内に滞留して室内温度や湿度が上昇する恐れがある。
【0008】
本発明は、上記の課題に鑑みてなされたものであり、その目的は、余分な配管を機器外部に設けることなく取り付けが可能である美観に優れた衣類乾燥機を提供する点にある。
【課題を解決するための手段】
【0009】
上記目的を達成するための本発明に係る衣類乾燥機の特徴構成は、
上面に排湿口を有する外装部と、
衣類を収容して乾燥させる回転ドラムと、
前記回転ドラム内で発生する湿気を含む加熱空気が通流する排湿経路と、
前記加熱空気を、前記回転ドラム及び前記排湿経路を介して前記外装部の外部に排気する排湿ファンと、を備える衣類乾燥機であって、
前記回転ドラム、前記排湿経路及び前記排湿ファンは、前記外装部の内部に配置され、
前記排湿経路は、一端が前記回転ドラムに連通接続され上下方向に延びる第1排湿経路と、前記第1排湿経路の他端と連通接続され横方向に延びる第2排湿経路と、
前記外装部の外部側から排湿管が接続される前記排湿口と前記第2排湿経路との接続位置を画定する排湿口位置画定部材と、を備える点にある。
【0010】
回転ドラム内に収容した衣類は、加熱手段により導入された加熱空気により乾燥させられる。そして、回転ドラム内で衣類から生じる湿気を含んだ加熱空気は、排湿経路に設けた排湿ファンによって回転ドラム、排湿経路の順に通り、排湿口に接続した排湿管を経て屋外に排出される。ここで、排湿管が設置される位置によっては、排湿管を排湿口まで接続するために必要な配管が長くなり、美観上好ましくない。
(【0011】以降は省略されています)
この特許をJ-PlatPat(特許庁公式サイト)で参照する
関連特許
大阪瓦斯株式会社
継手
20日前
大阪瓦斯株式会社
ガスコンロ
1か月前
大阪瓦斯株式会社
充放電中継装置
26日前
大阪瓦斯株式会社
充放電中継装置
26日前
大阪瓦斯株式会社
燃料電池システム
12日前
大阪瓦斯株式会社
メタン生成システム
13日前
大阪瓦斯株式会社
フレキシブル管用継手
20日前
大阪瓦斯株式会社
共電解メタネーション装置
1か月前
大阪瓦斯株式会社
共電解メタネーション装置
1か月前
大阪瓦斯株式会社
二酸化炭素回収装置および二酸化炭素回収方法
12日前
大阪瓦斯株式会社
船舶及びその航行計画を生成する情報処理装置
1か月前
大阪瓦斯株式会社
共電解メタネーション装置及び共電解メタネーション装置の運転方法
1か月前
大阪瓦斯株式会社
イットリア安定化ジルコニア層の製造方法、電機化学素子の製造方法、固体酸化物形燃料電池の製造方法及び固体酸化物形燃料電池セルの製造方法
14日前
個人
洗濯機
12日前
個人
洗濯装置
3か月前
個人
洗濯物干しハンガー
28日前
セーレン株式会社
複合表皮材
12日前
東レ株式会社
繊維断面の検査方法
2か月前
株式会社青柳
染め加工方法
2か月前
株式会社アライホーム
物干装置
12日前
東レ株式会社
ゴム補強用合成繊維コード
2か月前
東レ株式会社
樹脂含浸繊維束の製造方法
4か月前
株式会社槌屋
加飾用表皮材
1か月前
東レ株式会社
炭素繊維シートの製造方法
3か月前
有限会社高田紙器製作所
紙製洗濯バサミ
3か月前
株式会社大阪ソーダ
撥水撥油性繊維処理剤
3か月前
リンナイ株式会社
衣類乾燥機
1か月前
個人
ポリエステル染色物の製造方法
1か月前
株式会社創和
ボックス状洗濯ネット
2か月前
シャープ株式会社
洗濯機
3か月前
リンテック株式会社
耐水性基材
1か月前
個人
洗濯用洗剤容器の蓋
3か月前
アイリスオーヤマ株式会社
洗濯機
28日前
大阪瓦斯株式会社
衣類乾燥機
3か月前
大阪瓦斯株式会社
衣類乾燥機
3か月前
松本油脂製薬株式会社
繊維用処理剤及びその利用
3か月前
続きを見る
他の特許を見る