TOP
|
特許
|
意匠
|
商標
特許ウォッチ
Twitter
他の特許を見る
10個以上の画像は省略されています。
公開番号
2025161369
公報種別
公開特許公報(A)
公開日
2025-10-24
出願番号
2024064495
出願日
2024-04-12
発明の名称
共電解メタネーション装置
出願人
大阪瓦斯株式会社
代理人
弁理士法人R&C
主分類
C25B
15/08 20060101AFI20251017BHJP(電気分解または電気泳動方法;そのための装置)
要約
【課題】共電解の電解開始時の電流取り出しから定格相当の電流を得るまでの工程において、メタン化反応に最適な(一酸化炭素+二酸化炭素)/水素の比率を実現し、エネルギー変換効率の向上が可能な、共電解メタネーション装置を提供する。
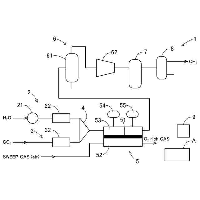
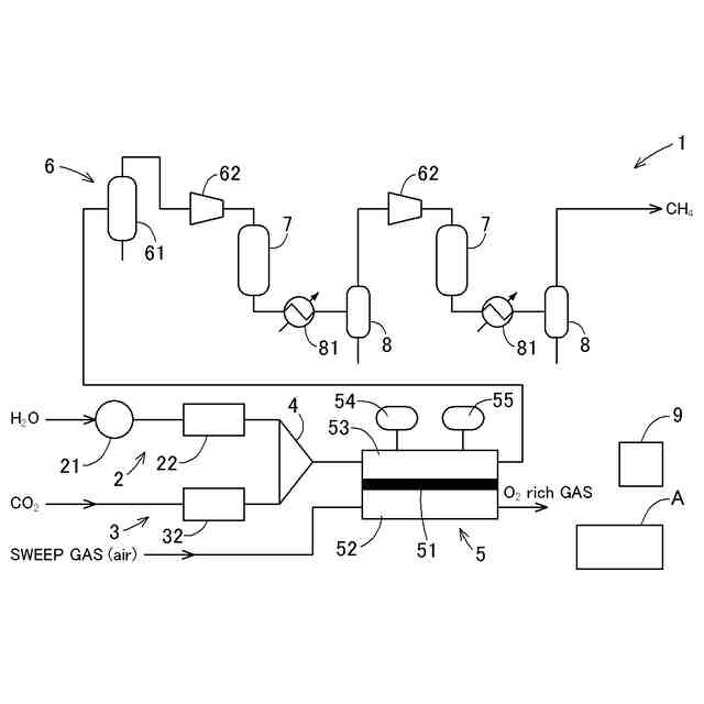
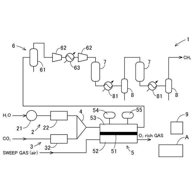
【解決手段】水蒸気と二酸化炭素を電解する共電解部5と、水蒸気と二酸化炭素の流量を制御する流量制御手段と、メタン合成部7と、分離部と、を備える共電解メタネーション装置1であって、共電解部5に電解電力を供給する電解電圧制御手段と、電解電流を計測する電解電流計測手段と、が備えられており、流量制御手段は、共電解部5の電解電流の取り出し開始から定格電解電流に達するまでの過程において、電解電流の増加に応じて、カソード極53に供給する水蒸気及び二酸化炭素の各流量を制御する。
【選択図】図1
特許請求の範囲
【請求項1】
水蒸気及び二酸化炭素を電気分解して水素、一酸化炭素、水蒸気及び二酸化炭素を含む合成ガスを生成する共電解部と、
前記共電解部のカソード極に供給する前記水蒸気及び前記二酸化炭素の各流量を制御する流量制御手段と、
前記合成ガスを冷却して水を分離し、圧縮する水分離・圧縮部と、
水が分離された合成ガスをメタン化触媒に通じてメタネーションを行うメタン合成部と、
前記メタン合成部より送出されるガスからメタンを分離する分離部と、
を備える共電解メタネーション装置であって、
前記共電解部に電解電力を供給する電解電圧制御手段と、
電解電流を計測する電解電流計測手段と、が備えられており、
前記流量制御手段は、前記共電解部の前記電解電流の取り出し開始から定格電解電流に達するまでの過程において、前記電解電流の増加に応じて、前記カソード極に供給する前記水蒸気及び前記二酸化炭素の各流量を制御する、共電解メタネーション装置。
続きを表示(約 740 文字)
【請求項2】
前記定格電解電流に対する前記電解電流の比率である電解電流比率を算出する電解電流比率算出手段を備え、前記電解電流比率に基づき、前記カソード極に供給する前記水蒸気及び前記二酸化炭素の各流量を制御する、請求項1に記載の共電解メタネーション装置。
【請求項3】
前記二酸化炭素に対する前記水蒸気の流量比は、前記定格電解電流に達したときのガス利用率である定格電解利用率(%)に基づいて、以下の(1)式により算出される、請求項2に記載の共電解メタネーション装置。
400/(定格電解利用率×電解電流比率)-1・・・(1)
【請求項4】
前記共電解部の前記電解電流の取り出し開始までは前記水蒸気のみが供給されており、前記共電解部の前記電解電流の取り出し開始と同時に、前記水蒸気の供給に追加して前記二酸化炭素の供給を開始する、請求項3に記載の共電解メタネーション装置。
【請求項5】
前記共電解部の前記電解電流の取り出し開始から前記定格電解電流に達するまでの過程において、前記水蒸気の供給量を徐々に減少させ、前記二酸化炭素の供給量を徐々に増加させる、請求項3に記載の共電解メタネーション装置。
【請求項6】
前記共電解部の前記電解電流の取り出し開始から前記定格電解電流に達するまでの過程において、前記水蒸気の供給量を固定し、前記二酸化炭素の供給量を徐々に増加させる、請求項3に記載の共電解メタネーション装置。
【請求項7】
前記共電解部から前記メタン合成部に至るまでの間に前記合成ガスの廃棄をするベント排気ラインを設けている、請求項1~6のいずれか1項に記載の共電解メタネーション装置。
発明の詳細な説明
【技術分野】
【0001】
本発明は、SOEC共電解メタネーション装置に関する。
続きを表示(約 2,100 文字)
【背景技術】
【0002】
固体酸化物形電解セル(Solid Oxide Electrolysis Cell:SOEC)により、原料となる二酸化炭素と水蒸気を共電解して一酸化炭素と水素を生成し、後段に設けたメタネーション装置で一酸化炭素と水素からメタンを製造する方法が知られている。
【0003】
特許文献1は、原料として二酸化炭素と水蒸気を用い、電力を用いて水素と一酸化炭素を合成しその後段で、燃料を合成する装置に関するものである。装置の始動においては、まず、二酸化炭素のみを供給し、その後に水蒸気を供給する手法が開示されている。さらには、二酸化炭素の供給を行いその状態で二酸化炭素の90%以上が一酸化炭素に変換される電解を行った後に、水蒸気の供給を開始することが開示されている。
【先行技術文献】
【特許文献】
【0004】
特開2021-8655号公報
【発明の概要】
【発明が解決しようとする課題】
【0005】
特許文献1の方法では、メタンを高純度に得る状態に到達するために多くの時間を要し、投入された電力が変換した一酸化炭素は利用されることなく排気される。したがって、起動、電解、停止の一連の過程で、全投入エネルギーに対する目標ガス組成のガスの熱量の比であるエネルギー変換効率は低下する。
【0006】
また、従来の共電解メタネーション装置の起動方法では、定格相当の電解を行ったときに最もメタネーションに最適な比の生成ガスを生じるように、あらかじめ電解前から固定値として水蒸気と二酸化炭素を供給し、安定化した状態で電解電流の取り出しが行われる。電解電流が定格相当になってはじめて、メタネーション出口のメタン純度が目標濃度となる。したがって、定格に至るまでの電流取り出しの過程では、ほとんどが目標メタン純度及び単位体積当たり熱量は低いものとなるため、生成したガスはほとんど廃棄しなければならない。
【0007】
本発明は、上記の課題に鑑みてなされたものであり、その目的は、共電解の電解開始時の電流取り出しから定格相当の電流を得るまでの工程において、メタン化反応に最適な(一酸化炭素+二酸化炭素)/水素の比率を実現し、エネルギー変換効率の向上が可能な、共電解メタネーション装置を提供する点にある。
【課題を解決するための手段】
【0008】
上記目的を達成するための本発明に係る共電解メタネーション装置の特徴構成は、
水蒸気及び二酸化炭素を電気分解して水素、一酸化炭素、水蒸気及び二酸化炭素を含む合成ガスを生成する共電解部と、
前記共電解部のカソード極に供給する前記水蒸気及び前記二酸化炭素の各流量を制御する流量制御手段と、
前記合成ガスを冷却して水を分離し、圧縮する水分離・圧縮部と、
水が分離された合成ガスをメタン化触媒に通じてメタネーションを行うメタン合成部と、
前記メタン合成部より送出されるガスからメタンを分離する分離部と、
を備える共電解メタネーション装置であって、
前記共電解部に電解電力を供給する電解電圧制御手段と、
電解電流を計測する電解電流計測手段と、が備えられており、
前記流量制御手段は、前記共電解部の前記電解電流の取り出し開始から定格電解電流に達するまでの過程において、前記電解電流の増加に応じて、前記カソード極に供給する前記水蒸気及び前記二酸化炭素の各流量を制御する点にある。
【0009】
従来、定格相当の電解を行ったときに最もメタネーションに最適な比の生成ガスを生じるように、あらかじめ電解前から固定値として水蒸気と二酸化炭素を供給し、安定化した状態で電解電流の取り出しが行われている。この場合、電解電流が定格相当になってはじめて、メタネーション出口のメタン純度が目標濃度となる。したがって、定格に至るまでの電流取り出しの過程では、ほとんどが目標メタン純度及び単位体積当たり熱量は低いものとなるため、生成したガスはほとんど廃棄しなければならない。
【0010】
しかし、上記特徴構成によれば、流量制御手段は、共電解部の電解電流の取り出し開始から定格電解電流に達するまでの過程において、電解電流の増加に応じて、カソード極に供給する水蒸気及び二酸化炭素の各流量を制御する。このようにすることで、電解電流に応じた水蒸気と二酸化炭素が供給されることになり、共電解部の起動時においても、水素を無駄なくメタネーションすることができるため、高い濃度のメタンを含むガスを生成することができる。
したがって、共電解の電解開始時の電流取り出しから定格相当の電流を得るまでの工程において、メタン化反応に最適な(一酸化炭素+二酸化炭素)/水素の比率を実現し、エネルギー変換効率の向上が可能となる。
(【0011】以降は省略されています)
この特許をJ-PlatPat(特許庁公式サイト)で参照する
関連特許
大阪瓦斯株式会社
継手
10日前
大阪瓦斯株式会社
探査装置
1か月前
大阪瓦斯株式会社
燃焼装置
1か月前
大阪瓦斯株式会社
ガスコンロ
1か月前
大阪瓦斯株式会社
フライヤー
1か月前
大阪瓦斯株式会社
ガスコンロ
26日前
大阪瓦斯株式会社
撥水性塗料
1か月前
大阪瓦斯株式会社
蓄電制御装置
1か月前
大阪瓦斯株式会社
高耐熱組成物
1か月前
大阪瓦斯株式会社
酸化物複合体
1か月前
大阪瓦斯株式会社
制御システム
1か月前
大阪瓦斯株式会社
音声出力装置
1か月前
大阪瓦斯株式会社
管理システム
1か月前
大阪瓦斯株式会社
警報システム
1か月前
大阪瓦斯株式会社
警報システム
1か月前
大阪瓦斯株式会社
ガラス複合体
1か月前
大阪瓦斯株式会社
ガラス複合体
1か月前
大阪瓦斯株式会社
動作制御装置
1か月前
大阪瓦斯株式会社
熱供給システム
1か月前
大阪瓦斯株式会社
充放電中継装置
16日前
大阪瓦斯株式会社
充放電中継装置
16日前
大阪瓦斯株式会社
燃料電池システム
2日前
大阪瓦斯株式会社
燃料電池システム
1か月前
大阪瓦斯株式会社
燃焼制御システム
1か月前
大阪瓦斯株式会社
燃料電池システム
1か月前
大阪瓦斯株式会社
異常診断システム
1か月前
大阪瓦斯株式会社
加熱調理システム
1か月前
大阪瓦斯株式会社
燃料電池システム
1か月前
大阪瓦斯株式会社
異常診断システム
1か月前
大阪瓦斯株式会社
音声出力システム
1か月前
大阪瓦斯株式会社
熱電併給システム
1か月前
大阪瓦斯株式会社
燃料電池システム
1か月前
大阪瓦斯株式会社
バイオマス系樹脂
1か月前
大阪瓦斯株式会社
燃料電池システム
1か月前
大阪瓦斯株式会社
燃料電池システム
1か月前
大阪瓦斯株式会社
燃料電池システム
1か月前
続きを見る
他の特許を見る