TOP
|
特許
|
意匠
|
商標
特許ウォッチ
Twitter
他の特許を見る
公開番号
2025156896
公報種別
公開特許公報(A)
公開日
2025-10-15
出願番号
2024059640
出願日
2024-04-02
発明の名称
衣類乾燥機
出願人
リンナイ株式会社
代理人
個人
,
個人
主分類
D06F
58/02 20060101AFI20251007BHJP(繊維または類似のものの処理;洗濯;他に分類されない可とう性材料)
要約
【課題】燃焼室のバーナの炎が長く延びても、温風ダクトの過熱を防ぐことを可能とする衣類乾燥機を提供する。
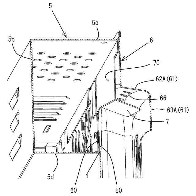
【解決手段】衣類乾燥機1は、衣類取出口21を有する本体ケース2内に、衣類を収容する回転ドラム3と、バーナ9を収容する燃焼室5と、燃焼室5と回転ドラム3とに連通してバーナ9によって加熱された温風を回転ドラム3内へ送り込むための温風ダクト6と、回転ドラム3内に温風を供給し且つ回転ドラム3内から温風を外部に排気させる給排気ファン8とを備える。燃焼室5は、温風の流れ方向下流側に温風の流出口50を有し、温風ダクト6は、温風の流れ方向上流側に温風の流入口60を有し、燃焼室5と温風ダクト6とは、燃焼室5の流出口50と温風ダクト6の流入口60とが接続されており、温風ダクト6内には、温風の流れ方向上流側の壁部61の少なくとも一部を覆うカバー板部7が配設されている。
【選択図】図3
特許請求の範囲
【請求項1】
衣類取出口を有する本体ケース内に、衣類を収容する回転ドラムと、バーナを収容する燃焼室と、燃焼室と回転ドラムとに連通してバーナによって加熱された温風を回転ドラム内へ送り込むための温風ダクトと、回転ドラム内に温風を供給し且つ回転ドラム内から温風を外部に排気させる給排気ファンと、を備え、
燃焼室は、温風の流れ方向下流側に温風の流出口を有し、
温風ダクトは、温風の流れ方向上流側に温風の流入口を有し、
燃焼室と温風ダクトとは、燃焼室の流出口と温風ダクトの流入口とが接続されており、
温風ダクト内には、温風の流れ方向上流側の壁部の少なくとも一部を覆うカバー板部が配設されている、衣類乾燥機。
続きを表示(約 570 文字)
【請求項2】
請求項1に記載の衣類乾燥機において、
温風ダクトは、扁平形状に形成されており、
カバー板部は、燃焼室の流出口に延設され、温風ダクトの流入口に挿入して配設されている、衣類乾燥機。
【請求項3】
請求項2に記載の衣類乾燥機において、
本体ケースの衣類取出口側を前側とし、
燃焼室の流出口は、燃焼室の前面に開設されており、
温風ダクトは、前後方向に薄い偏平形状に形成され、前面と後面とのそれぞれに膨出する壁部を有し、
温風ダクトの流入口は、温風ダクトの後面に膨出する壁部のコーナ部を切り欠いて開設されており、
燃焼室と温風ダクトとは、前後方向に重なるように配設されて燃焼室の流出口と温風ダクトの流入口が接続されており、
カバー板部は、温風ダクトの前面に膨出する壁部のうち温風ダクトの流入口と隣接する上側の壁部に近接して配設されている、衣類乾燥機。
【請求項4】
請求項1~3のいずれか1項に記載の衣類乾燥機において、
温風ダクトには、流入口付近の壁部に冷却穴が設けられ、冷却穴の下流位置に温風ダクト内の温風の温度を検出する温度センサが設けられており、
カバー板部は、冷却穴に対向かつ近接して配設されている、衣類乾燥機。
発明の詳細な説明
【技術分野】
【0001】
本発明は、燃焼室から温風ダクトを通して温風を回転ドラム内に供給して衣類の乾燥を行う衣類乾燥機に関する。
続きを表示(約 2,100 文字)
【背景技術】
【0002】
衣類乾燥機は、所定サイズの本体ケース内に、衣類を収容する回転ドラム、バーナを収容する燃焼室、燃焼室と回転ドラムとに連通する温風ダクト、回転ドラム内に温風を供給し且つ回転ドラム内から温風を外部に排気させる給排気ファン等を備えている。従来の衣類乾燥機として、例えば、特許文献1には、衣類乾燥機の燃焼室は、バーナと、バーナを囲う内外二重のバーナケースとで構成してバーナの炎の周りを包むような空気の流れを形成することにより、燃焼室が酸欠気味の状態になってもバーナの炎の延びを抑えることができ、バーナケースの過熱を防止するという技術が開示されている。
【先行技術文献】
【特許文献】
【0003】
特開平11-262599号公報
【発明の概要】
【発明が解決しようとする課題】
【0004】
ところで、衣類乾燥機では、できるだけ大量の衣類を乾燥できるように回転ドラムの大型化が進んでおり、その分だけ燃焼室や温風ダクトはコンパクト化が求められている。このため、特許文献1に記載する燃焼室では、内外二重のバーナケースで構成するため、本体ケース内で配設場所を広く取ってしまい、回転ドラムの大型化の要求には適切なものではなかった。一方、温風ダクトをコンパクトな構成とし狭いスペースに配設した場合、フィルタのホコリ溜まり等により燃焼室が酸欠気味となりバーナの炎が長く延びることにより、温風ダクト内まで炎が延びてしまい、温風ダクトが過熱されるおそれがある。
【0005】
本発明は、以上の事情に鑑みてなされたものであり、燃焼室のバーナの炎が長く延びても、温風ダクトの過熱を防ぐことを可能とする衣類乾燥機を提供することを目的とする。
【課題を解決するための手段】
【0006】
本発明に係る衣類乾燥機は、
衣類取出口を有する本体ケース内に、衣類を収容する回転ドラムと、バーナを収容する燃焼室と、燃焼室と回転ドラムとに連通してバーナによって加熱された温風を回転ドラム内へ送り込むための温風ダクトと、回転ドラム内に温風を供給し且つ回転ドラム内から温風を外部に排気させる給排気ファンと、を備え、
燃焼室は、温風の流れ方向下流側に温風の流出口を有し、
温風ダクトは、温風の流れ方向上流側に温風の流入口を有し、
燃焼室と温風ダクトとは、燃焼室の流出口と温風ダクトの流入口とが接続されており、
温風ダクト内には、温風の流れ方向上流側の壁部の少なくとも一部を覆うカバー板部が配設されている。
【0007】
前記構成によれば、カバー板部が温風ダクト内の温風流れ方向上流側の壁部に対して保護部材となるため、燃焼室のバーナの炎が温風ダクト内まで延びた場合でも、カバー板部によってバーナの炎や高温の温風が温風ダクトの壁部に直接接触することを防ぐことができる。従って、燃焼室が酸欠気味の状態になってバーナの炎が長く延びた場合でも温風ダクトの壁部の過熱を抑制することができる。また、温風ダクトは、耐熱性の高い材質で形成しなくても耐久性が向上する。
【0008】
前記衣類乾燥機において、
温風ダクトは、扁平形状に形成されており、
カバー板部は、燃焼室の流出口に延設され、温風ダクトの流入口に挿入して配設されている構成とすることができる。
【0009】
温風ダクトが扁平形状を有し、温風ダクト内が扁平な空間となるため、温風ダクトへのカバー板部の取り付けに手間を要する。しかし、本発明の前記構成によれば、カバー板部を燃焼室の流出口に延設することにより、燃焼室の流出口と温風ダクトの流入口とを接続することで温風ダクト内にカバー板部を簡単に取り付けることができる。従って、扁平形状を有する温風ダクト内へのカバー板部の取り付けが容易となり、カバー板部の取り付け作業性が向上する。また、カバー板部を燃焼室の流出口に延設することにより、温風ダクトの流入口から連続して温風ダクト内の温風流れ方向上流側の壁部を覆うことができ、温風ダクトの壁部の過熱を効果的に防止することができる。
【0010】
前記衣類乾燥機において、
本体ケースの衣類取出口側を前側とし、
燃焼室の流出口は、燃焼室の前面に開設されており、
温風ダクトは、前後方向に薄い偏平形状に形成され、前面と後面とのそれぞれに膨出する壁部を有し、
温風ダクトの流入口は、温風ダクトの後面に膨出する壁部のコーナ部を切り欠いて開設されており、
燃焼室と温風ダクトとは、前後方向に重なるように配設されて燃焼室の流出口と温風ダクトの流入口が接続されており、
カバー板部は、温風ダクトの前面に膨出する壁部のうち温風ダクトの流入口と隣接する上側の壁部に近接して配設されている構成とすることができる。
(【0011】以降は省略されています)
この特許をJ-PlatPat(特許庁公式サイト)で参照する
関連特許
リンナイ株式会社
加熱調理器
8日前
リンナイ株式会社
加熱調理器
8日前
リンナイ株式会社
食器洗浄機
22日前
リンナイ株式会社
加熱調理支援システム
今日
リンナイ株式会社
ガスバーナ並びに加熱調理器
今日
リンナイ株式会社
ガスバーナ並びに加熱調理器
10日前
リンナイ株式会社
加熱調理器用バーナ並びに加熱調理器
今日
リンナイ株式会社
加熱調理器用バーナ並びに加熱調理器
今日
リンナイ株式会社
加熱調理器用バーナ並びに加熱調理器
今日
リンナイ株式会社
微細気泡供給装置および水溶液供給装置
10日前
リンナイ株式会社
気液溶解装置および微細気泡発生システム
2日前
リンナイ株式会社
ガスバーナ、およびガスバーナを搭載した加熱調理器
16日前
個人
洗濯装置
2か月前
個人
洗濯物干しハンガー
3日前
株式会社青柳
染め加工方法
1か月前
東レ株式会社
繊維断面の検査方法
1か月前
東レ株式会社
炭素繊維シートの製造方法
2か月前
東レ株式会社
ゴム補強用合成繊維コード
1か月前
株式会社槌屋
加飾用表皮材
29日前
個人
ポリエステル染色物の製造方法
24日前
株式会社大阪ソーダ
撥水撥油性繊維処理剤
2か月前
株式会社創和
ボックス状洗濯ネット
1か月前
リンナイ株式会社
衣類乾燥機
23日前
リンテック株式会社
耐水性基材
28日前
シャープ株式会社
洗濯機
2か月前
個人
洗濯用洗剤容器の蓋
2か月前
アイリスオーヤマ株式会社
洗濯機
3日前
大阪瓦斯株式会社
衣類乾燥機
2か月前
大阪瓦斯株式会社
衣類乾燥機
2か月前
大阪瓦斯株式会社
衣類乾燥機
2か月前
松本油脂製薬株式会社
繊維用処理剤及びその利用
2か月前
ダイニック株式会社
ターポリン、及びその製造方法
24日前
個人
開閉角度調整可能な角型折畳みピンチハンガー
2か月前
株式会社wash-plus
ランドリーシステム
3日前
株式会社コーワ
乾燥機のフィルター清掃装置及び乾燥機
28日前
個人
パイプ用係止、固定装置及び洗濯バサミ取り付け具
2か月前
続きを見る
他の特許を見る