TOP
|
特許
|
意匠
|
商標
特許ウォッチ
Twitter
他の特許を見る
10個以上の画像は省略されています。
公開番号
2025160056
公報種別
公開特許公報(A)
公開日
2025-10-22
出願番号
2024063052
出願日
2024-04-09
発明の名称
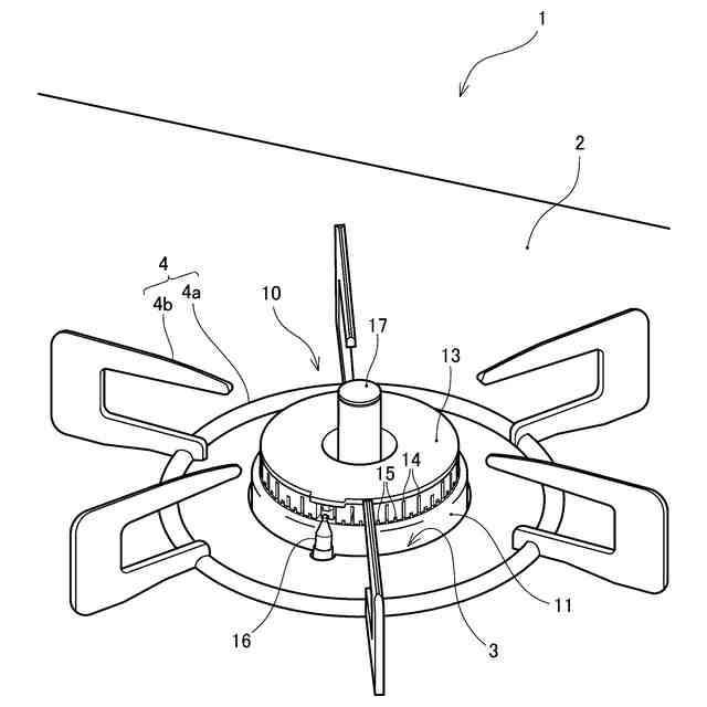
ガスバーナ、およびガスバーナを搭載した加熱調理器
出願人
リンナイ株式会社
代理人
個人
,
個人
主分類
F23D
14/06 20060101AFI20251015BHJP(燃焼装置;燃焼方法)
要約
【課題】ガスバーナの火炎検知手段による火炎の検知を安定化させる。
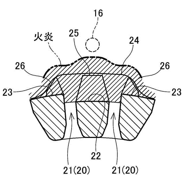
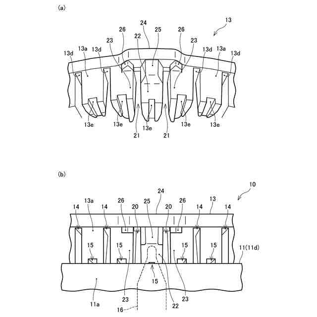
【解決手段】バーナボディ11にバーナヘッド13を載置し、バーナヘッドの筒状壁13aの下端面に凹設された径方向の複数の炎口溝13dとバーナボディの載置面11dとで複数の炎口14を画成する。また、複数の炎口溝のうち所定の隣り合う一対を検知用炎口溝21として、一対の検知用炎口溝の間に挟まれた主仕切壁部22と、一対の検知用炎口溝の主仕切壁部とは反対側に隣接する一対の副仕切壁部23と、筒状壁の上端部から径方向の外側に張り出した庇部24とを備え、火炎検知手段16が主仕切壁部の外周面に対向して配置されている。そして、主仕切壁部の外周面の上部から径方向の外側に副仕切壁部の外周面よりも突出して設けられ庇部の下面に直結する第1凸部25と、一対の副仕切壁部の各々に対応して径方向の外側に位置し、庇部の下面から垂設された一対の第2凸部26とを有する。
【選択図】図4
特許請求の範囲
【請求項1】
燃料ガスと空気との混合ガスが供給される環状の混合室を有するバーナボディと、該バーナボディに載置されて前記混合室の上面開口部を覆うバーナヘッドとを具備し、前記バーナヘッドの外縁部分から下方に向かって筒状に垂設された筒状壁の下端面に、径方向に横断する炎口溝が周方向に間隔を取って複数凹設されていると共に、前記バーナボディにおける前記混合室の前記上面開口部の周囲に環状の載置面が設けられており、前記バーナヘッドを前記バーナボディに載置して前記筒状壁の下端面が前記載置面に当接すると、前記複数の炎口溝と前記載置面とによって前記混合室に連通して前記筒状壁の外周面に開口した複数の炎口が画成され、該炎口から噴出する前記混合ガスの燃焼によって形成される火炎を火炎検知手段で検知可能なガスバーナにおいて、
前記バーナヘッドは、
前記複数の炎口溝のうち所定の隣り合う一対の検知用炎口溝と、
前記筒状壁における前記一対の検知用炎口溝の間に挟まれた主仕切壁部と、
前記筒状壁における前記一対の検知用炎口溝の前記主仕切壁部とは反対側に隣接する一対の副仕切壁部と、
前記筒状壁の外周面の上端部から径方向の外側に延設され、少なくとも前記検知用炎口溝、前記主仕切壁部、および前記副仕切壁部の上方に張り出した庇部と
を備え、
前記火炎検知手段は、前記主仕切壁部の外周面に対向して配置されており、
前記主仕切壁部の外周面の上部から前記バーナヘッドの径方向の外側に前記副仕切壁部の外周面よりも突出して設けられた第1凸部が前記庇部の下面に直結していると共に、
前記一対の副仕切壁部の各々に対応して前記バーナヘッドの径方向の外側に位置する一対の第2凸部が前記庇部の下面から垂設されている
ことを特徴とするガスバーナ。
続きを表示(約 910 文字)
【請求項2】
請求項1に記載のガスバーナにおいて、
前記一対の第2凸部の下端は、前記第1凸部の下端よりも上方に位置している
ことを特徴とするガスバーナ。
【請求項3】
請求項1または請求項2に記載のガスバーナにおいて、
前記バーナヘッドの径方向における前記第1凸部の外側端部は、前記第2凸部の外側端部に対して略同一円周上か径方向の外側に位置している
ことを特徴とするガスバーナ。
【請求項4】
請求項1に記載のガスバーナにおいて、
前記主仕切壁部の外周面は、前記副仕切壁部の外周面よりも前記バーナヘッドの径方向の内側に凹没している
ことを特徴とするガスバーナ。
【請求項5】
請求項1に記載のガスバーナにおいて、
前記バーナヘッドの周方向における前記第1凸部の幅は、前記主仕切壁部の幅と略同一である
ことを特徴とするガスバーナ。
【請求項6】
請求項1に記載のガスバーナにおいて、
前記第2凸部は、前記副仕切壁部の外周面に直結しており、
前記バーナヘッドの周方向における前記第1凸部と前記第2凸部との間隔は、該バーナヘッドの径方向の内側から外側に向かって拡大している
ことを特徴とするガスバーナ。
【請求項7】
請求項1に記載のガスバーナにおいて、
前記主仕切壁部および前記副仕切壁部の内周面は、前記筒状壁における該主仕切壁部および該副仕切壁部を除く他の部分の内周面よりも前記バーナヘッドの径方向の内側に位置しており、
前記検知用炎口溝は、前記主仕切壁部と前記副仕切壁部との間隔が一定である平行領域を該主仕切壁部の外周側に有すると共に、該主仕切壁部と該副仕切壁部との間隔が前記バーナヘッドの径方向に内側に向かって拡大する拡幅領域を該主仕切壁部の内周側に有する
ことを特徴とするガスバーナ。
【請求項8】
請求項1に記載のガスバーナを搭載し、該ガスバーナでの燃焼によって被調理物を加熱する加熱調理器。
発明の詳細な説明
【技術分野】
【0001】
本発明は、燃料ガスと空気との混合ガスの燃焼によって形成される火炎を火炎検知手段で検知可能なガスバーナ、および当該ガスバーナを搭載した加熱調理器に関する。
続きを表示(約 2,600 文字)
【背景技術】
【0002】
燃料ガスと空気との混合ガスを燃焼させるガスバーナは、ガスコンロなどの加熱調理器に搭載されて広く使用されており、混合ガスが供給される環状の混合室を有するバーナボディと、バーナボディに載置されて混合室の上面開口部を覆うバーナヘッドとを備えたものが普及している。バーナヘッドは、外縁部分から下方に向かって筒状に垂設された筒状壁を有し、この筒状壁の下端面には、径方向に横断する炎口溝が周方向に間隔を取って複数凹設されている。一方、バーナボディには、混合室の上面開口部の周囲に環状の載置面が設けられており、バーナヘッドをバーナボディに載置すると、筒状壁の下端面が載置面に当接し、複数の炎口溝と載置面とによって混合室と連通して筒状壁の外周面に開口した複数の炎口が画成される。混合室に供給された混合ガスは炎口から噴出し、点火すると混合ガスの燃焼が開始されて炎口の外側に火炎が形成される。
【0003】
また、ガスバーナでは、火炎(点火)を検知するために熱電対などの火炎検知手段を備えていることが多く、複数の炎口溝のうち所定の隣り合う一対の炎口溝を検知用炎口溝として、筒状壁における一対の検知用炎口溝の間に挟まれた部分(主仕切壁部)の外周面に対向して熱電対を配置したものが知られている。一対の検知用炎口溝と載置面とで画成された一対の検知用炎口の外側に火炎が形成されて熱電対に当たると、熱起電力が発生することから、熱起電力に基づいて火炎を検知し、火炎が検知されなければ、燃料ガスの供給を遮断するようになっている。
【0004】
こうしたガスバーナでは、火力が大きくなると、一対の検知用炎口の火炎同士が結合することがある。結合火炎は、二次空気が不足して燃焼不良となり易いだけでなく、二次空気を求めて長く伸びる傾向にあるため、熱電対に対する火炎の当たり方が変化して検知し難くなってしまう。そこで、主仕切壁部の外周面の上部に凸部を設けることにより、一対の検知用炎口における火炎同士の結合を妨げて2つの火炎に分けることが提案されている(例えば、特許文献1)。
【先行技術文献】
【特許文献】
【0005】
特開2017-20705号公報
【発明の概要】
【発明が解決しようとする課題】
【0006】
しかし、一般的にガスバーナでは、長時間の燃焼によって周囲の温度が上昇するのに伴い、二次空気として膨張した酸素濃度の低い空気が供給される傾向にあり、上述のように一対の検知用炎口の外側に形成される火炎を2つに分けたとしても、不足する酸素を求めて2つの火炎が互いに筒状壁の周方向の外側に離れて広がろうとするため、熱電対から火炎が離れてしまい熱電対によって火炎を検知し難くなるという問題があった。
【0007】
この発明は、従来の技術における上述した課題に対応してなされたものであり、ガスバーナに設置された火炎検知手段による火炎の検知を安定化させることが可能な技術の提供を目的とする。
【課題を解決するための手段】
【0008】
上述した課題を解決するために、本発明のガスバーナは次の構成を採用した。すなわち、
<第1の態様>
燃料ガスと空気との混合ガスが供給される環状の混合室を有するバーナボディと、該バーナボディに載置されて前記混合室の上面開口部を覆うバーナヘッドとを具備し、前記バーナヘッドの外縁部分から下方に向かって筒状に垂設された筒状壁の下端面に、径方向に横断する炎口溝が周方向に間隔を取って複数凹設されていると共に、前記バーナボディにおける前記混合室の前記上面開口部の周囲に環状の載置面が設けられており、前記バーナヘッドを前記バーナボディに載置して前記筒状壁の下端面が前記載置面に当接すると、前記複数の炎口溝と前記載置面とによって前記混合室に連通して前記筒状壁の外周面に開口した複数の炎口が画成され、該炎口から噴出する前記混合ガスの燃焼によって形成される火炎を火炎検知手段で検知可能なガスバーナにおいて、
前記バーナヘッドは、
前記複数の炎口溝のうち所定の隣り合う一対の検知用炎口溝と、
前記筒状壁における前記一対の検知用炎口溝の間に挟まれた主仕切壁部と、
前記筒状壁における前記一対の検知用炎口溝の前記主仕切壁部とは反対側に隣接する一対の副仕切壁部と、
前記筒状壁の外周面の上端部から径方向の外側に延設され、少なくとも前記検知用炎口溝、前記主仕切壁部、および前記副仕切壁部の上方に張り出した庇部と
を備え、
前記火炎検知手段は、前記主仕切壁部の外周面に対向して配置されており、
前記主仕切壁部の外周面の上部から前記バーナヘッドの径方向の外側に前記副仕切壁部の外周面よりも突出して設けられた第1凸部が前記庇部の下面に直結していると共に、
前記一対の副仕切壁部の各々に対応して前記バーナヘッドの径方向の外側に位置する一対の第2凸部が前記庇部の下面から垂設されている
ことを特徴とする。
【0009】
このような第1の態様のガスバーナでは、一対の検知用炎口溝と載置面とで画成される一対の検知用炎口の間に位置する主仕切壁部の外周面の上部に第1凸部を設けることにより、大火力時に一対の検知用炎口における火炎同士の結合を妨げて火炎の先端側(上部)を2つに分けることができる。また、一対の検知用炎口における各々の上部で、噴出する混合ガスが庇部の下面に沿って流れるのに伴い、第1凸部と第2凸部との間に挟まれることから、混合ガスの噴出方向をバーナヘッドの径方向の外側に向けて直進性の向上を図ることができる。こうして噴出する混合ガスを整流することにより、混合ガスの燃焼による2つの火炎がバーナヘッドの周方向の外側に広がることを抑制できるので、火炎検知手段と火炎との距離を適切に維持して火炎検知手段による火炎の検知を安定化させることが可能となる。
【0010】
<第2の態様>
第1の態様のガスバーナにおいて、
前記一対の第2凸部の下端は、前記第1凸部の下端よりも上方に位置している
ことを特徴とする。
(【0011】以降は省略されています)
この特許をJ-PlatPat(特許庁公式サイト)で参照する
関連特許
リンナイ株式会社
加熱調理支援システム
13日前
リンナイ株式会社
ガスバーナ並びに加熱調理器
13日前
リンナイ株式会社
加熱調理器用バーナ並びに加熱調理器
13日前
リンナイ株式会社
加熱調理器用バーナ並びに加熱調理器
13日前
リンナイ株式会社
加熱調理器用バーナ並びに加熱調理器
13日前
個人
燃焼炉の操業方法
2か月前
個人
固形燃料ストーブ
13日前
個人
煙突煤払い掃除機
3か月前
個人
ウッドガスストーブ
1か月前
個人
形見の製造方法
1か月前
コーキ株式会社
煙突
2か月前
株式会社トヨトミ
石油燃焼器
1か月前
株式会社豊田自動織機
耐熱部材
2か月前
株式会社パロマ
燃焼装置
4か月前
株式会社トヨトミ
固体燃料燃焼器
6か月前
株式会社オメガ
熱風発生装置
6か月前
株式会社サイトウ工研
焚き火台
1か月前
三浦工業株式会社
ボイラ
5か月前
個人
有機物酸化分解資源化装置
今日
株式会社フクハラ
充填物処理方法
4か月前
個人
回転キルンを利用した燻炭製造方法
5か月前
株式会社タクマ
付着物除去システム
4か月前
東京パイプ株式会社
着火器具
3か月前
大陽日酸株式会社
バーナ
6か月前
大陽日酸株式会社
バーナ
6か月前
リンナイ株式会社
燃焼装置
5か月前
三浦工業株式会社
燃焼システム
1か月前
山形化成工業株式会社
手持ち式着火用具
2か月前
株式会社アドバンテック
燃焼装置
2か月前
株式会社アドバンテック
燃焼装置
2か月前
大阪瓦斯株式会社
燃焼装置
1か月前
三浦工業株式会社
水素燃焼ボイラ
2か月前
株式会社アドバンテック
燃焼装置
2か月前
三菱重工業株式会社
清掃装置
1か月前
大陽日酸株式会社
燃焼バーナ
2か月前
個人
可燃性ガス燃焼装置
4か月前
続きを見る
他の特許を見る