TOP
|
特許
|
意匠
|
商標
特許ウォッチ
Twitter
他の特許を見る
公開番号
2025132663
公報種別
公開特許公報(A)
公開日
2025-09-10
出願番号
2024030376
出願日
2024-02-29
発明の名称
煙突
出願人
コーキ株式会社
代理人
個人
主分類
F23J
13/00 20060101AFI20250903BHJP(燃焼装置;燃焼方法)
要約
【課題】オーバル形の煙突の内壁に求められる長円筒形に生じるおそれのある歪みを最少限度に抑制する。
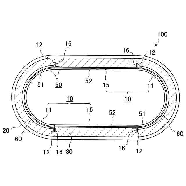
【解決手段】オーバル形の煙突100は、内壁10と、外壁20と、断熱層30、とを有する。内壁10は、半円弧状板体11と平板状板体15とを有する。半円弧状板体11が螺旋方向に延びる複数枚の帯板13を有して、相隣接する帯板13,13同士が螺旋方向に延びるはぜ継ぎによる接合機構40によって結合されている。半円弧状板体11が半円弧状の帯状型板60の内側に重なり合って保形されている。
【選択図】図2
特許請求の範囲
【請求項1】
外壁と薄肉鋼板でなる内壁との間に断熱層が介在されてなるオーバル形の煙突であって、
内壁が、左右一対の平面視半円弧状板体と、これらの半円弧状板体における周方向端部の相互間に配備されて上記半円弧状板体に結合された前後一対の平板状板体と、を有し、
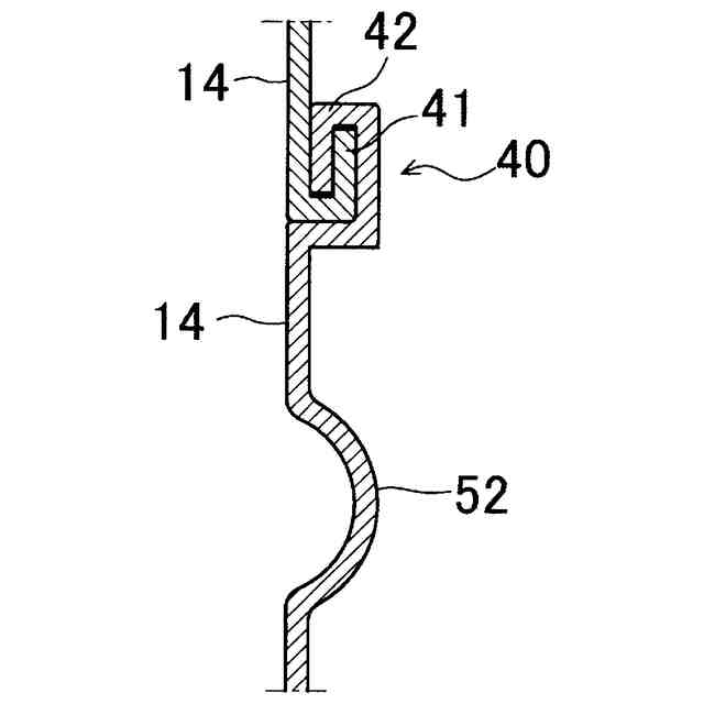
左右一対の上記半円弧状板体のそれぞれが、当該煙突の軸線方向に積み重ねられた螺旋方向に延びる複数枚の帯板を有して、相隣接する帯板同士が螺旋方向に延びるはぜ継ぎによる接合機構によって結合されてなると共に、上記半円弧状板体が、平面視半円弧状の帯状型板の内側に重なり合って保形されていることを特徴とする煙突。
続きを表示(約 290 文字)
【請求項2】
内壁が、左右一対の上記平面視半円弧状板体の内面側に形成された螺旋方向に延びる螺旋凸条と、この螺旋凸条に連続して前後一対の上記平板状板体の内面側に形成された傾斜方向に延びる傾斜凸条と、によって形成された連続凸条を有する請求項1に記載した煙突。
【請求項3】
上記半円弧状板体の周方向両端部に沿ってフランジが接合されており、上記帯状型板が前記フランジに接合されている請求項1または請求項2に記載した煙突。
【請求項4】
上記半円弧状板体と上記平板状板体との結合が、フランジ結合又は溶接接合による結合である請求項3に記載した煙突。
発明の詳細な説明
【技術分野】
【0001】
本発明は、外壁と薄肉鋼板でなる内壁との間に断熱層が介在されてなるオーバル形の煙突に関する。
続きを表示(約 1,700 文字)
【背景技術】
【0002】
排気発生源から送出された排煙や排気ガスなどの排気流を煙道を通じて外部に放出させるための煙突では、その形状として、四角筒形や円筒形、オーバル形のものなどが採用されている。また、従来より、煙突には外壁と薄肉鋼板でなる内壁との間に断熱層が介在されてなるものが知られている。
【0003】
先行例1(特許文献1)には、円筒形の煙突において、薄肉鋼板でなる帯板を螺旋条に巻回することによって内壁を形成すること、螺旋状に巻回されて軸線方向で隣接している薄肉鋼板でなる帯板同士をはぜ継ぎによって結合すること、内壁に螺旋状に延びる連続凸条を形成すること、などが記載されている。
【0004】
先行例2(特許文献2)には、長円筒形に形成されているオーバル形の煙突についての記述があり、オーバル形の煙突が、2つの半円形状の円弧壁部分と2つの等幅の平壁部分とを有していることが記載されている。
【0005】
ところで、オーバル形の煙突は、薄肉鋼板でなる内壁を、左右一対の平面視半円弧状板体と、これらの半円弧状板体における周方向端部の相互間に配備されて上記半円弧状板体に結合された前後一対の平板状板体とによって形成することが可能である。また、左右一対の半円弧状板体は、1つの円筒を径方向で2分割することによって得ることができる。この場合において、1つの円筒を径方向で2分割することによって形成された2つの半円弧状板体のそれぞれは、薄肉鋼板の弾性特性上、常に拡開方向の応力を内在していることがある。
【先行技術文献】
【特許文献】
【0006】
実登第3234312号公報(図1~図3)
実登第3241934号公報(図5、段落0025)
【発明の概要】
【発明が解決しようとする課題】
【0007】
しかしながら、上記のように、薄肉鋼板でなる内壁を、常に拡開方向の応力を内在している半円弧状板体と平板状板体とを結合することによって形成すると、内壁に求められる形状に歪みを生じるおそれがある。
【0008】
本発明は、以上の状況に鑑みてなされたものであり、オーバル形の煙突の内壁に生じるおそれのある歪みを最少限度に抑制することができるのに留まらず、オーバル形の煙突の製作工程で生じることのある障害を解消することに役立つ構成を備えた煙突を提供することを目的としている。特に、薄肉鋼板でなる帯板を螺旋条に巻回することによって形成した1つの円筒を径方向で2分割することによって2つの半円弧状板体を製作するような場合に有益になる構成を備えた煙突を提供することを目的としている。
【課題を解決するための手段】
【0009】
本発明に係る煙突は、外壁と薄肉鋼板でなる内壁との間に断熱層が介在されてなるオーバル形の煙突であって、内壁が、左右一対の平面視半円弧状板体と、これらの半円弧状板体における周方向端部の相互間に配備されて上記半円弧状板体に結合された前後一対の平板状板体と、を有し、左右一対の上記半円弧状板体のそれぞれが、当該煙突の軸線方向に積み重ねられた螺旋方向に延びる複数枚の帯板を有して、相隣接する帯板同士が螺旋方向に延びるはぜ継ぎによる接合機構によって結合されてなると共に、上記半円弧状板体が、平面視半円弧状の帯状型板の内側に重なり合って保形されている、というものである。
【0010】
このように構成された煙突によると、平板状板体に結合されている半円弧状板体が、平面視半円弧状の帯状型板の内側に重なり合って保形されていることにより、仮に半円弧状板体に拡開方向の応力が内在しているとしても、その応力に起因する歪みの発生が最少限度に抑えられる。また、煙突の軸線方向に積み重ねられて螺旋方向に延びる複数枚の帯板同士が、螺旋方向に延びる接合機構によって結合されて一体化されていることにより、上記した帯状型板による保形作用が半円弧状板体の全体に及びやすい。
(【0011】以降は省略されています)
この特許をJ-PlatPat(特許庁公式サイト)で参照する
関連特許
コーキ株式会社
煙突
1か月前
個人
燃焼炉の操業方法
2か月前
個人
煙突煤払い掃除機
3か月前
個人
ウッドガスストーブ
1か月前
コーキ株式会社
煙突
1か月前
個人
形見の製造方法
1か月前
株式会社トヨトミ
石油燃焼器
28日前
株式会社豊田自動織機
耐熱部材
1か月前
株式会社パロマ
燃焼装置
3か月前
株式会社トヨトミ
固体燃料燃焼器
5か月前
株式会社オメガ
熱風発生装置
5か月前
三浦工業株式会社
ボイラ
4か月前
株式会社サイトウ工研
焚き火台
25日前
三浦工業株式会社
ボイラ
7か月前
株式会社フクハラ
充填物処理方法
4か月前
個人
回転キルンを利用した燻炭製造方法
4か月前
株式会社タクマ
付着物除去システム
4か月前
東京パイプ株式会社
着火器具
3か月前
三浦工業株式会社
燃焼システム
25日前
リンナイ株式会社
燃焼装置
4か月前
大陽日酸株式会社
バーナ
5か月前
大陽日酸株式会社
バーナ
5か月前
大陽日酸株式会社
バーナ
5か月前
リンナイ株式会社
予混合装置
6か月前
株式会社アドバンテック
燃焼装置
1か月前
株式会社アドバンテック
燃焼装置
1か月前
株式会社アドバンテック
燃焼装置
1か月前
大阪瓦斯株式会社
燃焼装置
27日前
三浦工業株式会社
水素燃焼ボイラ
1か月前
山形化成工業株式会社
手持ち式着火用具
2か月前
大陽日酸株式会社
燃焼バーナ
2か月前
三菱重工業株式会社
清掃装置
1か月前
個人
可燃性ガス燃焼装置
4か月前
株式会社日本サーモエナー
ガスバーナ
4か月前
株式会社パロマ
給湯器
4か月前
極東開発工業株式会社
バイオマス燃焼システム
25日前
続きを見る
他の特許を見る