TOP
|
特許
|
意匠
|
商標
特許ウォッチ
Twitter
他の特許を見る
10個以上の画像は省略されています。
公開番号
2025144092
公報種別
公開特許公報(A)
公開日
2025-10-02
出願番号
2024043701
出願日
2024-03-19
発明の名称
清掃装置
出願人
三菱重工業株式会社
代理人
個人
,
個人
,
個人
主分類
F23J
3/00 20060101AFI20250925BHJP(燃焼装置;燃焼方法)
要約
【課題】熱による清掃装置の損傷を抑制することを目的とする。
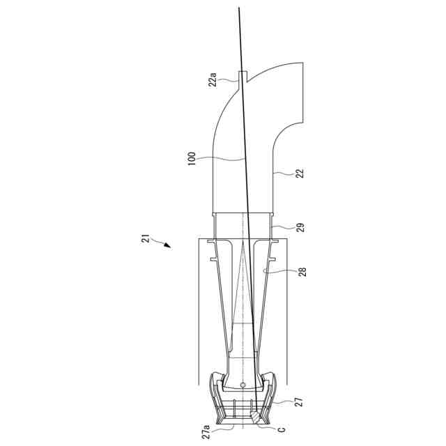
【解決手段】突き棒100は、ボイラに設けられ、火炉内へ燃料及び酸化性ガスを噴射するバーナノズルを有するバーナを清掃する所定方向に沿って延在する長尺状の部材である。突き棒100は、所定方向の一端に位置し、バーナノズルの内部に付着した付着物と当接する先端部50と、所定方向の他端であって、バーナの外部に位置する基端部80と、を備えている。先端部50の内部には、冷却用空気が流通する冷却用空気流路が形成されている。
【選択図】図4
特許請求の範囲
【請求項1】
ボイラに設けられ、火炉内へ燃料又は酸化性ガスを噴射するバーナノズルを有するバーナを清掃する所定方向に沿って延在する長尺状の清掃装置であって、
前記所定方向の一端に位置し、前記バーナノズルの内部に付着した付着物と当接する先端部と、
前記所定方向の他端であって、前記バーナの外部に位置する基端部と、を備え、
前記先端部の内部には、冷却用ガスが流通する冷却用ガス流路が形成されている清掃装置。
続きを表示(約 320 文字)
【請求項2】
前記先端部の外周面に設けられ、紐状の部材で吊下げ可能な吊下部を備える請求項1に記載の清掃装置。
【請求項3】
前記所定方向に沿って複数のパーツに分割可能とされている請求項1または請求項2に記載の清掃装置。
【請求項4】
複数の前記パーツは、前記先端部を備えた第1パーツと、前記第1パーツと接続する第2パーツと、前記第2パーツと接続する第3パーツと、前記基端部を備え、前記第3パーツと接続する第4パーツと、を有し、
前記第1パーツと前記第2パーツとを接続する第1接続部と、前記第3パーツと前記第4パーツとを接続する第2接続部とは、同じ構造とされている請求項3に記載の清掃装置。
発明の詳細な説明
【技術分野】
【0001】
本開示は、清掃装置に関するものである。
続きを表示(約 1,500 文字)
【背景技術】
【0002】
発電用ボイラなどの大型のボイラは、中空形状をなして鉛直方向に設置される火炉を有し、この火炉壁に複数のバーナが火炉の周方向に沿って配設されている。また、大型のボイラは、火炉の鉛直方向上方に煙道が連結されており、この煙道に蒸気を生成するための熱交換器が配置されている。そして、バーナが火炉内に燃料と空気(酸化性ガス)との混合気を噴射することで火炎が形成され、燃焼ガスが生成されて煙道に流れる。燃焼ガスが流れる領域に熱交換器が設置され、熱交換器を構成する伝熱管内を流れる水や蒸気を加熱して過熱蒸気が生成される。
【0003】
このようなボイラでは、灰分を含む燃料(例えば、石炭等)をバーナで燃焼する場合、燃焼により灰が発生する。発生した灰は、ボイラ内の部品表面に付着・堆積し、その後に固化する。固化した灰は、種々の問題を発生させるために、固化した灰を除去すること知られている(例えば、特許文献1)。
【0004】
特許文献1には、水冷ノズルの先端周囲、即ち、燃料ノズルの先端外周に、燃料中に含まれる灰分が溶融してスラグとなって付着・固化することから、スラグが付着・固化した場合、燃焼を止めることなく燃料を供給した状態で、エアシリンダにより燃料ノズルを炉内側に突出させてスラグに衝突させ、燃料ノズルによってスラグを直接除去する方法が記載されている。
【先行技術文献】
【特許文献】
【0005】
特開2002-161284号公報
【発明の概要】
【発明が解決しようとする課題】
【0006】
ボイラ等において、燃焼で発生した灰が、燃料や空気を火炉内に噴出するバーナノズルの開口部を介して、バーナノズルの内部に流入し、堆積・固着する場合がある。バーナノズル内部に灰が堆積・固着すると、燃料や空気を噴出するバーナノズルの開口部を閉塞させてしまう可能性があった。
【0007】
バーナノズル開口部の閉塞を抑制するために、バーナノズルの内部に棒状の清掃装置(以下、「突き棒」と称する。)を挿入し、堆積・固着した灰(以下、「クリンカ」と称する)を突き棒で押圧することで、バーナノズルの内部から除去することが考えられる。しかしながら、バーナノズルは火炉に面するように設けられていることから、内部に挿入する突き棒は、火炉内の高温雰囲気や輻射熱に曝され、高温になり易かった。このため、突き棒が火炉から受ける熱によって損傷する可能性があった。
【0008】
本開示は、このような事情に鑑みてなされたものであって、火炉から受ける熱による清掃装置の損傷を抑制することができる清掃装置を提供することを目的とする。
【課題を解決するための手段】
【0009】
上記課題を解決するために、本開示の清掃装置は以下の手段を採用する。
本開示の一態様に係る清掃装置は、ボイラに設けられ、火炉内へ燃料又は酸化性ガスを噴射するバーナノズルを有するバーナを清掃する所定方向に沿って延在する長尺状の清掃装置であって、前記所定方向の一端に位置し、前記バーナノズルの内部に付着した付着物と当接する先端部と、前記所定方向の他端であって、前記バーナの外部に位置する基端部と、を備え、前記先端部の内部には、冷却用ガスが流通する冷却用ガス流路が形成されている。
【発明の効果】
【0010】
本開示によれば、火炉から受ける熱による清掃装置の損傷を抑制することができる。
【図面の簡単な説明】
(【0011】以降は省略されています)
この特許をJ-PlatPat(特許庁公式サイト)で参照する
関連特許
三菱重工業株式会社
ボイラ壁
12日前
三菱重工業株式会社
動力装置
15日前
三菱重工業株式会社
燃焼筒の取付方法
12日前
三菱重工業株式会社
ガスタービン起動方法
8日前
三菱重工業株式会社
蒸気タービンシステム
8日前
三菱重工業株式会社
燃焼設備および制御方法
14日前
三菱重工業株式会社
ガス処理装置および方法
6日前
三菱重工業株式会社
軸流圧縮機、及びその動翼
今日
三菱重工業株式会社
計測システムおよび計測方法
6日前
三菱重工業株式会社
レドックスフロー電池システム
12日前
三菱重工業株式会社
水素吸蔵材料および原子力設備
7日前
三菱重工業株式会社
インバータ装置及びその保護方法
6日前
三菱重工業株式会社
演算方法、プログラム及び演算装置
14日前
三菱重工業株式会社
インバータ基板及びインバータ装置
6日前
三菱重工業株式会社
電動ファンおよび電動垂直離着陸機
9日前
三菱重工業株式会社
補修方法、プログラム、及び補修装置
今日
三菱重工業株式会社
RPB装置及び酸性ガス回収システム
6日前
三菱重工業株式会社
燃料製造システム、及び燃料製造方法
1日前
三菱重工業株式会社
合流支援システム、および合流支援方法
1日前
三菱重工業株式会社
ガスタービン発電プラント、及びその運転方法
12日前
三菱重工業株式会社
水電解システム、及び水電解システムの運転方法
6日前
三菱重工業株式会社
触媒及びその製造方法、並びに炭化水素の製造方法
7日前
三菱重工業株式会社
制御装置、制御方法、監視システム及びプログラム
7日前
三菱重工業株式会社
二酸化炭素回収システム及び二酸化炭素回収システムの運転方法
今日
三菱重工業株式会社
制御装置、ガスタービンの燃料供給設備、制御方法及びプログラム
9日前
三菱重工業株式会社
多ビーム位相差計測装置及びこれを備えたレーザビーム制御システム
6日前
三菱重工業株式会社
流路形成板、分割環、静翼、ガスタービン、及び流路形成板の製造方法
13日前
三菱重工業株式会社
フォールトツリー作成方法、フォールトツリー作成装置およびプログラム
12日前
三菱重工業株式会社
シミュレータ、シミュレーション方法、及びコンピュータ読み取り可能な記録媒体
13日前
三菱重工業株式会社
電解セルスタック、電解セルカートリッジ、電解セルモジュールおよび電解セルスタックの製造方法
6日前
三菱重工業株式会社
電気化学セルスタック、それを備えた電気化学セルカートリッジおよび電気化学セルモジュール、ならびにその製造方法、燃料電池セルスタック、共電解セルスタック
6日前
個人
燃焼炉の操業方法
2か月前
個人
煙突煤払い掃除機
3か月前
個人
ウッドガスストーブ
1か月前
個人
形見の製造方法
1か月前
コーキ株式会社
煙突
1か月前
続きを見る
他の特許を見る