TOP
|
特許
|
意匠
|
商標
特許ウォッチ
Twitter
他の特許を見る
10個以上の画像は省略されています。
公開番号
2025165312
公報種別
公開特許公報(A)
公開日
2025-11-04
出願番号
2024069357
出願日
2024-04-22
発明の名称
合流支援システム、および合流支援方法
出願人
三菱重工業株式会社
代理人
個人
,
個人
,
個人
,
個人
,
個人
主分類
G08G
1/16 20060101AFI20251027BHJP(信号)
要約
【課題】本線車両の運転状態が自動運転であるか手動運転であるかに応じて、合流車両が本線の交通流の効率を低下させないように合流するか、本線車両の運転者にストレスを与えないように合流するかを切り替可能な合流支援システムを提供する。
【解決手段】合流支援システムは、本線車両を検知するセンサと、本線車両情報を生成する本線制御装置と、前記本線車両の運転状態を含む属性情報と、前記本線車両情報とを含む合流支援情報を生成する合流車線制御装置と、合流車両に向けて前記合流支援情報を配信する合流車線通信装置と、前記本線車両が自動運転である場合に、前記本線の交通流の効率低下を抑制する第1条件を満たす合流スペースを設定し、前記本線車両が手動運転である場合に、前記本線車両の運転者へストレスを与えることを抑制する第2条件を満たす合流スペースを設定する合流車両の車載器と、を備える。
【選択図】図1
特許請求の範囲
【請求項1】
本線と、前記本線に合流する合流車線とを含む道路において、前記本線を走行する本線車両を検知するセンサと、
前記センサから取得したセンサ情報に基づいて、前記本線車両の位置および速度を含む本線車両情報を生成する本線制御装置と、
前記本線車両が自動運転であるか手動運転であるかを示す運転状態を含む属性情報と、前記本線制御装置から取得した前記本線車両情報とを含む合流支援情報を生成する合流車線制御装置と、
前記合流車線を走行する合流車両に向けて前記合流支援情報を配信する合流車線通信装置と、
受信した前記合流支援情報に基づいて前記本線車両の前方または後方で前記合流車両が合流可能となる合流スペースを設定する合流車両の車載器と、
を備え、
前記合流車両の車載器は、
前記本線車両の運転状態が自動運転である場合に、前記本線の交通流の効率低下を抑制する第1条件を満たす合流スペースを設定し、
前記本線車両の運転状態が手動運転である場合に、前記本線車両の運転者へストレスを与えることを抑制する第2条件を満たす合流スペースを設定する、
合流支援システム。
続きを表示(約 1,700 文字)
【請求項2】
前記本線車両の車載器から無線通信により前記属性情報を取得する本線通信装置をさらに備え、
前記合流車線制御装置は、
前記本線通信装置を介して前記本線車両の車載器から前記属性情報を取得した場合に、当該属性情報と同じタイミングで取得した前記本線車両情報に基づいて、当該属性情報を前記本線通信装置の通信領域に位置する本線車両と関連付けて前記合流支援情報に追加し、
前記本線通信装置の通信領域を通過済みであり、前記属性情報が関連付けられていない本線車両がある場合に、当該本線車両の運転状態を手動運転とした属性情報を生成して前記合流支援情報に追加する、
請求項1に記載の合流支援システム。
【請求項3】
前記合流車両の車載器は、
運転状態が自動運転である本線車両と、当該本線車両の前方を走行する前方側車両との車間距離が第1閾値以上であるスペースを、前記第1条件を満たす合流スペースとして設定し、
運転状態が自動運転である本線車両と、当該本線車両の前方を走行する前方側車両との車間距離が前記第1閾値よりも大きい第2閾値以上であるスペースを、前記第2条件を満たす合流スペースとして設定する、
請求項1に記載の合流支援システム。
【請求項4】
前記合流車両の車載器は、前記本線車両の前方で前記第1条件または前記第2条件を満たす合流スペースがない場合に、前記本線車両の後方で前記第1条件または前記第2条件を満たす合流スペースを設定する、
請求項3に記載の合流支援システム。
【請求項5】
前記本線車両の前記属性情報は、前記本線車両の車種を示す情報をさらに含み、
前記合流車両の車載器は、前記本線車両が所定車種である場合に、前記本線車両の後方で前記第1条件または前記第2条件を満たす合流スペースを設定する、
請求項1から4のいずれか一項に記載の合流支援システム。
【請求項6】
前記本線車両に搭載される車載器をさらに備え、
前記合流車線通信装置は、前記合流車両の車載器から前記合流車両の運転状態を含む属性情報と、前記合流車両の合流スペースを示す情報とを取得し、
前記合流車線制御装置は、前記合流車線通信装置を介して取得した前記合流車両の前記属性情報および前記合流スペースを示す情報を含む合流車両情報を生成し、
前記本線通信装置は、前記本線車両の車載器から前記属性情報を取得する第1本線通信装置と、前記第1本線通信装置よりも下流側に設けられ、前記合流車線制御装置が生成した前記合流車両情報を前記本線車両へ配信する第2本線通信装置とを有し、
前記本線車両の車載器は、前記本線車両の運転状態が自動運転である場合に、前記合流車両情報に基づいて、前記合流車両の合流スペースを維持するように前記本線車両に指示する、
請求項2に記載の合流支援システム。
【請求項7】
本線と、前記本線に合流する合流車線とを含む道路において、前記本線を走行する本線車両を検知するステップと、
前記本線車両を検知したセンサ情報に基づいて、前記本線車両の位置および速度を含む本線車両情報を生成するステップと、
前記本線車両が自動運転であるか手動運転であるかを示す運転状態を含む属性情報と、前記本線車両情報とを含む合流支援情報を生成するステップと、
前記合流車線を走行する合流車両に向けて前記合流支援情報を配信するステップと、
受信した前記合流支援情報に基づいて前記本線車両の前方または後方で前記合流車両が合流可能となる合流スペースを設定するステップと、
を有し、
前記合流スペースを設定するステップは、
前記本線車両の運転状態が自動運転である場合に、前記本線の交通流の効率低下を抑制する第1条件を満たす合流スペースを設定し、
前記本線車両の運転状態が手動運転である場合に、前記本線車両の運転者へストレスを与えることを抑制する第2条件を満たす合流スペースを設定する、
合流支援方法。
発明の詳細な説明
【技術分野】
【0001】
本開示は、合流支援システム、および合流支援方法に関する。
続きを表示(約 2,700 文字)
【背景技術】
【0002】
高速道路の合流区間では、合流車線を走行する車両(合流車両)は、本線を走行する車両(本線車両)の状況を確認しながら本流に合流する必要がある。例えば特許文献1には、本線に設けられたセンサで本線車両の位置、速度、合流区間の始点(合流開始地点)への到達時刻等を求め、合流支援情報として合流車両へ提供する技術が記載されている。
【先行技術文献】
【特許文献】
【0003】
特開2020-060839号公報
【発明の概要】
【発明が解決しようとする課題】
【0004】
また、特許文献1には、合流車両の自動運転制御部が、合流支援情報に基づいて本線車両間に自車が合流可能な合流スペース(車間距離)が十分にあると判定した場合に、合流車両の位置や速度を自動的に制御してこの合流スペースに合流することが記載されている。しかしながら、合流車両の自動運転制御部(コンピュータ)が十分な合流スペースがあると判定した場合であっても、本線車両の運転者(人間)の感覚では自車両の前に十分な合流スペースがないと感じる可能性がある。そうすると、特に本線車両が手動運転車両である場合には、合流車両が本線車両の前に急に割り込んで来たように感じさせてしまい、本線車両の運転者にストレスを与える可能性がある。一方で、合流車両がなるべく本線車両の運転者にストレスを与えないように合流しようとする場合、合流車両と本線車両との車間距離を広く確保する必要があり、自動運転時よりも合流区間(本線)の交通流の効率が低下する場合がある。
【0005】
本開示の目的は、本線車両の運転状態が自動運転であるか手動運転であるかに応じて、合流車両が本線の交通流の効率を低下させないように合流するか、本線車両の運転者にストレスを与えないように合流するかを切り替えさせることができる合流支援システム、および合流支援方法を提供することにある。
【課題を解決するための手段】
【0006】
本開示の一態様によれば、合流支援システムは、本線と、前記本線に合流する合流車線とを含む道路において、前記本線を走行する本線車両を検知するセンサと、前記センサから取得したセンサ情報に基づいて、前記本線車両の位置および速度を含む本線車両情報を生成する本線制御装置と、前記本線車両が自動運転であるか手動運転であるかを示す運転状態を含む属性情報と、前記本線制御装置から取得した前記本線車両情報とを含む合流支援情報を生成する合流車線制御装置と、前記合流車線を走行する合流車両に向けて前記合流支援情報を配信する合流車線通信装置と、受信した前記合流支援情報に基づいて前記本線車両の前方または後方で前記合流車両が合流可能となる合流スペースを設定する合流車両の車載器と、を備え、前記合流車両の車載器は、前記本線車両の運転状態が自動運転である場合に、前記本線の交通流の効率低下を抑制する第1条件を満たす合流スペースを設定し、前記本線車両の運転状態が手動運転である場合に、前記本線車両の運転者へストレスを与えることを抑制する第2条件を満たす合流スペースを設定する。
【0007】
本開示の一態様によれば、合流支援方法は、本線と、前記本線に合流する合流車線とを含む道路において、前記本線を走行する本線車両を検知するステップと、前記本線車両を検知したセンサ情報に基づいて、前記本線車両の位置および速度を含む本線車両情報を生成するステップと、前記本線車両が自動運転であるか手動運転であるかを示す運転状態を含む属性情報と、前記本線車両情報とを含む合流支援情報を生成するステップと、前記合流車線を走行する合流車両に向けて前記合流支援情報を配信するステップと、受信した前記合流支援情報に基づいて前記本線車両の前方または後方で前記合流車両が合流可能となる合流スペースを設定するステップと、を有し、前記合流スペースを設定するステップは、前記本線車両の運転状態が自動運転である場合に、前記本線の交通流の効率低下を抑制する第1条件を満たす合流スペースを設定し、前記本線車両の運転状態が手動運転である場合に、前記本線車両の運転者へストレスを与えることを抑制する第2条件を満たす合流スペースを設定する。
【発明の効果】
【0008】
上記態様によれば、本線車両の運転状態が自動運転であるか手動運転であるかに応じて、合流車両が本線の交通流の効率を低下させないように合流するか、本線車両の運転者にストレスを与えないように合流するかを切り替えさせることができる。
【図面の簡単な説明】
【0009】
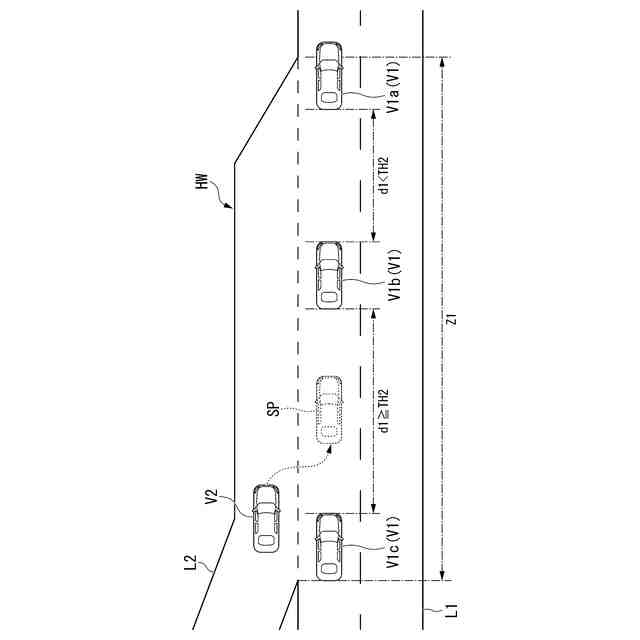
第1の実施形態に係る合流支援システムの全体構成を示す概略図である。
第1の実施形態に係る合流支援システムの処理の流れを説明するための概略図である。
第1の実施形態に係る本線制御装置の処理の一例を示すフローチャートである。
第1の実施形態に係る本線車両の車載器の処理の一例を示すフローチャートである。
第1の実施形態に係る合流車線制御装置の処理の一例を示すフローチャートである。
第1の実施形態に係る合流車両の車載器の処理の一例を示すフローチャートである。
第1の実施形態に係る合流車両の合流スペースの一例を示す第1の図である。
第1の実施形態に係る合流車両の合流スペースの一例を示す第2の図である。
第1の実施形態の変形例に係る合流車両の車載器の処理の一例を示すフローチャートである。
第2の実施形態に係る合流支援システムの全体構成を示す概略図である。
第2の実施形態に係る合流支援システムの処理の流れを説明するための概略図である。
第2の実施形態に係る合流車両の車載器の処理の一例を示すフローチャートである。
第2の実施形態に係る合流車線制御装置の処理の一例を示すフローチャートである。
第2の実施形態に係る本線車両の車載器の処理の一例を示すフローチャートである。
少なくとも1つの実施形態に係るコンピュータの構成を示す概略ブロック図である。
【発明を実施するための形態】
【0010】
<第1の実施形態>
以下、図1~図8を参照しながら実施形態について詳しく説明する。
(【0011】以降は省略されています)
この特許をJ-PlatPat(特許庁公式サイト)で参照する
関連特許
個人
安全支援装置
25日前
個人
自動電動車椅子
2か月前
株式会社SUBARU
車両
1か月前
ニッタン株式会社
検知器
1か月前
日本無線株式会社
船舶システム
26日前
個人
磁気路上での車両の路線離脱防御
2か月前
日本信号株式会社
異常走行検出装置
2か月前
株式会社SUBARU
運転支援装置
2か月前
トヨタ自動車株式会社
サーバ
1か月前
ダイハツ工業株式会社
移動支援装置
1か月前
大阪瓦斯株式会社
音声出力システム
1か月前
トヨタ自動車株式会社
サーバ
2か月前
三菱自動車工業株式会社
制御システム
1か月前
日本精機株式会社
報知装置及び報知システム
2か月前
株式会社CCT
通信装置及び表示方法
1か月前
株式会社デンソー
運航管理装置
1か月前
株式会社 ミックウェア
車内環境制御システム
1か月前
株式会社SUBARU
事故情報収集装置
1か月前
トヨタ自動車株式会社
通信システム
3日前
オ,ウォンチョル
交通信号システム
2日前
株式会社SUBARU
車室内異常検知装置
1か月前
ホーチキ株式会社
火災検出システム
1か月前
株式会社デンソー
運転評価支援装置
2日前
シャープ株式会社
駐車制御装置
2か月前
株式会社関電工
車両運行通知システム
1か月前
大阪瓦斯株式会社
音声出力装置
1か月前
能美防災株式会社
火災感知器及び火災報知システム
1か月前
株式会社豊田中央研究所
注意喚起装置
2か月前
能美防災株式会社
着脱式避難誘導灯
1か月前
本田技研工業株式会社
作業システム
1か月前
パイオニア株式会社
情報処理装置
2か月前
コイト電工株式会社
情報処理装置
1か月前
パイオニア株式会社
情報処理装置
2か月前
株式会社スターオークス
補助信号機及び信号機
23日前
グローリー株式会社
監視システム
2日前
ALSOK株式会社
警備システム及び警備方法
2か月前
続きを見る
他の特許を見る