TOP
|
特許
|
意匠
|
商標
特許ウォッチ
Twitter
他の特許を見る
10個以上の画像は省略されています。
公開番号
2025164035
公報種別
公開特許公報(A)
公開日
2025-10-30
出願番号
2024067754
出願日
2024-04-18
発明の名称
計測システムおよび計測方法
出願人
三菱重工業株式会社
代理人
個人
,
個人
,
個人
,
個人
,
個人
主分類
G01C
3/06 20060101AFI20251023BHJP(測定;試験)
要約
【課題】計測における手間を省くことができる計測システムおよび計測方法を提供する。
【解決手段】計測システムは、撮像画像を取得する取得部と、所定の識別情報を含む1または複数のマーカを含む時系列の所定の複数の撮像画像が取得されたか否かを判定する判定部と、複数の撮像画像が取得された場合、時系列の複数の撮像画像に基づいて1または複数のマーカに対応付けられた所定範囲の変位量を算出する変位量算出部と、を備える。
【選択図】図1
特許請求の範囲
【請求項1】
撮像画像を取得する取得部と、
所定の識別情報を含む1または複数のマーカを含む時系列の所定の複数の前記撮像画像が取得されたか否かを判定する判定部と、
前記複数の撮像画像が取得された場合、前記時系列の複数の撮像画像に基づいて前記1または複数のマーカに対応付けられた所定範囲の変位量を算出する変位量算出部と、
を備える計測システム。
続きを表示(約 930 文字)
【請求項2】
前記変位量の算出結果に基づく所定の情報を前記識別情報に対応付けて出力する出力部を、
さらに備える請求項1に記載の計測システム。
【請求項3】
前記判定部は、前記識別情報が登録済みであるか否かを判定し、登録済みでない場合、前記識別情報に対応付けて所定の登録情報を登録する
請求項2に記載の計測システム。
【請求項4】
前記変位量算出部は、前記撮像画像に含まれている前記マーカの大きさ、または、複数の前記マーカ間の距離に基づいて前記変位量を補正する
請求項3に記載の計測システム。
【請求項5】
前記マーカは、互いに異なる複数の方向に対向する複数の部分マーカを含み、
前記取得部は、前記部分マーカを互いに異なる複数の撮像位置から撮像した複数系列の時系列の複数の撮像画像を取得し、
前記変位量算出部は、前記複数系列の時系列の複数の撮像画像に基づいて3次元の前記変位量を算出する
請求項4に記載の計測システム。
【請求項6】
前記複数系列の時系列の複数の撮像画像は、互いに異なる3以上の位置に付けられた3以上の座標基準マーカを含み、
前記変位量算出部は、3以上の前記座標基準マーカを基準として、前記3次元の変位量を算出する
請求項5に記載の計測システム。
【請求項7】
前記撮像画像は、前記マーカが付けられている対象物より変位量が小さい基準物に付けられた基準物マーカを含み、
前記変位量算出部は、前記基準物マーカの画素位置を基準として前記変位量を補正する
請求項1~6のいずれか1項に記載の計測システム。
【請求項8】
撮像画像を取得するステップと、
所定の識別情報を含む1または複数のマーカを含む時系列の所定の複数の前記撮像画像が取得されたか否かを判定するステップと、
前記複数の撮像画像が取得された場合、前記時系列の複数の撮像画像に基づいて前記1または複数のマーカに対応付けられた所定範囲の変位量を算出するステップと、
を含む計測方法。
発明の詳細な説明
【技術分野】
【0001】
本開示は、計測システムおよび計測方法に関する。
続きを表示(約 1,700 文字)
【背景技術】
【0002】
特許文献1および特許文献2には、マーカを撮像した時系列の複数の画像に基づいて、振動や変位を計測する技術が開示されている。特許文献1に記載されている計測システムでは、時系列のマーカ画像間の速度データが時空間微分法によって解析される。特許文献2に記載されている変位量算出装置では、変位量算出モデルを用いて、観測対象物に対して予め定められた模様が付されたマーカが添付された観測対象部分を含んだ複数の画像データから観測対象部分の変位量が算出される。特許文献1および特許文献2に記載されている計測手法では、計測対象物に所定のマーカを付けることで振動や変位を精度良く計測することができる。
【先行技術文献】
【特許文献】
【0003】
特開2008-232780号公報
特開2023-37848号公報
【発明の概要】
【発明が解決しようとする課題】
【0004】
ところで、上述したような計測において、例えば1つの計測対象物に複数のマーカが付けられている場合に計測が必要なマーカが複数の中の一部であるとき、あるいは、マーカが付けられた計測対象物が複数ある場合に計測が必要な計測対象物が一部であるときには、撮影すべきマーカを特定することが煩雑となる場合があるという課題があった。
【0005】
本開示は、上記事情に鑑みてなされたものであって、計測における手間を省くことができる計測システムおよび計測方法を提供することを目的とする。
【課題を解決するための手段】
【0006】
上記課題を解決するために、本開示に係る計測システムは、撮像画像を取得する取得部と、所定の識別情報を含む1または複数のマーカを含む時系列の所定の複数の前記撮像画像が取得されたか否かを判定する判定部と、前記複数の撮像画像が取得された場合、前記時系列の複数の撮像画像に基づいて前記1または複数のマーカに対応付けられた所定範囲の変位量を算出する変位量算出部と、を備える。
【0007】
本開示に係る計測方法は、撮像画像を取得するステップと、所定の識別情報を含む1または複数のマーカを含む時系列の所定の複数の前記撮像画像が取得されたか否かを判定するステップと、前記複数の撮像画像が取得された場合、前記時系列の複数の撮像画像に基づいて前記1または複数のマーカに対応付けられた所定範囲の変位量を算出するステップと、を含む。
【発明の効果】
【0008】
本開示の計測システムおよび計測方法によれば、計測における手間を省くことができる。
【図面の簡単な説明】
【0009】
本開示の実施形態に係る計測システムのブロック図である。
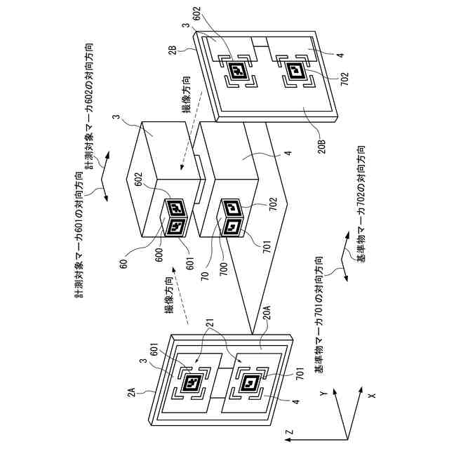
本開示の第1実施形態に係る撮像装置と計測対象物の例を示す斜視図である。
本開示の第1実施形態に係る計測装置の動作例を示すフローチャートである。
本開示の第1実施形態に係る撮像装置と計測対象物の他の例を示す斜視図である。
本開示の第1実施形態に係る撮像装置と計測対象物の他の例を示す斜視図である。
本開示の第1実施形態に係る計測装置の他の動作例を示すフローチャートである。
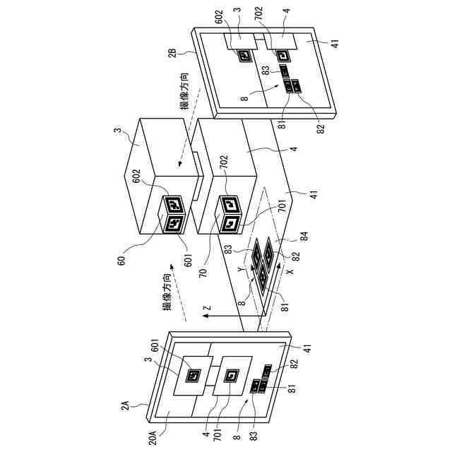
本開示の第2実施形態に係る撮像装置と計測対象物の例を示す斜視図である。
本開示の第2実施形態に係る変位量算出部の動作例を示すフローチャートである。
本開示の第3実施形態に係る撮像装置と計測対象物の例を示す斜視図である。
本開示の第3実施形態に係る変位量算出部の動作例を示すフローチャートである。
本開示の第4実施形態に係る撮像装置と計測対象物の例を示す斜視図である。
少なくとも1つの実施形態に係るコンピュータの構成を示す概略ブロック図である。
【発明を実施するための形態】
【0010】
以下、本開示の実施形態に係る計測システムおよび計測方法について、各図を参照して説明する。なお、各図において同一または対応する構成には同一の符号を用いて説明を適宜省略する。
(【0011】以降は省略されています)
この特許をJ-PlatPat(特許庁公式サイト)で参照する
関連特許
三菱重工業株式会社
原子炉
11日前
三菱重工業株式会社
施工方法
17日前
三菱重工業株式会社
石膏脱水システム
17日前
三菱重工業株式会社
ガスタービン起動方法
26日前
三菱重工業株式会社
蒸気タービンシステム
26日前
三菱重工業株式会社
アンモニア除害システム
17日前
三菱重工業株式会社
シール装置及び回転機械
16日前
三菱重工業株式会社
ガス処理装置および方法
24日前
三菱重工業株式会社
原子炉炉心および原子炉
11日前
三菱重工業株式会社
軸流圧縮機、及びその動翼
18日前
三菱重工業株式会社
計測システムおよび計測方法
24日前
三菱重工業株式会社
水素吸蔵材料および原子力設備
25日前
三菱重工業株式会社
支持部材及び接着剤の監視方法
17日前
三菱重工業株式会社
インバータ装置及びその保護方法
24日前
三菱重工業株式会社
インバータ基板及びインバータ装置
24日前
三菱重工業株式会社
RPB装置及び酸性ガス回収システム
24日前
三菱重工業株式会社
燃料製造システム、及び燃料製造方法
19日前
三菱重工業株式会社
補修方法、プログラム、及び補修装置
18日前
三菱重工業株式会社
圧縮機の静翼セグメント、及び圧縮機
17日前
三菱重工業株式会社
検査システム、検査方法及びプログラム
3日前
三菱重工業株式会社
合流支援システム、および合流支援方法
19日前
三菱重工業株式会社
超音波探傷装置、および超音波探傷方法
16日前
三菱重工業株式会社
水電解システム、及び水電解システムの運転方法
24日前
三菱重工業株式会社
静翼セグメント、及びこれを備える蒸気タービン
9日前
三菱重工業株式会社
制御装置、制御方法、監視システム及びプログラム
25日前
三菱重工業株式会社
触媒及びその製造方法、並びに炭化水素の製造方法
25日前
三菱重工業株式会社
放射性物質取扱設備施工方法および放射性物質取扱設備
3日前
三菱重工業株式会社
脱硝触媒、及び燃焼排ガスから窒素酸化物を除去する方法
3日前
三菱重工業株式会社
ガスタービンシステム、及び、ガスタービンシステム制御方法
3日前
三菱重工業株式会社
二酸化炭素回収システム及び二酸化炭素回収システムの運転方法
18日前
三菱重工業株式会社
多ビーム位相差計測装置及びこれを備えたレーザビーム制御システム
24日前
三菱重工業株式会社
温度制御装置、温度制御システム、温度制御方法、およびプログラム
3日前
三菱重工業株式会社
レーザ照射装置、レーザ照射システム、レーザ照射方法、およびプログラム
16日前
三菱重工業株式会社
プラント制御支援装置、プラント制御支援方法、及び、プラント制御支援プログラム
17日前
三菱重工業株式会社
プラント制御支援装置、プラント制御支援方法、及び、プラント制御支援プログラム
17日前
三菱重工業株式会社
電解セルスタック、電解セルカートリッジ、電解セルモジュールおよび電解セルスタックの製造方法
24日前
続きを見る
他の特許を見る