TOP
|
特許
|
意匠
|
商標
特許ウォッチ
Twitter
他の特許を見る
公開番号
2025169160
公報種別
公開特許公報(A)
公開日
2025-11-12
出願番号
2025055983
出願日
2025-03-28
発明の名称
原子炉
出願人
三菱重工業株式会社
代理人
弁理士法人酒井国際特許事務所
主分類
G21C
5/00 20060101AFI20251105BHJP(核物理;核工学)
要約
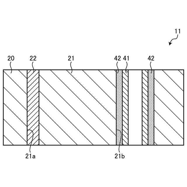
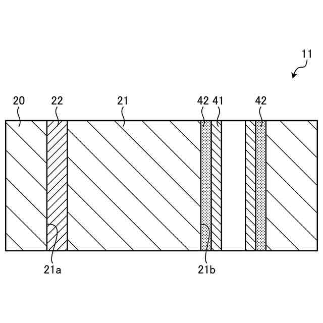
【課題】熱伝導性能を確保しつつ熱伸び差を吸収すること。
【解決手段】核燃料22および核燃料22の熱を伝える支持体21を含む炉心11と、支持体21に形成された孔部21bに挿入される伝熱管41と、孔部21bにおいて支持体21と伝熱管41との間に詰めて設けられて相互間の熱伸び差を吸収し、かつ伝熱性能を有する隙間材42と、を含む。
【選択図】図5
特許請求の範囲
【請求項1】
核燃料および前記核燃料の熱を伝える支持体を含む炉心と、
前記支持体に形成された孔部に挿入される伝熱管と、
前記孔部において前記支持体と前記伝熱管との間に詰めて設けられて相互間の熱伸び差を吸収し、かつ伝熱性能を有する隙間材と、
を含む、原子炉。
続きを表示(約 540 文字)
【請求項2】
前記炉心を収容する原子炉容器と、
前記原子炉容器の内部に配置され前記伝熱管に接続される配管と、
前記配管に介在されて前記炉心と前記原子炉容器との間に生じ得る変位を吸収する伸縮管と、
をさらに含む、請求項1に記載の原子炉。
【請求項3】
前記隙間材は、銅、ボロンナイトライド、固体潤滑剤ペースト、カーボンナノチューブ、のいずれかからなる、
請求項1に記載の原子炉。
【請求項4】
前記隙間材は、粉末状の黒鉛からなる、
請求項1に記載の原子炉。
【請求項5】
前記支持体は、黒鉛またはグラフェンからなる、
請求項1に記載の原子炉。
【請求項6】
前記配管は、前記伝熱管が前記炉心を貫通した一端が接続される入口マニホールドおよび他端が接続される出口マニホールドに設けられ、
前記入口マニホールドまたは前記出口マニホールドの一方が前記原子炉容器に固定されて他方が前記原子炉容器に対して移動可能に支持されており、
前記伸縮管は、前記原子炉容器に対して移動可能な前記マニホールドに設けられた前記配管に介在される、
請求項2に記載の原子炉。
発明の詳細な説明
【技術分野】
【0001】
本開示は、原子炉に関する。
続きを表示(約 1,000 文字)
【背景技術】
【0002】
例えば、特許文献1には、核燃料部と、熱伝導部とを備え、熱伝導部が燃料部から突出して設けられる原子炉が記載されている。
【先行技術文献】
【特許文献】
【0003】
特許第7426323号公報
【発明の概要】
【発明が解決しようとする課題】
【0004】
特許文献1に記載の原子炉は、核燃料部から熱伝導部に熱を固体熱伝導で伝える。このような原子炉において、各燃料部と熱伝導部とで熱伸び差があると、膨張の大きい一方によって膨張の小さい他方に負荷が生じることとなる。そのため、双方の間に隙間を設けることが考えられるが、固体熱伝導は、双方の接触がないと熱伝導性能を確保できない。
【0005】
本開示は、上述した課題を解決するものであり、熱伝導性能を確保しつつ熱伸び差を吸収することのできる原子炉を提供することを目的とする。
【課題を解決するための手段】
【0006】
上述の目的を達成するために、本開示の一態様に係る原子炉は、核燃料および前記核燃料の熱を伝える支持体を含む炉心と、前記支持体に形成された孔部に挿入される伝熱管と、前記孔部において前記支持体と前記伝熱管との間に詰めて設けられて相互間の熱伸び差を吸収し、かつ伝熱性能を有する隙間材と、を含む。
【発明の効果】
【0007】
本開示は、熱伝導性能を確保しつつ熱伸び差を吸収することができる。
【図面の簡単な説明】
【0008】
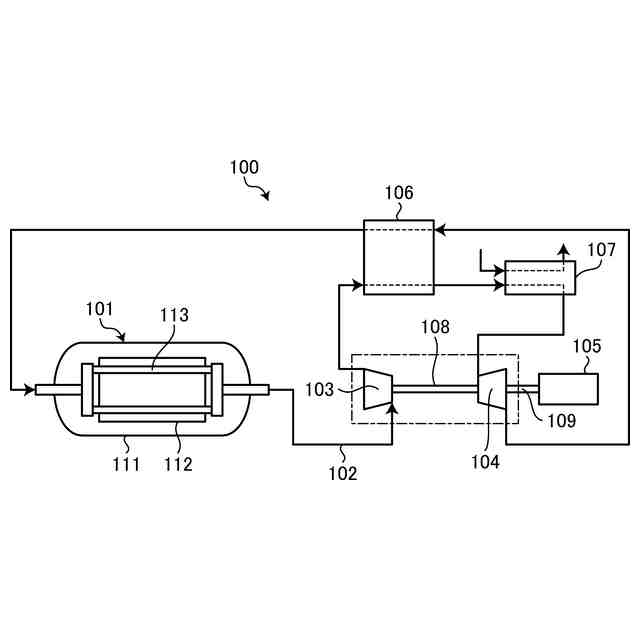
図1は、実施形態に係る原子炉を用いた原子力発電システムの模式図である。
図2は、実施形態に係る原子炉の縦断面図である。
図3は、実施形態に係る原子炉の平断面図である。
図4は、実施形態に係る原子炉の一部切取拡大図である。
図5は、実施形態に係る原子炉の一部切取拡大断面図である。
【発明を実施するための形態】
【0009】
以下に、本開示に係る実施形態を図面に基づいて詳細に説明する。なお、この実施形態によりこの発明が限定されるものではない。また、下記実施形態における構成要素には、当業者が置換可能かつ容易なもの、あるいは実質的に同一のものが含まれる。
【0010】
図1は、実施形態に係る原子炉を用いた原子力発電システムの模式図である。
(【0011】以降は省略されています)
この特許をJ-PlatPat(特許庁公式サイト)で参照する
関連特許
三菱重工業株式会社
原子炉
4日前
三菱重工業株式会社
ボイラ壁
23日前
三菱重工業株式会社
施工方法
10日前
三菱重工業株式会社
石膏脱水システム
10日前
三菱重工業株式会社
燃焼筒の取付方法
23日前
三菱重工業株式会社
ガスタービン起動方法
19日前
三菱重工業株式会社
蒸気タービンシステム
19日前
三菱重工業株式会社
原子炉炉心および原子炉
4日前
三菱重工業株式会社
ガス処理装置および方法
17日前
三菱重工業株式会社
シール装置及び回転機械
9日前
三菱重工業株式会社
アンモニア除害システム
10日前
三菱重工業株式会社
軸流圧縮機、及びその動翼
11日前
三菱重工業株式会社
計測システムおよび計測方法
17日前
三菱重工業株式会社
水素吸蔵材料および原子力設備
18日前
三菱重工業株式会社
レドックスフロー電池システム
23日前
三菱重工業株式会社
支持部材及び接着剤の監視方法
10日前
三菱重工業株式会社
インバータ装置及びその保護方法
17日前
三菱重工業株式会社
インバータ基板及びインバータ装置
17日前
三菱重工業株式会社
電動ファンおよび電動垂直離着陸機
20日前
三菱重工業株式会社
燃料製造システム、及び燃料製造方法
12日前
三菱重工業株式会社
RPB装置及び酸性ガス回収システム
17日前
三菱重工業株式会社
圧縮機の静翼セグメント、及び圧縮機
10日前
三菱重工業株式会社
補修方法、プログラム、及び補修装置
11日前
三菱重工業株式会社
合流支援システム、および合流支援方法
12日前
三菱重工業株式会社
超音波探傷装置、および超音波探傷方法
9日前
三菱重工業株式会社
ガスタービン発電プラント、及びその運転方法
23日前
三菱重工業株式会社
静翼セグメント、及びこれを備える蒸気タービン
2日前
三菱重工業株式会社
水電解システム、及び水電解システムの運転方法
17日前
三菱重工業株式会社
触媒及びその製造方法、並びに炭化水素の製造方法
18日前
三菱重工業株式会社
制御装置、制御方法、監視システム及びプログラム
18日前
三菱重工業株式会社
二酸化炭素回収システム及び二酸化炭素回収システムの運転方法
11日前
三菱重工業株式会社
制御装置、ガスタービンの燃料供給設備、制御方法及びプログラム
20日前
三菱重工業株式会社
多ビーム位相差計測装置及びこれを備えたレーザビーム制御システム
17日前
三菱重工業株式会社
流路形成板、分割環、静翼、ガスタービン、及び流路形成板の製造方法
24日前
三菱重工業株式会社
フォールトツリー作成方法、フォールトツリー作成装置およびプログラム
23日前
三菱重工業株式会社
レーザ照射装置、レーザ照射システム、レーザ照射方法、およびプログラム
9日前
続きを見る
他の特許を見る