TOP
|
特許
|
意匠
|
商標
特許ウォッチ
Twitter
他の特許を見る
10個以上の画像は省略されています。
公開番号
2025165591
公報種別
公開特許公報(A)
公開日
2025-11-05
出願番号
2024069732
出願日
2024-04-23
発明の名称
補修方法、プログラム、及び補修装置
出願人
三菱重工業株式会社
代理人
個人
,
個人
,
個人
,
個人
,
個人
主分類
B23K
31/00 20060101AFI20251028BHJP(工作機械;他に分類されない金属加工)
要約
【課題】補修対象を高精度に補修することができる補修方法、プログラム、及び補修装置を提供する。
【解決手段】補修方法は、補修対象の亀裂を含む亀裂含有領域を除去することで、補修対象に補修溝を形成するステップと、補修溝に粉体材料を供給し、補修溝内の粉体材料を溶融させて造形層を積層造形するステップと、造形層が所定の積層ピッチだけ形成される度に、造形層に対して造形層に衝撃を与えて造形層に残留圧縮応力を付与するピーニング処理を行うステップと、を含む。
【選択図】図5
特許請求の範囲
【請求項1】
補修対象の亀裂を含む亀裂含有領域を除去することで、前記補修対象に補修溝を形成するステップと、
前記補修溝に粉体材料を供給し、前記補修溝内の前記粉体材料を溶融させて造形層を積層造形するステップと、
前記造形層が所定の積層ピッチだけ形成される度に、前記造形層に対して前記造形層に衝撃を与えて前記造形層に残留圧縮応力を付与するピーニング処理を行うステップと、
を含む補修方法。
続きを表示(約 940 文字)
【請求項2】
前記積層ピッチを、前記造形層の形成時に既に形成された前記造形層が溶融する溶融深さよりも大きく、かつ前記ピーニング処理による残留圧縮応力の浸透深さよりも小さく設定するステップをさらに含む請求項1に記載の補修方法。
【請求項3】
前記補修溝は、曲面状に形成される、
請求項1又は2に記載の補修方法。
【請求項4】
前記ピーニング処理では、超音波ピーニングによって前記造形層に衝撃を与える、請求項1又は2に記載の補修方法。
【請求項5】
前記ピーニング処理では、ショットピーニングによって前記造形層に衝撃を与える、請求項1又は2に記載の補修方法。
【請求項6】
前記ピーニング処理では、レーザピーニングによって前記造形層に衝撃を与える、請求項1又は2に記載の補修方法。
【請求項7】
コンピュータに、
補修対象の亀裂を含む亀裂含有領域を除去することで、前記補修対象に補修溝を形成するステップと、
前記補修溝に粉体材料を供給し、前記補修溝内の前記粉体材料を溶融させて造形層を積層造形するステップと、
前記造形層が所定の積層ピッチだけ形成される度に、前記造形層に対して前記造形層に衝撃を与えて前記造形層に残留圧縮応力を付与するピーニング処理を行うステップと、
を実行させるプログラム。
【請求項8】
補修対象の亀裂を含む亀裂含有領域を除去することで、前記補修対象に補修溝を形成する溝形成装置と、
前記補修溝に粉体材料を供給し、前記補修溝内の前記粉体材料を溶融させて造形層を積層造形する積層造形装置と、
前記造形層が所定の積層ピッチだけ形成される度に、前記造形層に対して前記造形層に衝撃を与えて前記造形層に残留圧縮応力を付与するピーニング処理を行うピーニング装置と、
を備える補修装置。
【請求項9】
前記補修対象の情報を取得するセンサ装置と、
前記センサ装置が取得した情報に基づいて、前記積層造形装置及び前記ピーニング装置を制御する制御部をさらに備える、
請求項8に記載の補修装置。
発明の詳細な説明
【技術分野】
【0001】
本開示は、補修方法、プログラム、及び補修装置に関する。
続きを表示(約 1,600 文字)
【背景技術】
【0002】
ガスタービンや、航空エンジン等のタービン翼は、例えばニッケル基超合金材等の高強度材料で形成されている。しかしながら、これらの材料の溶接性は、極めて低い。このため、タービン翼の溶接補修時に、タービン翼に高温割れが生じ得る。
【0003】
特許文献1には、ガスタービンのタービン翼を補修する補修方法が開示されている。この補修方法は、切り欠き部形成工程と、第1の溶接工程と、第2の溶接工程と、を含む。切り欠き部形成工程は、亀裂を除去して切り欠き部を形成する。第1の溶接工程は、第1の溶接材を用いた肉盛溶接により、切り欠き部を第1の溶接材で埋め込む。第2の溶接工程は、第1の溶接工程後に、第2の溶接材を用いた肉盛溶接により、切り欠き部を第2の溶接材で埋め込む。第2の溶接材の高温強度は、第1の溶接材の高温強度よりも高い。また、第1の溶接材の溶接性は、第2の溶接材の溶接性よりも高い。このため、特許文献1の補修方法は、第1の溶接材の肉盛部により溶接作業後の残留応力による亀裂を吸収しつつ、第2の溶接材の肉盛部よりタービン翼の強度を確保することができる。
【先行技術文献】
【特許文献】
【0004】
特許第6734462号公報
【発明の概要】
【発明が解決しようとする課題】
【0005】
しかしながら、特許文献1の補修方法では、第一の溶接材の肉盛部の強度が低い。また第一の溶接材及び第二の溶接材は、タービン翼本体とは異なる材料であるため、補修前と比較して強度が低下する場合がある。また、TIG(Tungsten Inert Gas)溶接等の入熱の大きい熱処理を行うため、タービン翼を精度良く補修できない場合があった。よって、補修精度の向上という点で改善の余地があった。
【0006】
本開示は、上記課題を解決するためになされたものであって、補修対象を高精度に補修することができる補修方法、プログラム、及び補修装置を提供することを目的とする。
【課題を解決するための手段】
【0007】
上記課題を解決するために、本開示に係る補修方法は、補修対象の亀裂を含む亀裂含有領域を除去することで、前記補修対象に補修溝を形成するステップと、前記補修溝に粉体材料を供給し、前記補修溝内の前記粉体材料を溶融させて造形層を積層造形するステップと、前記造形層が所定の積層ピッチだけ形成される度に、前記造形層に対して前記造形層に衝撃を与えて前記造形層に残留圧縮応力を付与するピーニング処理を行うステップと、を含む。
【0008】
本開示に係るプログラムは、コンピュータに、補修対象の亀裂を含む亀裂含有領域を除去することで、前記補修対象に補修溝を形成するステップと、前記補修溝に粉体材料を供給し、前記補修溝内の前記粉体材料を溶融させて造形層を積層造形するステップと、前記造形層が所定の積層ピッチだけ形成される度に、前記造形層に対して前記造形層に衝撃を与えて前記造形層に残留圧縮応力を付与するピーニング処理を行うステップと、を実行させる。
【0009】
本開示に係る補修装置は、補修対象の亀裂を含む亀裂含有領域を除去することで、前記補修対象に補修溝を形成する溝形成装置と、前記補修溝に粉体材料を供給し、前記補修溝内の前記粉体材料を溶融させて造形層を積層造形する積層造形装置と、前記造形層が所定の積層ピッチだけ形成される度に、前記造形層に対して前記造形層に衝撃を与えて前記造形層に残留圧縮応力を付与するピーニング処理を行うピーニング装置と、を備える。
【発明の効果】
【0010】
本開示の補修方法、プログラム、及び補修装置によれば、補修対象を高精度に補修することができる。
【図面の簡単な説明】
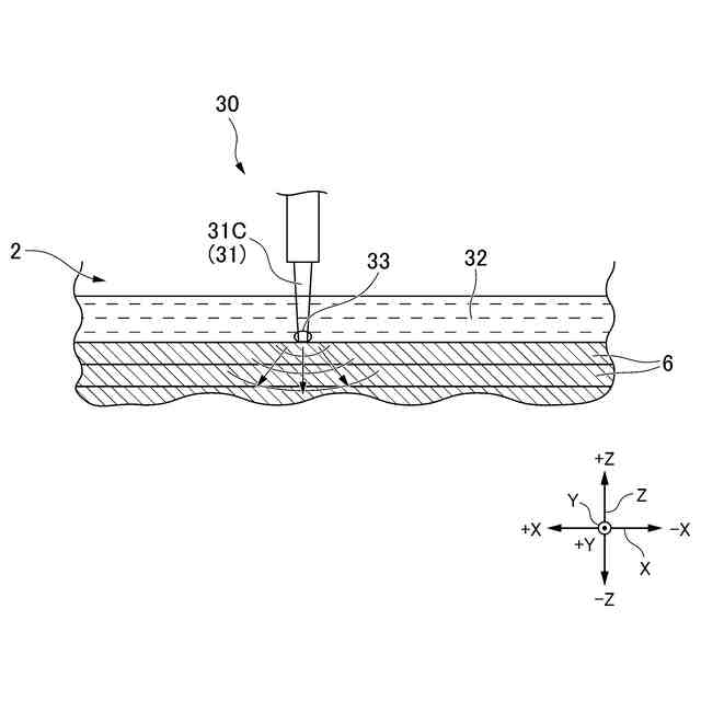
(【0011】以降は省略されています)
この特許をJ-PlatPat(特許庁公式サイト)で参照する
関連特許
三菱重工業株式会社
原子炉
18日前
三菱重工業株式会社
ボイラ壁
1か月前
三菱重工業株式会社
施工方法
24日前
三菱重工業株式会社
加熱装置
1か月前
三菱重工業株式会社
動力装置
1か月前
三菱重工業株式会社
遠心圧縮機
2日前
三菱重工業株式会社
皮膜形成装置
1か月前
三菱重工業株式会社
原子力システム
3日前
三菱重工業株式会社
燃焼筒の取付方法
1か月前
三菱重工業株式会社
石膏脱水システム
24日前
三菱重工業株式会社
ガスタービン起動方法
1か月前
三菱重工業株式会社
ガスタービン制御方法
1か月前
三菱重工業株式会社
蒸気タービンシステム
1か月前
三菱重工業株式会社
燃焼設備および制御方法
1か月前
三菱重工業株式会社
原子炉炉心および原子炉
18日前
三菱重工業株式会社
評価装置および評価方法
3日前
三菱重工業株式会社
ガス処理装置および方法
1か月前
三菱重工業株式会社
炭化炉及びその制御方法
1か月前
三菱重工業株式会社
アンモニア除害システム
24日前
三菱重工業株式会社
シール装置及び回転機械
23日前
三菱重工業株式会社
軸流圧縮機、及びその動翼
25日前
三菱重工業株式会社
計測システムおよび計測方法
1か月前
三菱重工業株式会社
水素吸蔵材料および原子力設備
1か月前
三菱重工業株式会社
支持部材及び接着剤の監視方法
24日前
三菱重工業株式会社
バーナ及びこれを備えたボイラ
1か月前
三菱重工業株式会社
バーナ及びこれを備えたボイラ
1か月前
三菱重工業株式会社
レドックスフロー電池システム
1か月前
三菱重工業株式会社
インバータ装置及びその保護方法
1か月前
三菱重工業株式会社
水位制御方法および水位制御装置
3日前
三菱重工業株式会社
インバータ基板及びインバータ装置
1か月前
三菱重工業株式会社
電動ファンおよび電動垂直離着陸機
1か月前
三菱重工業株式会社
排ガス処理触媒及び排ガス処理方法
2日前
三菱重工業株式会社
水素製造システム及び水素製造方法
1か月前
三菱重工業株式会社
燃料噴射装置および往復動内燃機関
1か月前
三菱重工業株式会社
演算方法、プログラム及び演算装置
1か月前
三菱重工業株式会社
RPB装置及び酸性ガス回収システム
1か月前
続きを見る
他の特許を見る